Запчасти Case 800 (138) - STANDARD ROCK GUARDS (04) - UNDERCARRIAGE

Схема запчастей Case 800 - (138) - STANDARD ROCK GUARDS (04) - UNDERCARRIAGE
FIT
1:1
100%

Артикул

Название

Примечание

Количество

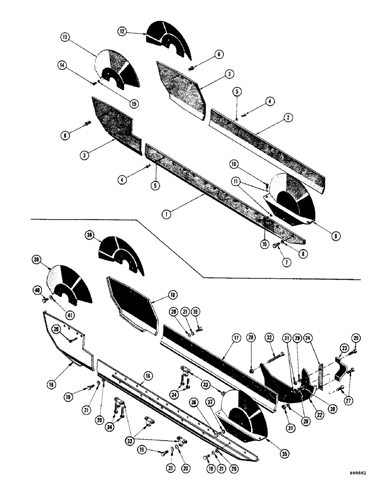
6271

CLIP

GUARD INSTALLATION - rock (Optional equipment)

1шт.

1

70649

GUARD - outer rock, R.H.

1шт.

70650

GUARD - outer rock, L.H.

1шт.

2

70651

GUARD - inner rock, R.H.

1шт.

70652

GUARD - inner rock, L.H.

1шт.

3

70647

GUARD - rock, R.H. (Order with print of R4443)

1шт.

70648

GUARD - rock, L.H. (Order with print of R4443)

1шт.

4

7701063

SCREW,Hex, 1/2" - 20 x 1 1/4", Gr 5

HHCS - 1/2 - 20 NF x 1-1/4 (70649, 70650, 70651, & 70652 mt'g.)

40шт.

5

80679

LOCK WASHER,1/20.507 CST ZND

WASHER, LOCK, 1/2"

40шт.

6

414-1236

BOLT,Hex, 3/4" - 16 x 2-1/4", Gr 5

HHCS - 3/4 - 16 NF x 2-1/4 (70647 & 70648 mt'g.)

16шт.

7

414-824

BOLT,Hex, 1/2" - 20 x 1-1/2", Gr 5

HHCS - 1/2 - 20 NF x 1-1/2 (70649 & 70650 mt'g.)

4шт.

8

80679

LOCK WASHER,1/20.507 CST ZND

WASHER, LOCK, 1/2"

4шт.

9

70641

GUARD ASS'Y - sprocket

2шт.

10

414-824

BOLT,Hex, 1/2" - 20 x 1-1/2", Gr 5

HHCS - 1/2 - 20 NF x 1-1/2 (70641 mt'g.)

10шт.

11

80679

LOCK WASHER,1/20.507 CST ZND

WASHER, LOCK, 1/2"

10шт.

6333

HYDRAULIC CYLINDER

GUARD INSTALLATION - idler (Optional equipment)

1шт.

12

70642

GUARD - front idler, R.H.

2шт.

13

70643

KNOB

GUARD - front idler, L.H.

2шт.

14

354393X1

SCREW

HHCS - 1/2 - 20 NF x 1 (70642 & 70643 mt'g.)

16шт.

15

80679

LOCK WASHER,1/20.507 CST ZND

WASHER, LOCK, 1/2"

16шт.

R2370

GUARD INSTALLATION - rock (Optional equipment), heavy duty

1шт.

16

74991

GUARD - outer rock, R.H., heavy duty

1шт.

74992

GUARD - outer rock, L.H., heavy duty

1шт.

17

74983

GUARD - inner rock, R.H., heavy duty

1шт.

74984

SPROCKET

GUARD - inner rock, L.H., heavy duty

1шт.

18

74975

FLEXIBLE SHEATH

GUARD - rock, R.H. (Order with prints R14443 & R20697), heavy duty

2шт.

74976

ROPE

GUARD - rock, L.H. (Order with prints R14443 & R20697), heavy duty

2шт.

19

7701063

SCREW,Hex, 1/2" - 20 x 1 1/4", Gr 5

HHCS - 1/2 - 20 NF x 1-1/4 (74991, 74992, 74983, & 74984 mt'g.), heavy duty rock guard

64шт.

20

395-11053

WASHER,0.53" ID x 1.06" OD x 0.1" Thk

- plain, heavy duty rock guard

64шт.

21

80679

LOCK WASHER,1/20.507 CST ZND

WASHER, LOCK, , Heavy duty rock guard 1/2"

64шт.

22

R11227

GUARD - inner sprocket, R.H., heavy duty guard

1шт.

R11226

GUARD - inner sprocket, L.H., heavy duty guard

1шт.

23

R13103

DEFLECTOR - inner rock guard, R.H., heavy duty

1шт.

R13102

DEFLECTOR - inner rock guard, L.H., heavy duty

1шт.

24

74964

ANGLE - rock guard mounting, heavy duty

2шт.

25

414-1036

BOLT,Hex, 5/8" - 18 x 2-1/4", Gr 5

HHCS - 5/8 - 18 NF x 2-1/4 (R13102 & R13103 mt'g.), heavy duty rock guard

2шт.

26

114-713

BOLT,Hex, 3/4" - 16 x 2", Gr 5, Full Thd

Hex, 3/4"-16 x 2", G5, Full Thd (74975 & 74976 mt'g.), heavy duty rock guard

16шт.

27

414-1032

BOLT,Hex, 5/8" - 18 x 2", Gr 5

HHCS - 5/8 - 18 NF x 2 (R11226 & R11227 mt'g.), heavy duty rock guard

4шт.

28

7774870

HARDWARE

NUT - lock, (3/4 - 16 NF), heavy duty rock guard

2шт.

29

92-11062

LOCK WASHER,5/8"

WASHER, LOCK, , Heavy duty rock guard 5/8"

6шт.

30

495-11066

WASHER,5/8", SAE

- plain, heavy duty rock guard

8шт.

31

425-1110

NUT,5/8"-18, G5

- reg. SF hex. (5/8 - 18 NF), Heavy duty rock guard

6шт.

32

R10896

BOLT - main frame, 3/4 - 16 NF x 7-3/8, heavy duty rock guard

2шт.

R10897

BOLT - main frame, 3/4 - 16 NF x 5, heavy duty rock guard

2шт.

33

74973

BLOCK - rock guard mounting, heavy duty

20шт.

34

47649

SPRING

BOLT - place (Self locking), heavy duty rock guard

40шт.

35

70641

GUARD ASS'Y - sprocket, heavy duty rock guard

2шт.

36

414-824

BOLT,Hex, 1/2" - 20 x 1-1/2", Gr 5

HHCS - 1/2 - 20 NF x 1-1/2 (70641 mt'g.), heavy duty rock guard

10шт.

37

80679

LOCK WASHER,1/20.507 CST ZND

WASHER, LOCK, , Heavy duty rock guard 1/2"

10шт.

6333

HYDRAULIC CYLINDER

GUARD INSTALLATION - idler (Optional equipment), heavy duty rock

1шт.

38

70642

GUARD - front idler, R.H., heavy duty rock

2шт.

39

70643

KNOB

GUARD - front idler, L.H., heavy duty rock

2шт.

40

354393X1

SCREW

HHCS - 1/2 - 20 NF x 1 (70642 & 70643 mt'g.), heavy duty rock guard

16шт.

41

80679

LOCK WASHER,1/20.507 CST ZND

WASHER, LOCK, , Heavy duty rock guard 1/2"

16шт.

Выбрано товаров: 54