Запчасти Case 850 (H13-1) - DOZER CONTROL VALVES (07) - HYDRAULIC SYSTEM

Схема запчастей Case 850 - (H13-1) - DOZER CONTROL VALVES (07) - HYDRAULIC SYSTEM
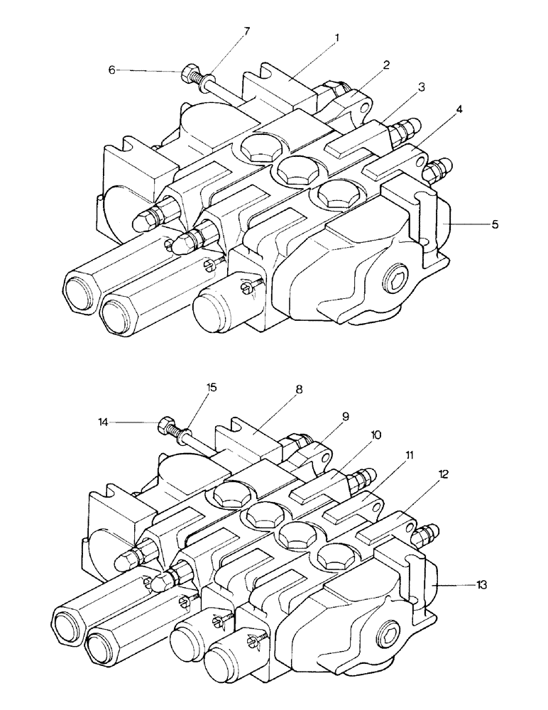
10
14
7
8
15
2
5
1
9
3
4
11
13
6
12
FIT
1:1
100%

Артикул

Название

Примечание

Количество

R33072

VALVE

- Dozer control, 3 spool

1шт.

1

D41796

VALVE

INLET SECTION - see Figure H14-1

1шт.

2

D66213

KNIFE SECTION

LIFT SECTION - see Figure H15-1

1шт.

3

D66212

VALVE

TILT SECTION - see Figure H16-1

1шт.

4

D66212

VALVE

ANGLE PITCH SECTION - see Figure H16-1

1шт.

5

D38360

VALVE

OUTLET SECTION - see Figure H14-1

1шт.

6

R20429

STUD

ASSEMBLY - valve

4шт.

7

195-33

WASHER,1/2"

- 1/2 in

4шт.

R30686

VALVE - Dozer control, 4 spool

1шт.

8

D41796

VALVE

INLET SECTION - see Figure H14-1

1шт.

9

D66213

KNIFE SECTION

LIFT SECTION - see Figure H15-1

1шт.

10

D66212

VALVE

TILT SECTION - see Figure H16-1

1шт.

11

D66212

VALVE

ANGLE PITCH SECTION - see Figure H16-1

1шт.

12

D66221

X

RIPPER SECTION - see Figure H17-1

1шт.

13

D38360

VALVE

OUTLET SECTION - see Figure H14-1

1шт.

14

D36476

STUD

ASSEMBLY - valve

4шт.

15

195-33

WASHER,1/2"

- 1/2 in

4шт.

Выбрано товаров: 0