Качественные детали и логистика
Оригинальные и аналоговые запчасти с доставкой по России, Казахстану и Беларуси
©2022 PartSell ООО "Система" ИНН 2463123282 ОГРН 1212400004838
Центральный офис: г. Красноярск, Академика Киренского, д.87, пом.4
Телефон: 8 (800) 777-65-74 Email: zakaz@partsell.ru
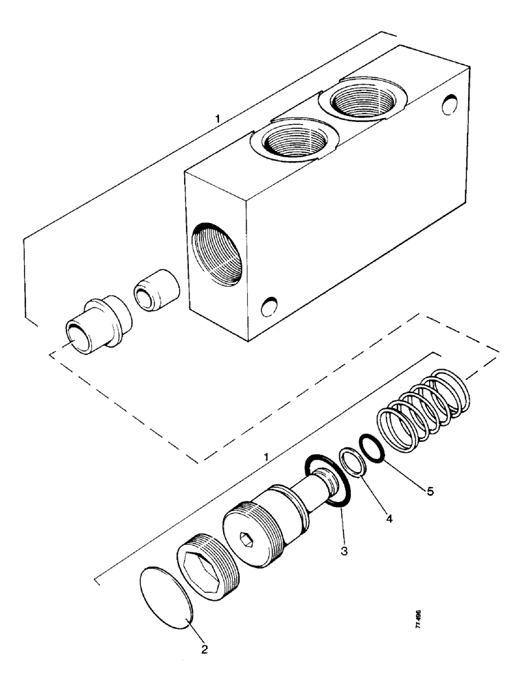
(J17-1) - ANTI-ROLLBACK RELIEF VALVE
№
Артикул
Название
Примечание
Количество
1
D46850
VALVE
ASSEMBLY - relief, Parker No. VPRD5X-1-A310
1шт.
2
41-20
PLUG,Exp, 1 1/4"
- welch, 1.1/4 in
3
A30843
O-RING,0.103" Thk x 0.799" ID, -117, Cl 5, 75 Duro
'O'RING - large
4
L31330
BACK-UP RING,109mm ID x 128.81mm OD x 12mm Thk
- 'O' ring back up
5
A30825
O-RING,0.364" ID x 0.504" OD x 0.07"
'O'RING - small
Выбрано товаров: 0