Запчасти Case 850 (A08-1) - OIL PUMP (01) - ENGINE

Схема запчастей Case 850 - (A08-1) - OIL PUMP (01) - ENGINE
22
12
18
2
21
17
6
13
15
20
11
1
5
16
9
8
10
7
19
1
4
14
3
FIT
1:1
100%

Артикул

Название

Примечание

Количество

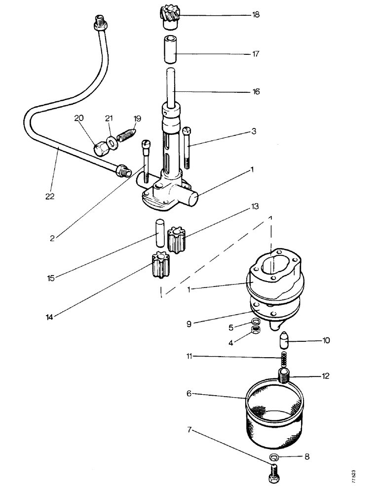
K953894

PUMP, ENGINE OIL

OIL PUMP ASSEMBLY - complete

1шт.

1

K963414

SUPPORT

BRACKET AND GEAR HOUSING - with spindle and bush

1шт.

2

K928682

BOLT

- 1/4 UNC x 2.5/16 in, special

2шт.

3

K600013

BOLT

- 1/4 UNC x 2.3/8 in

2шт.

4

25-104

NUT,1/4"-20, G5

4шт.

5

92-4

LOCK WASHER,1/4"

WASHER, LOCK, 1/4"

4шт.

6

K12013

FILTER

SCREEN

1шт.

7

13-48

BOLT,Hex, 1/4" - 20 x 1/2", Gr 5

SETSCREW - 1/4 UNC x 1/2 in

1шт.

8

92-4

LOCK WASHER,1/4"

WASHER, LOCK, 1/4"

1шт.

K953815

VALVE

RELIEF VALVE ASSEMBLY

1шт.

9

K953009

COVER

- pump body

1шт.

10

K953008

PLUNGER

1шт.

11

K12961

SPRING

1шт.

12

K953010

SCREW,3/8" x 9/16"

- adjusting

1шт.

13

K928681

ROTOR

DRIVING ROTOR

1шт.

14

K928680

ROTOR

DRIVEN ROTOR

1шт.

126-11

WOODRUFF KEY,#5, 1/8" x 5/8"

(No. 405) #5, 1/8" x 5/8"

2шт.

15

K928679

SPINDLE

- driven rotor

1шт.

16

K928678

SPINDLE

DRIVING SPINDLE

1шт.

17

K30016

BUSHING

BUSH

1шт.

18

K902051

GEAR

SPIRAL PINION

1шт.

19

K928254

SCREW,7/16" - 14 x 1 5/16"

LOCATING SCREW - 7/16 UNC x 1.5/16 in

1шт.

20

K607516

NUT

CAPPED NUT - 7/16 UNC

1шт.

21

K14674

WASHER

COPPER WASHER

1шт.

22

K915750

PIPE

OIL PIPE - pump to cylinder block

1шт.

Выбрано товаров: 25