Запчасти Case 850 (A13-1) - TURBOCHARGER (01) - ENGINE

Схема запчастей Case 850 - (A13-1) - TURBOCHARGER (01) - ENGINE
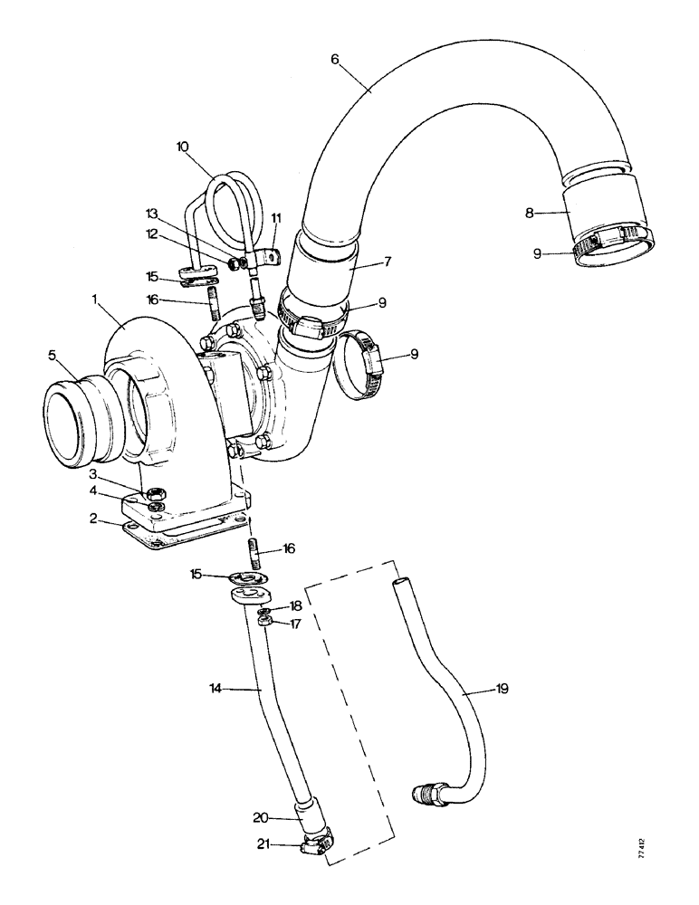
12
18
7
5
9
9
16
14
16
13
15
15
11
3
6
17
10
20
8
9
1
2
21
4
19
FIT
1:1
100%

Артикул

Название

Примечание

Количество

1

K953352

TURBOCHARGER

1шт.

2

K929727

GASKET,0.38mm Thk

1шт.

3

129-103

NUT,Hex, 3/8" - 16, Gr 5

NUT, 3/8"-16, G5

4шт.

4

92-6

LOCK WASHER,3/8"

4шт.

5

K929731

TUBE,2.375" ID x 2.875" OD

CONNECTOR

1шт.

6

K953118

PIPE

- to inlet manifold

1шт.

7

K626802

HOSE

- 2 in, Serial Range: turbocharger-pipe

1шт.

8

K266803

HOSE

- 2.5/16 in, pipe to inlet manifold

1шт.

9

K11806

HOSE

CLIP - hose

4шт.

10

K953112

PIPE

OIL FEED PIPE -, Serial Range: block-turbocharger

1шт.

11

K621700

CLIP

- oil feed pipe

1шт.

12

25-106

NUT,3/8"-16, G5

- 3/8 UNC

1шт.

13

92-6

LOCK WASHER,3/8"

1шт.

14

K953115

OUTLET

PIPE - upper oil return

1шт.

15

K953354

SEAL

oil feed and return pipes

2шт.

16

K953355

STUD

- 8 mm x 5/16 UNC x 1.3/16 in oil feed and return pipes

4шт.

17

9635082

NUT,5/16" - 18, Gr 5

Oil feed and return pipes 5/16"-18, G5

4шт.

18

92-5

LOCK WASHER,5/16"

oil feed and return pipes 5/16"

4шт.

19

K946401

PIPE

- lower oil return

1шт.

20

K62813

HOSE

1шт.

21

K14679

HOSE

CLIP - hose

2шт.

Выбрано товаров: 21