Запчасти Case 850 (D01-1) - THROTTLE CONTROL LINKAGE (03) - TRANSMISSION

Схема запчастей Case 850 - (D01-1) - THROTTLE CONTROL LINKAGE (03) - TRANSMISSION
8
36
3
13
9
7
41
29
28
38
18
28
8
27
27
21
26
5
34
22
27
15
35
7
23
19
24
16
25
8
14
33
12
2
32
11
20
23
39
7
10
31
30
6
1
15
17
40
4
8
11
7
37
FIT
1:1
100%

Артикул

Название

Примечание

Количество

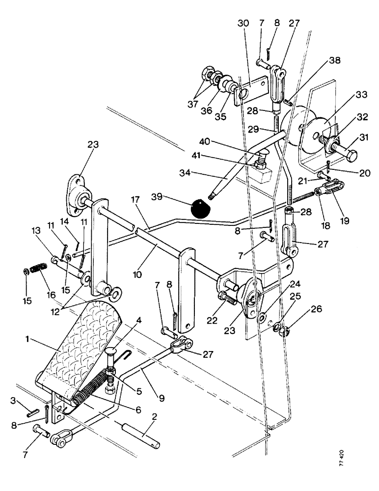
1

D47682

PEDAL

- throttle

1шт.

2

71044

LOCK

SHAFT - pedal

1шт.

3

138-77

LOCK PIN,5/32" x 1", Slotted

PIN, 5/32" x 1", Slotted

1шт.

4

11-836

BOLT

- 1/2 UNC x 2.1/4 in

1шт.

5

25-148

JAM NUT,Jam, 1/2"-13, G5

- jam, 1/2 UNC

1шт.

6

R29849

SPRING

- pedal return

1шт.

7

141-3

CLEVIS PIN,5/16" x .940"

PIN, CLEVIS, 5/16" x .940"

4шт.

8

132-24

COTTER PIN,3/32" x 1/2"

PIN, SPLIT (COTTER), 3/32" x 1/2"

4шт.

9

R24022

ROD

-, Serial Range: pedal-link

1шт.

10

D47680

LINK - throttle

1шт.

11

132-26

COTTER PIN

Pin, Split (Cotter), 3/32" x 3/4"

2шт.

12

195-33

WASHER,1/2"

- 1/2 in

2шт.

13

D47686

SHAFT

- override

1шт.

14

132-5

COTTER PIN,1/16" x 1/2"

Pin, Split (Cotter), 1/16" x 1/2"

2шт.

15

195-18

WASHER,1/4"

- 1/4 in

2шт.

16

F62245

SPRING

- override

1шт.

17

E81065

ROD

- throttle

1шт.

18

25-114

NUT,1/4"-28, G5

- 1/4 UNF

1шт.

19

213-2

ADJUSTABLE CLEVIS,1/4"-28 x 2"

YOKE - adjustable

1шт.

20

132-5

COTTER PIN,1/16" x 1/2"

Pin, Split (Cotter), 1/16" x 1/2"

1шт.

21

141-2

CLEVIS PIN,1/4" x .770"

PIN - clevis

1шт.

22

13-616

BOLT,Hex, 3/8" - 16 x 1", Gr 5, Full Thd

4шт.

23

D33219

FLANGE

BEARING - pivot shaft

2шт.

24

195-25

WASHER,3/8"

- 3/8 in

4шт.

25

92-6

LOCK WASHER,3/8"

4шт.

26

25-106

NUT,3/8"-16, G5

- 3/8 UNC

4шт.

27

213-3

ADJUSTABLE CLEVIS,5/16"-24

YOKE - adjustable

3шт.

28

25-115

NUT,5/16"-24, G5

2шт.

29

D47683

ROD

- throttle connecting

1шт.

30

D47684

LINK

- hand throttle

1шт.

31

13-844

BOLT,Hex, 1/2" - 13 x 2-3/4", Gr 5

Hex, 1/2"-13 x 2 3/4", G5

1шт.

32

R14771

WASHER

- BELLEVILLE

1шт.

33

R15071

DISC

- friction

1шт.

34

D50246

PLATE

LEVER - hand throttle control

1шт.

35

D35859

SPACER

- throttle

1шт.

36

95-8

WASHER,1/2"

1шт.

37

25-108

NUT,1/2"-13, G5

- 1/2 UNC

2шт.

38

138-132

LOCK PIN,1/4" x 7/8", Slotted

PIN, 1/4" x 7/8", Slotted

1шт.

39

D49996

KNOB

- hand throttle control

1шт.

40

111-354

BOLT

- 3/8 UNF x 1.1/4 in, zinc plated

1шт.

41

129-123

NUT,3/8"-24, G5

1шт.

Выбрано товаров: 41