Запчасти Case 850 (E01-1) - HYDRAULIC BRAKES (03) - TRANSMISSION

Схема запчастей Case 850 - (E01-1) - HYDRAULIC BRAKES (03) - TRANSMISSION
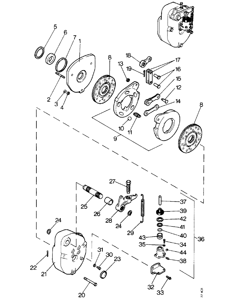
43
41
36
3
42
11
40
12
27
17
37
34
31
4
9
16
39
8
20
35
28
33
24
8
24
10
18
26
14
23
38
25
1
32
19
21
44
13
7
15
22
6
2
30
5
29
FIT
1:1
100%

Артикул

Название

Примечание

Количество

1

A50184

FLANGE

PLATE - mounting, left hand and right hand brake

2шт.

2

A50241

STUD

- 1/2 UNC x 2.1/8 in

8шт.

3

92-8

LOCK WASHER,1/2"

8шт.

4

25-108

NUT,1/2"-13, G5

- 1/2 UNC

8шт.

5

A50061

SHIM,0.076mm Thk

(.003"), Pinion shaft bearing 0.076mm Thk

1шт.

A50062

SHIM,0.127mm Thk

(.005"), Pinion shaft bearing 0.127mm Thk

1шт.

A50063

SHIM,0.254mm Thk

(.010"), Pinion shaft bearing 0.254mm Thk

1шт.

6

A50418

OIL SEAL

- pinion shaft

2шт.

7

A50055

SEALING RING

RING - brake plate

2шт.

8

A50829

DISC

- double, brake bonded

4шт.

9

R18531

DISC

ACTUATOR ASSEMBLY - brake

2шт.

10

211-19

BALL,7/8" Dia

- actuator plate, 7/8 in diameter

5шт.

11

A30897

SPRING

- actuator extension

3шт.

12

A30898

STEP BOLT

STUD - brake link

2шт.

13

25-155

JAM NUT,Jam, 5/16"-24, G5

- 5/16 UNF

2шт.

14

R18533

LINK

- single rib, actuator

1шт.

15

F77868

LINK

- yoke, actuating link

1шт.

16

R15370

PIN

- link, brake pull

4шт.

17

R15369

LINK

- brake pull

4шт.

18

R15372

LEVER

- brake link

2шт.

19

132-26

COTTER PIN

Pin, Split (Cotter), 3/32" x 3/4"

4шт.

20

13-856

BOLT,Hex, 1/2" - 13 x 3-1/2", Gr 5

6шт.

21

A50206

COVER

- brake, right hand

1шт.

A50207

COVER

- brake, left hand

1шт.

22

R14605

PIN

- cleaner, brake housing drain hole

4шт.

23

41-1628

PLUG,Cup, 1 3/4", Stainless

- brake cover

2шт.

24

B18208

SNAP RING,#100, Ext

4шт.

25

A50514

SHAFT

- brake actuating

2шт.

26

A50392

BUSHING

SPACER - brake shaft

2шт.

27

A50395

ADJUSTMENT SCREW,Locking, 3/4" - 16 x 2.75"

BOLT - 3/4 UNF x 2.3/4 in, nylon insert

2шт.

28

A50393

LEVER

- brake actuating

2шт.

29

A50589

SPRING

- return, brake lever

2шт.

30

13-636

BOLT,Hex, 3/8" - 16 x 2-1/4", Gr 5

Spring anchor Hex, 3/8"-16 x 2 1/4", G5

2шт.

31

25-106

NUT,3/8"-16, G5

- 3/8 UNC

2шт.

32

A50119

BRACKET

- brass cylinder mounting

2шт.

33

166-45

12 PT SCREW,Flg, 3/8" - 16 x 1", Gr 8

BOLT - 3/8 UNC x 2 in

8шт.

34

13-412

BOLT,Hex, 1/4" - 20 x 3/4", Gr 5, Full Thd

4шт.

35

92-4

LOCK WASHER,1/4"

WASHER, LOCK, 1/4"

4шт.

36

A50557

CYLINDER

ASSEMBLY - hydraulic brakes

2шт.

37

A41489

ROD

- push, brake cylinder

1шт.

38

A41491

BLEEDER,1/4" - 28 x 23.37mm

- bleed, cylinder

1шт.

A42875

SEAL

KIT - brake cylinder repair

1шт.

39

A41490

BOOT

- cylinder rod

1шт.

40

'O'RING - piston, part of A42875

1шт.

41

RING - piston, teflon part of A42875

1шт.

42

A30975

SNAP RING,1.188", Int, #118

1шт.

43

A42874

PISTON

- cylinder

1шт.

44

222-1062

PLUG,7/16"-24, Inv Fl

- connector, 1/4 in tube x 7/16 UNC

2шт.

Выбрано товаров: 48