Запчасти Case 850 (E03-1) - PARKING BRAKE (03) - TRANSMISSION

Схема запчастей Case 850 - (E03-1) - PARKING BRAKE (03) - TRANSMISSION
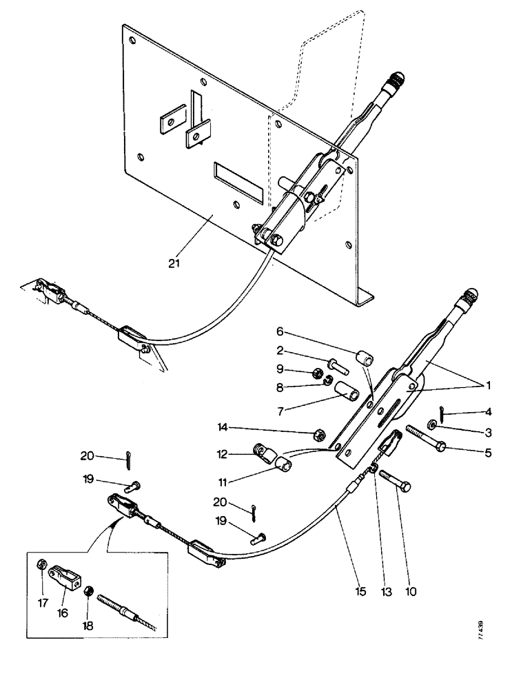
13
20
18
2
11
1
6
8
7
17
4
5
12
9
19
3
21
14
16
19
10
15
20
FIT
1:1
100%

Артикул

Название

Примечание

Количество

1

D40687

LEVER

BRAKE LEVER - parking

1шт.

2

D42458

PIN

- clevis

1шт.

3

95-5

WASHER,3/8" x 7/8" x .083"

- 5/16 in

1шт.

4

132-26

COTTER PIN

Pin, Split (Cotter), 3/32" x 3/4"

1шт.

5

13-552

BOLT,Hex, 5/16" - 18 x 3-1/4", Gr 5

- 5/16 UNC x 3.1/4 in

1шт.

6

D40685

SPACER

- brake lever

1шт.

7

F18607

SPACER

- lever to control tower

1шт.

8

92-5

LOCK WASHER,5/16"

1шт.

9

9635082

NUT,5/16" - 18, Gr 5

1шт.

10

13-528

BOLT,Hex, 5/16" - 18 x 1-3/4", Gr 5

- 5/16 UNC x 1.3/4 in

1шт.

11

D30863

TUBE

SPACER - guide

1шт.

12

D40684

CLAMP,12.7mm ID, 8.78mm Bolt Hole, P Type

GUIDE - brake cable

1шт.

13

92-5

LOCK WASHER,5/16"

1шт.

14

9635082

NUT,5/16" - 18, Gr 5

1шт.

15

D41531

CABLE

ASSEMBLY - brake

1шт.

16

D43802

CLEVIS

- cable

1шт.

17

129-122

NUT,5/16"-24, G5

1шт.

18

86637933

JAM NUT,5/16" - 24, Gr 5

1шт.

19

141-3

CLEVIS PIN,5/16" x .940"

PIN, CLEVIS, 5/16" x .940"

2шт.

20

132-26

COTTER PIN

Pin, Split (Cotter), 3/32" x 3/4"

2шт.

21

D52290

PLATE - heel

1шт.

Выбрано товаров: 21