Запчасти Case 850 (E04-1) - DECLUTCH LOCKOUT (03) - TRANSMISSION

Схема запчастей Case 850 - (E04-1) - DECLUTCH LOCKOUT (03) - TRANSMISSION
35
27
19
25
20
17
7
19
7
29
8
9
21
34
8
12
15
11
4
1
2
14
11
13
33
30
13
5
14
6
10
18
10
3
24
28
31
12
32
23
26
9
22
16
FIT
1:1
100%

Артикул

Название

Примечание

Количество

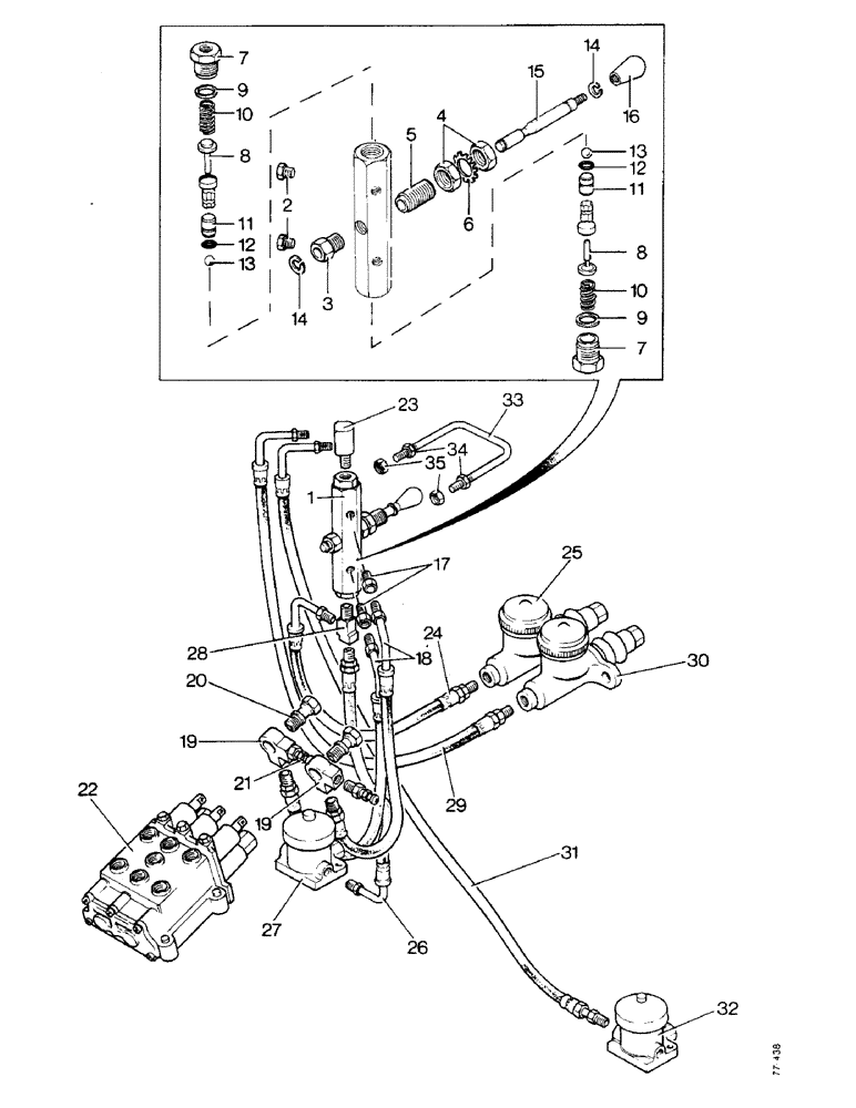
1

D49105

VALVE

- clutch lockout

1шт.

2

221-1849

PLUG

2шт.

3

D50018

PLUG

- push rod guide

1шт.

4

129-167

JAM NUT,Jam, 5/8"-18, G5

- 5/8 UNC zinc plated

2шт.

5

D50017

ADAPTER

ADAPTOR - push rod

1шт.

6

193-14

LOCK WASHER,Ext Tooth, 5/8"

WASHER, LOCK, Ext Tooth, 5/8"

1шт.

7

A16672

PLUG

- end

2шт.

8

D46267

STEM

- valve

2шт.

R29966

KIT

- repair, valve

1шт.

9

D46277

GASKET

- end plug

2шт.

10

A16674

SPRING

- valve

2шт.

11

D50014

PISTON ASSY.

PISTON ASSEMBLY - valve

2шт.

12

A16679

O-RING

'O'RING

1шт.

13

211-100

BALL,3/8" Dia, Stainless

- valve

2шт.

14

D50016

RING, SNAP

RING - retaining

2шт.

15

D50013

PUSH ROD

ROD ASSEMBLY - push

1шт.

16

D50015

KNOB

- push rod

1шт.

17

222-1011

HYD CONNECTOR,3/8"-24 Inv Fl x 1/8" NPT

CONNECTOR - straight, male

2шт.

18

D45396

HOSE,3.17mm ID x 419.1mm L

- brakes, transmission valve 16.1/2 in

2шт.

19

D49251

FITTING

- special

2шт.

20

A12864

BOLT

- special

2шт.

21

D49104

PLUG

- bleed

2шт.

22

R20724

VALVE

- transmission, see Figure B12-1

1шт.

23

222-1070

TEE,3/8"-24 Inv Fl x 1/8" NPT Br

ELBOW - double

1шт.

24

A50326

HOSE

- to left hand master cylinder, 16.1/4 in

1шт.

25

D39824

CYLINDER

- master, left hand brake, see Figure E02-1

1шт.

26

D45396

HOSE,3.17mm ID x 419.1mm L

- to left hand slave cylinder, 16.1/2 in

1шт.

27

A50557

CYLINDER

- slave, left hand brake, see Figure E01-1

1шт.

28

222-1075

TEE,3/8"-24 Inv Fl x 1/8" NPT Br

- male

1шт.

29

D39836

HOSE,3.17mm ID x 609.6mm L

- to right hand master cylinder, 24 in

1шт.

30

D39824

CYLINDER

- master, right hand brake, see Figure E02-1

1шт.

31

D49252

HOSE

- to right hand slave cylinder, 30 in

1шт.

32

A50557

CYLINDER

- slave, right hand brake, see Figure E01-1

1шт.

33

D49115

GUARD

ASSEMBLY - valve

1шт.

34

131-352

LOCK NUT,3/8"-16, GA

NUT - 3/8 UNC

2шт.

35

131-352

LOCK NUT,3/8"-16, GA

NUT - 3/8 UNC

2шт.

Выбрано товаров: 36