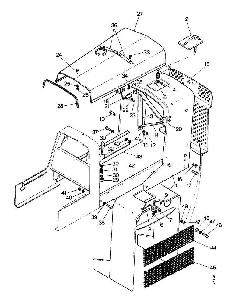
Запчасти Case 850 (G04-1) - HOOD, SHROUD AND GRILLE (05) - UPPERSTRUCTURE CHASSIS

Схема запчастей Case 850 - (G04-1) - HOOD, SHROUD AND GRILLE (05) - UPPERSTRUCTURE CHASSIS
24
4
35
48
20
30
37
17
38
22
6
39
40
34
8
5
44
36
41
33
41
28
26
47
31
15
47
25
1
12
7
32
39
10
16
49
45
43
2
29
40
42
46
21
30
11
23
13
27
18
9
3
14
19
FIT
1:1
100%

Артикул

Название

Примечание

Количество

1

E81215

GUARD - radiator shroud, Drawbar

1шт.

E81216

GUARD - radiator shroud, 5 roller track Dozer

1шт.

E81226

GUARD

- radiator shroud, 6 roller track Dozer

1шт.

E81217

GUARD - radiator shroud, Loader

1шт.

2

D49018

LID - radiator

1шт.

3

D49021

VALVE SPRING

SPRING - lid and retainer

1шт.

4

195-33

WASHER,1/2"

- 1/2 in

1шт.

5

132-67

COTTER PIN,5/32" x 3/4"

Pin, Split (Cotter), 5/32" x 3/4"

1шт.

6

E89088

SPRING

- radiator guard

1шт.

7

D41104

LATCH - grille

1шт.

8

413-632

BOLT,Hex, 3/8" - 16 x 2", Gr 5

1шт.

9

131-352

LOCK NUT,3/8"-16, GA

NUT - 3/8 UNC, lock

1шт.

10

13-828

BOLT,Hex, 1/2" - 13 x 1-3/4", Gr 5

- 1/2 UNC x 1.3/4 in

4шт.

11

92-8

LOCK WASHER,1/2"

4шт.

12

25-108

NUT,1/2"-13, G5

- 1/2 UNC

4шт.

13

D41110

BRACE - grille

2шт.

14

D41112

BRACE

- radiator guard

1шт.

15

D41109

GUARD

GRILLE - radiator

1шт.

16

13-1228

BOLT,Hex, 3/4" - 10 x 1-3/4", Gr 5

6шт.

17

13-1632

BOLT,Hex, 1" - 8 x 2", Gr 5, Full Thd

- 1 in UNC x 2 in

2шт.

18

13-832

BOLT,Hex, 1/2" - 13 x 2", Gr 5

4шт.

19

D44695

SPACER - bracket

2шт.

20

D35746

BRACKET

- hood mounting right hand, Drawbar and Loader

1шт.

D41453

BRACKET - hood mounting right hand, Dozer

1шт.

21

D35745

SPLIT PIN/SAFETY PIN

BRACKET - hood mounting left hand, Drawbar and Loader

1шт.

D41452

BRACKET - hood mounting left hand, Dozer

1шт.

22

92-8

LOCK WASHER,1/2"

4шт.

23

25-108

NUT,1/2"-13, G5

- 1/2 UNC

4шт.

24

13-616

BOLT,Hex, 3/8" - 16 x 1", Gr 5, Full Thd

1шт.

25

195-25

WASHER,3/8"

- 3/8 in

1шт.

26

131-352

LOCK NUT,3/8"-16, GA

NUT - lock, 3/8 UNC

1шт.

27

E81061

HOOD - engine, Dozer and Drawbar

1шт.

E81403

+ HOOD - engine, Dozer for France only

1шт.

E81063

HOOD - engine, Loader

1шт.

E81401

+ HOOD - engine, Loader for France only

1шт.

28

D35820

TRIM - rear hood edge, Dozer and Drawbar

1шт.

29

25-106

NUT,3/8"-16, G5

- 3/8 UNC

8шт.

30

195-25

WASHER,3/8"

- 3/8 in

8шт.

31

F60482

SPRING

- latch

4шт.

32

D33958

BOLT

LATCH - hood hold down

4шт.

33

13-612

BOLT,Hex, 3/8" - 16 x 3/4", Gr 5, Full Thd

4шт.

34

92-6

LOCK WASHER,3/8"

4шт.

35

195-25

WASHER,3/8"

- 3/8 in

4шт.

36

D41367

DEFLECTOR - dirt, Loader only optional

2шт.

37

13-824

BOLT,Hex, 1/2" - 13 x 1-1/2", Gr 5, Full Thd

2шт.

38

13-820

BOLT,Hex, 1/2" - 13 x 1-1/4", Gr 5, Full Thd

RH side Hex, 1/2"-13 x 1 1/4", G5, Full Thd

1шт.

13-824

BOLT,Hex, 1/2" - 13 x 1-1/2", Gr 5, Full Thd

LH side Hex, 1/2"-13 x 1 1/2", G5, Full Thd

1шт.

39

195-33

WASHER,1/2"

- 1/2 in

4шт.

40

92-8

LOCK WASHER,1/2"

4шт.

41

25-108

NUT,1/2"-13, G5

- 1/2 UNC

4шт.

42

D47746

PANEL ASSY.

ENGINE PANEL - side, right hand

1шт.

E89641

+ ENGINE PANEL - side, right hand for France only

1шт.

43

D47747

ENGINE PANEL - side, left hand

1шт.

E89642

+ ENGINE PANEL - side, left hand for France only

1шт.

44

D41357

SCREEN - brush, upper front

1шт.

45

D41358

SCREEN - brush, lower front

1шт.

46

13-624

BOLT,Hex, 3/8" - 16 x 1-1/2", Gr 5

- 3/8 UNC x 1.1/2 in

14шт.

47

39519

WASHER,10.31mm ID x 34.9mm OD x 3.57mm Thk

- special

28шт.

48

R20553

WASHER

SPACER - screen

14шт.

49

131-352

LOCK NUT,3/8"-16, GA

NUT - lock, 3/8 UNC

14шт.

Выбрано товаров: 60