Запчасти Case 850 (G13-1) - LOADER CAB HEATER (05) - UPPERSTRUCTURE CHASSIS

Схема запчастей Case 850 - (G13-1) - LOADER CAB HEATER (05) - UPPERSTRUCTURE CHASSIS
13
20
16
10
6
13
2
3
14
29
17
6
25
14
21
27
4
15
12
19
7
6
24
22
30
9
11
12
6
26
10
5
12
23
6
18
8
11
9
28
FIT
1:1
100%

Артикул

Название

Примечание

Количество

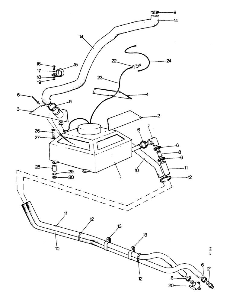
E81152

HEATER

ASSEMBLY - cab

1шт.

1

E87732

HEATER

UNIT - 12 volt

1шт.

2

E88007

COVER

- plain

2шт.

3

E88026

PLATE

COVER - adaptor

1шт.

4

E88008

PLATE

COVER - door

1шт.

5

E89452

RIVET

- heater covers

16шт.

6

214-251

HOSE CLAMP,#06, 0.44" - 0.78", Type F Worm

CLAMP - hose

8шт.

7

E87738

CONNECTOR, ELEC

ELBOW - 90degree

2шт.

8

E87739

HOSE

CONNECTOR - hose

2шт.

9

214-255

HOSE CLAMP,#16, 0.81" - 1.5", Type F Worm

2шт.

10

E81453

HOSE

- heater, 67 in

1шт.

11

E81454

HOSE

- heater, 62 in

1шт.

12

D41076

STRAP

4шт.

D41075

STUD

- strap

4шт.

13

E81149

CLAMP

- hose

2шт.

14

E88020

HOSE

- demist

1шт.

15

E88021

CLAMP

CLEAT - demist hose

2шт.

16

13-412

BOLT,Hex, 1/4" - 20 x 3/4", Gr 5, Full Thd

2шт.

17

92-4

LOCK WASHER,1/4"

WASHER, LOCK, 1/4"

2шт.

18

95-4

WASHER,1/4"

- 1/4 in

2шт.

19

25-104

NUT,1/4"-20, G5

2шт.

20

E87737

VALVE

TAP - 3/8 NPT to 1/2 in hose

1шт.

21

E81151

ADAPTER

ADAPTOR - 3/8 BSP to 1/2 in hose

1шт.

22

E87733

SWITCH

- heater, 12 volt

1шт.

23

E81456

CABLE

- heater unit to heater switch, 108 in

1шт.

24

E81457

CABLE

- heater switch to ignition switch, 12 in

1шт.

25

E89232

TERMINAL CONNECTOR

TERMINAL - ring, 2BA

1шт.

26

13-428

BOLT,Hex, 1/4" - 20 x 1-3/4", Gr 5

4шт.

27

92-4

LOCK WASHER,1/4"

WASHER, LOCK, 1/4"

4шт.

28

E87704

BLOCK

- heater mounting

4шт.

29

95-4

WASHER,1/4"

- 1/4 in

4шт.

30

25-104

NUT,1/4"-20, G5

4шт.

Выбрано товаров: 32