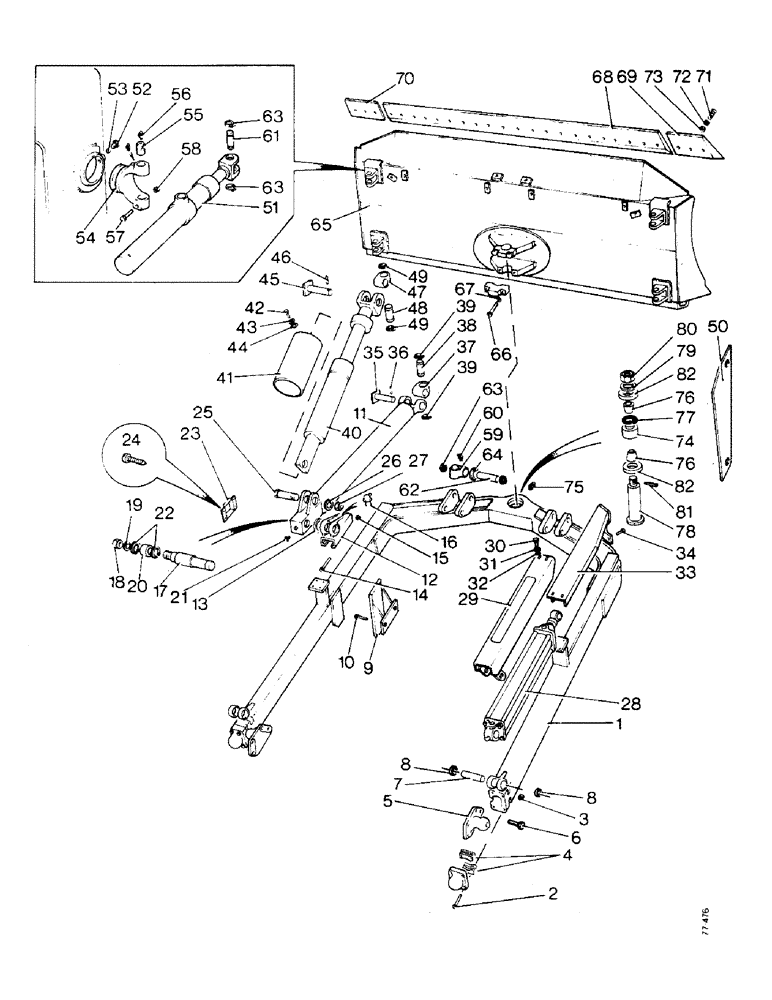
Запчасти Case 850 (H01-1) - ANGLE-TILT PITCH DOZER - MECHANICAL PARTS (05) - UPPERSTRUCTURE CHASSIS

Схема запчастей Case 850 - (H01-1) - ANGLE-TILT PITCH DOZER - MECHANICAL PARTS (05) - UPPERSTRUCTURE CHASSIS
63
53
8
62
18
69
2
13
26
39
11
49
20
6
67
80
16
42
71
34
48
35
46
78
10
31
82
77
63
44
40
54
29
76
43
81
7
9
75
52
49
39
72
45
37
50
55
76
4
27
51
21
5
59
14
3
38
57
68
33
82
19
41
17
70
47
56
8
73
61
36
24
66
15
12
60
23
79
65
74
63
1
22
30
28
32
58
25
64
FIT
1:1
100%

Артикул

Название

Примечание

Количество

1

E88309

SPARE PART

'C' FRAME

1шт.

70396

KIT

- pivot bracket

2шт.

2

14-1064

BOLT,Hex, 5/8" - 18 x 4", Gr 5

- 5/8 UNF x 4 in

8шт.

3

231-46110

LOCK NUT,5/8"-18, GB

NUT - 5/8 UNF

8шт.

4

D49981

SHIM,1/32" Thk

4 on top and 4 on bottom 1/32" Thk

1шт.

5

R18645

TRUNNION

- push

2шт.

6

13-1232

BOLT,Hex, 3/4" - 10 x 2", Gr 5

8шт.

7

D33769

PIN

- guard mounting

2шт.

8

D26918

SNAP RING,#125, Ext

Ring, Snap, , pin #125, Ext

4шт.

9

D44191

BRACKET

- rub

2шт.

10

13-1232

BOLT,Hex, 3/4" - 10 x 2", Gr 5

4шт.

11

E88358

STAY

STRUT - lower

2шт.

12

D46831

BRACKET

- slide, right hand

1шт.

D46832

BRACKET

- slide, left hand

1шт.

13

E88354

GASKET

- strut to slide bracket

2шт.

14

13-656

BOLT,Hex, 3/8" - 16 x 3-1/2", Gr 5

- 3/8 UNC x 3.1/2 in

2шт.

15

131-352

LOCK NUT,3/8"-16, GA

NUT - lock, 3/8 UNC

2шт.

16

219-55

LUBE NIPPLE,90 Degree Elbow, 1/8" - 27 NPTF

NIPPLE, LUBE, 90º, 1/8" NPT x .84" lg

2шт.

17

E88351

PIN

- strut swivel

2шт.

18

230-41116

NUT,1"-8, GA

NUT - lock 1 in UNC

2шт.

19

E88369

WASHER

- swivel pin

2шт.

20

D36203

BUSHING,38.1mm ID x 61.91mm OD x 33.33mm W

JOINT - ball, lower strut

2шт.

21

219-1

LUBE NIPPLE,1/8" - 27 NPTF

FITTING - grease, straight 1/8 NPT

2шт.

22

A10506

SNAP RING,2.44", Int, #244

Ring, Snap, 2.44", Int, #244

4шт.

23

E88393

GUARD

- strut, swivel pin end, if fitted

2шт.

24

168-16

SCREW,Type U, Rnd Hd, #6 x 1/4"

- drive, used with E88393

8шт.

25

E88353

BOLT

- special, cylinder mounting

2шт.

26

95-16

WASHER,1 1/16" x 2 1/2" x .164"

- 1 in

2шт.

27

230-41116

NUT,1"-8, GA

NUT - lock, 1 in UNC

2шт.

28

R19345

CYLINDER

- angling, see Figure H07-1

2шт.

29

70400

GUARD - angling cylinder, right hand rear

1шт.

70401

GUARD - angling cylinder, left hand rear

1шт.

30

13-818

BOLT,Hex, 1/2" - 13 x 1-1/8", Gr 5, Full Thd

8шт.

31

92-8

LOCK WASHER,1/2"

8шт.

32

95-8

WASHER,1/2"

8шт.

33

D46838

COVER

GUARD - angling cylinder, right hand front

1шт.

D46839

GUARD

- angling cylinder, left hand front

1шт.

34

164-83

HEX SOC SCREW,Flat Hd, 5/8" - 11 x 2

SCREW - cap, socket head 5/8 UNF

4шт.

35

D41266

PIN

- lower strut mounting joint

2шт.

36

138-178

LOCK PIN,3/8" x 2 1/4", Slotted

PIN, 3/8" x 2 1/4", Slotted

2шт.

37

70315

UNIVERSAL JOINT

JOINT - universal, lower strut

2шт.

38

D33769

PIN

- mounting, lower strut

2шт.

39

D26918

SNAP RING,#125, Ext

Ring, Snap, , pin #125, Ext

4шт.

40

G34281

CYLINDER

- tilt and pitch, see Figure H08-1

2шт.

41

D42529

GUARD

- cylinder

2шт.

42

13-612

BOLT,Hex, 3/8" - 16 x 3/4", Gr 5, Full Thd

6шт.

43

92-6

LOCK WASHER,3/8"

6шт.

44

195-25

WASHER,3/8"

- 3/8 in

6шт.

45

D41266

PIN

- cylinder mounting

2шт.

46

138-178

LOCK PIN,3/8" x 2 1/4", Slotted

PIN, 3/8" x 2 1/4", Slotted

2шт.

47

70315

UNIVERSAL JOINT

JOINT - universal, mouldboard to tilt cylinder

2шт.

48

D33769

PIN

- mounting, mouldboard

2шт.

49

D26918

SNAP RING,#125, Ext

Ring, Snap, , pin #125, Ext

4шт.

50

D44277

GUARD

- hose, tilt and pitch cylinder

2шт.

51

G33738

CYLINDER

- lift

2шт.

52

D28481

PLUG

- special

2шт.

53

211-17

BALL,3/4" Dia

- steel, trunnion retaining

38шт.

54

D24497

TRUNNION

- lift cylinder

2шт.

55

D28482

PIN

- mounting

4шт.

56

219-1

LUBE NIPPLE,1/8" - 27 NPTF

FITTING - grease, straight 1/8 NPT

6шт.

57

13-648

BOLT,Hex, 3/8" - 16 x 3", Gr 5

- 3/8 UNC x 3 in

4шт.

58

131-352

LOCK NUT,3/8"-16, GA

NUT - lock, 3/8 UNC

4шт.

59

D32926

UNIVERSAL JOINT

JOINT - universal, lift cylinder to 'C' frame

2шт.

60

219-55

LUBE NIPPLE,90 Degree Elbow, 1/8" - 27 NPTF

NIPPLE, LUBE, 90º, 1/8" NPT x .84" lg

2шт.

61

D32932

PIN,31.75mm OD x 112.78mm L

- mounting, joint

2шт.

62

D33769

PIN

- mounting

2шт.

63

D26918

SNAP RING,#125, Ext

Ring, Snap, , pin #125, Ext

8шт.

64

B18315

SPACER

2шт.

E88308

MOULDBOARD ASSEMBLY

1шт.

65

E88317

MOULDBOARD

1шт.

66

13-1236

BOLT,Hex, 3/4" - 10 x 2-1/4", Gr 5

4шт.

67

92-12

LOCK WASHER,3/4"

WASHER, LOCK, 3/4"

4шт.

68

R22981

BLADE

- cutting, centre

1шт.

69

70375

SHARE

BLADE - cutting, right hand

1шт.

70

70376

BLADE

- cutting, left hand

1шт.

71

19-1036

PLOW BOLT,5/8" - 11 x 2 1/4", Gr 5

BOLT - plough, 5/8 UNC x 2.1/4 in

28шт.

72

92-10

LOCK WASHER,5/8"

WASHER, LOCK, 5/8"

28шт.

73

25-1010

NUT,5/8"-11, G5

28шт.

74

E88311

KNEE JOINT

JOINT - ball, mouldboard swivel

1шт.

75

219-1

LUBE NIPPLE,1/8" - 27 NPTF

FITTING - grease, straight 1/8 NPT

1шт.

76

E88352

BUSHING

SPACER - bearing

2шт.

77

A55435

SNAP RING,3.938", Int, #393

Ring, Snap, 3.938", Int, #393

1шт.

78

E88357

PIN

- mouldboard swivel

1шт.

79

E88356

WASHER

- mouldboard swivel pin

1шт.

80

129-621

NUT

- slotted, 2 UNF

1шт.

81

132-188

PIN

- split

1шт.

82

E88355

GASKET

- mouldboard

2шт.

Выбрано товаров: 87