Запчасти Case 850 (J02-3) - LOADER BUCKET, 1.1/2 CUBIC YARD BUCKET (05) - UPPERSTRUCTURE CHASSIS

Схема запчастей Case 850 - (J02-3) - LOADER BUCKET, 1.1/2 CUBIC YARD BUCKET (05) - UPPERSTRUCTURE CHASSIS
7
16
3
13
5
8
1
6
9
12
2
15
10
11
4
14
FIT
1:1
100%

Артикул

Название

Примечание

Количество

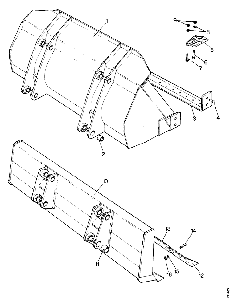
1

D45444

BUCKET ASSEMBLY - without teeth

1шт.

2

D31142

BUSHING,51.02mm ID x 63.5mm OD x 38.1mm L

- bucket ear

8шт.

3

D40998

EDGE, CUTTING

CUTTING EDGE - bucket

1шт.

4

46-1030

RIVET

- 5/8 x 1.7/8 in

22шт.

5

D29445

TOOTH

- bucket

6шт.

6

13-1044

BOLT,Hex, 5/8" - 11 x 2-3/4", Gr 5

- 5/8 UNC x 2.3/4 in

6шт.

7

13-1036

BOLT,Hex, 5/8" - 11 x 2-1/4", Gr 5

6шт.

8

92-10

LOCK WASHER,5/8"

WASHER, LOCK, 5/8"

12шт.

9

25-1010

NUT,5/8"-11, G5

12шт.

ref

Part No.

English

1шт.

10

D41034

MOULDBOARD ASSEMBLY - loader, dozing blade machinery item

1шт.

11

D31142

BUSHING,51.02mm ID x 63.5mm OD x 38.1mm L

- blade ear, loader dozing machinery item

8шт.

12

70441

BLADE

CUTTING EDGE - end, right hand, loader dozing blade machinery item

1шт.

70442

BLADE

CUTTING EDGE - end, left hand, loader dozing blade machinery item

1шт.

13

R23000

EDGE, CUTTING

CUTTING EDGE - centre, loader dozing blade machinery item

1шт.

14

19-1032

BOLT,5/8" - 11 x 2", Gr 5

- plough, 5/8 UNC x 2 in, loader dozing blade machinery item

22шт.

15

92-10

LOCK WASHER,5/8"

WASHER, LOCK, , Loader dozing blade machinery item 5/8"

22шт.

16

25-1010

NUT,5/8"-11, G5

Loader dozing blade machinery item 5/8"-11, G5

22шт.

Выбрано товаров: 18