Запчасти Case 850 (H04-1) - ANGLE TILT PITCH DOZER HYDRAULICS, ANGLING CIRCUIT (07) - HYDRAULIC SYSTEM

Схема запчастей Case 850 - (H04-1) - ANGLE TILT PITCH DOZER HYDRAULICS, ANGLING CIRCUIT (07) - HYDRAULIC SYSTEM
7
5
16
1
17
6
3
15
5
12
15
16
11
9
14
2
4
6
17
18
10
5
10
13
5
8
FIT
1:1
100%

Артикул

Название

Примечание

Количество

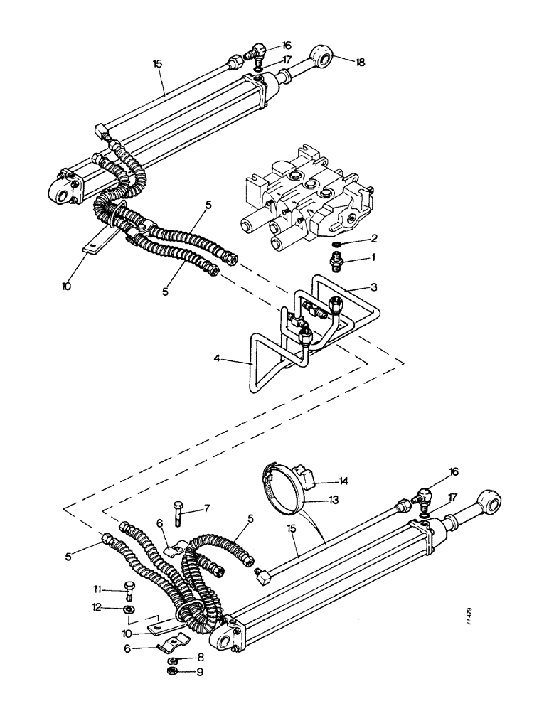
1

218-5077

HYD CONNECTOR,1-1/16" - 12 Male JIC x 1-5/16" - 12 Male ORB

ADAPTOR - straight male

2шт.

2

218-5010

O-RING,0.116" Thk x 1.171" ID, -916, Cl 6, 90 Duro

'O'RING

1шт.

3

D45914

PIPE

TUBE -, Serial Range: valve-cylinders

1шт.

4

E88450

PIPE

TUBE -, Serial Range: valve-cylinders

1шт.

5

D47246

HOSE

-, Serial Range: valve-cylinders

4шт.

6

R15257

CLAMP

- hose

4шт.

7

413-632

BOLT,Hex, 3/8" - 16 x 2", Gr 5

2шт.

8

92-6

LOCK WASHER,3/8"

2шт.

9

25-106

NUT,3/8"-16, G5

- 3/8 UNC

2шт.

10

D40386

GUIDE - hose

2шт.

11

13-1016

BOLT,Hex, 5/8" - 11 x 1", Gr 5, Full Thd

2шт.

12

92-10

LOCK WASHER,5/8"

WASHER, LOCK, 5/8"

2шт.

13

214-267

HOSE CLAMP,#64, 3.56" - 4.5", Type F Worm

CLAMP - tube

2шт.

14

D38648

BLOCK

SADDLE - clamp, rubber

2шт.

15

D47247

TUBE

-, Serial Range: hose-cylinders

2шт.

16

218-5107

90 ELBOW,90 Degree Elbow, 7/8" - 14 Male JIC x 7/8" - 14 Male ORB

Male 90º, 7/8"-14, 37º x 7/8"-14, O-Ring

4шт.

17

237-6010

O-RING,0.097" Thk x 0.755" ID, -910, Cl 6, 90 Duro

10-1, 90 Duro, .755" ID x .097" Thk

1шт.

18

R19345

CYLINDER

- angling

2шт.

Выбрано товаров: 0