Запчасти Case 850 (018) - CAMSHAFT, (301 BD) DIESEL ENGINE (01) - ENGINE

Схема запчастей Case 850 - (018) - CAMSHAFT, (301 BD) DIESEL ENGINE (01) - ENGINE
8
7
11
4
9
3
12
5
14
6
1
10
13
FIT
1:1
100%

Артикул

Название

Примечание

Количество

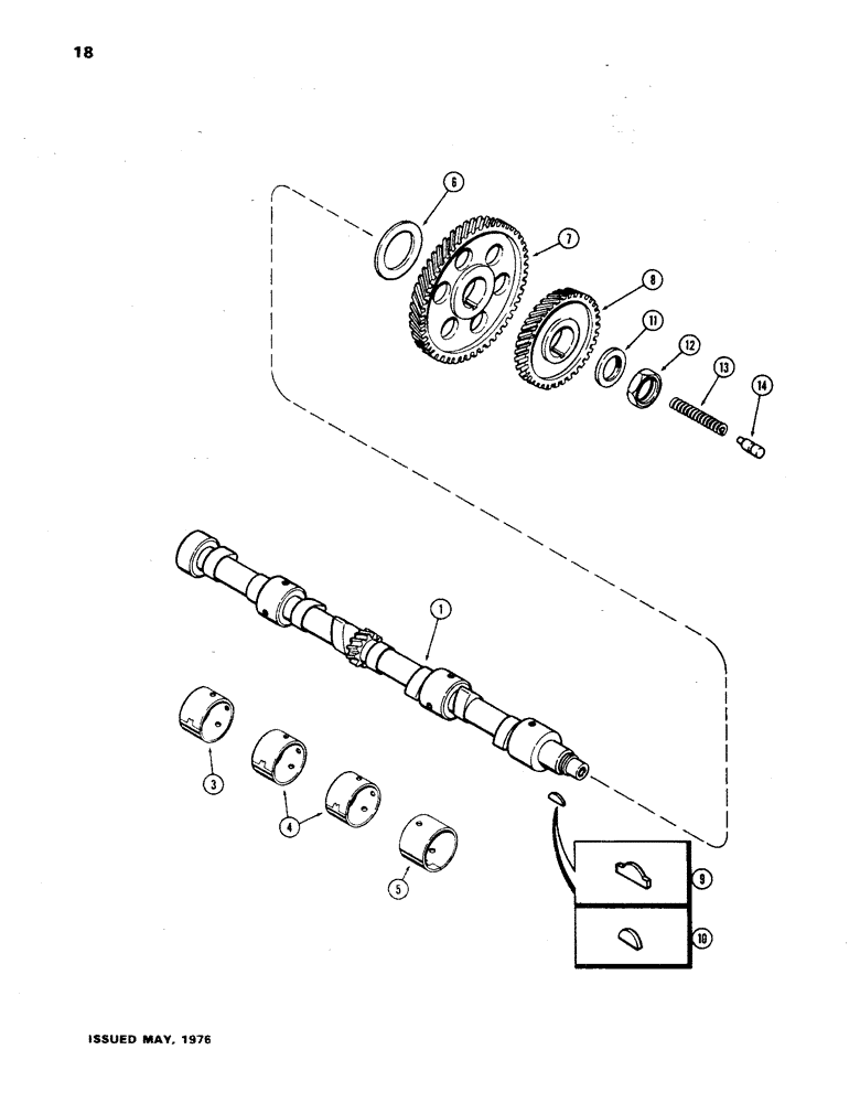
1

A66742

CAMSHAFT

- (Req. Hi-Pro key) (See Ref. 9) (1st used eng. ser. no. 2324460) (Replaces A62733)

1шт.

1

A58724

CAM

SHAFT - (Req. Woodruff key) (See Ref. 10) (Used prior to eng. ser. no. 2324460) (Order 1-A66742 camshaft & 1-126-227 key)

1шт.

A23577

KIT

BUSHING KIT - camshaft (Set of 4), Includes: Ref. 3 - 5

1шт.

3

NSS

NOT SOLD SEPARAT

BUSHING - rear (1-5/32" wide)

1шт.

4

NSS

NOT SOLD SEPARAT

BUSHING - intermediate (1-7/16" wide)

2шт.

5

NSS

NOT SOLD SEPARAT

BUSHING - front (1-21/32" wide)

1шт.

6

A21017

WASHER

- thrust (2-1/4 x 3-1/4 x 1/8")

1шт.

7

A58592

GEAR

- camshaft

1шт.

8

A58593

GEAR

- idler

1шт.

9

126-227

WOODRUFF KEY,Hi-Pro, 1 1/4" Dia x 5/16" x 1"

KEY - Hi-Pro (Used w/A62733 camshaft)

1шт.

10

126-29

WOODRUFF KEY,#C, 5/16" x 1 1/8"

Used w/A58724 camshaft #C, 5/16" x 1 1/8"

1шт.

11

A31038

THRUST WASHER

- (1-3/8 x 2-1/4 x 5/32") (Rpl. A58594 tab washer)

1шт.

12

A58595

NUT

- camshaft

1шт.

13

CASA27853

SPRING

- plunger, camshaft thrust

1шт.

14

A27852

PLUNGER

- thrust, camshaft

1шт.

Выбрано товаров: 15