Запчасти Case 850 (028) - PISTONS, (301 BD) DIESEL ENGINE (01) - ENGINE

Схема запчастей Case 850 - (028) - PISTONS, (301 BD) DIESEL ENGINE (01) - ENGINE
9
10
8
4
24
1
25
23
3
16
22
26
6
18
15
5
5
7
17
2
FIT
1:1
100%

Артикул

Название

Примечание

Количество

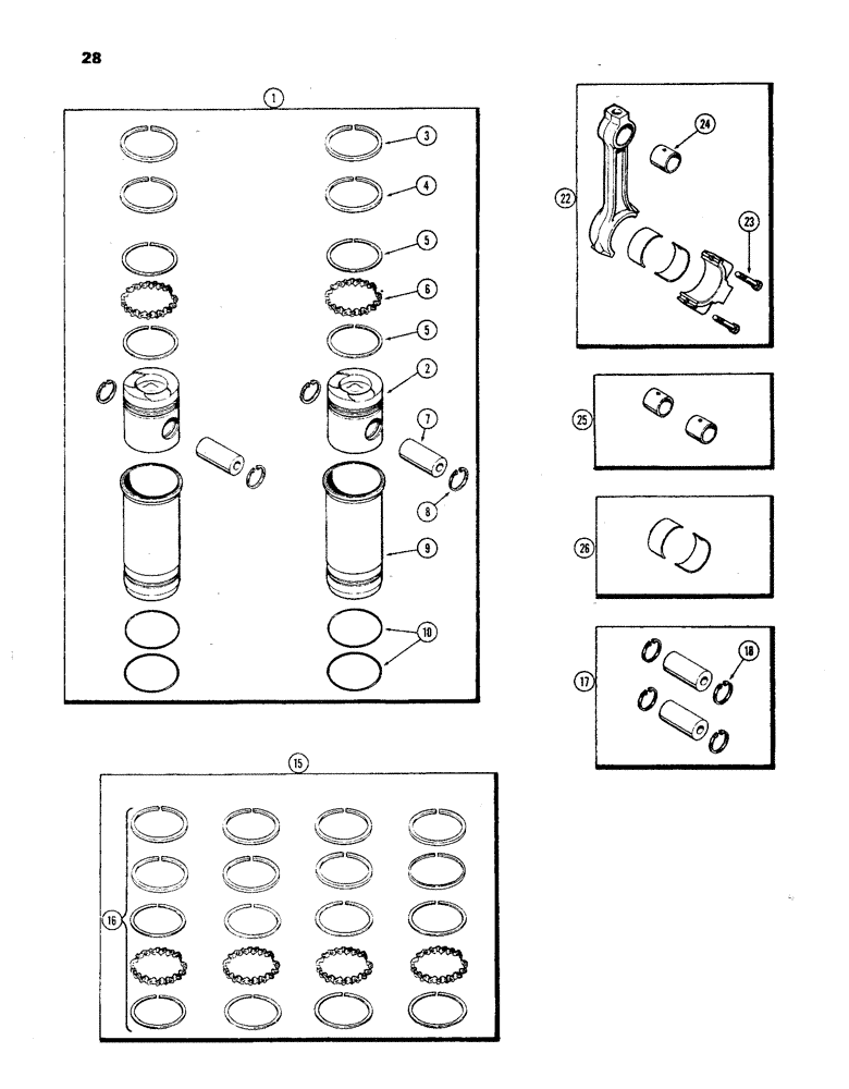
1

A46022

SET

PISTON ASSY. - (Set of 2) (Rpl. A42069, A43023 & A43714), Includes: Ref. 2 - 10

2шт.

2

A64766

PISTON

- cylinder (4-3/8" dia.) (Replaces A58864)

2шт.

3

NSS

NOT SOLD SEPARAT

RING - compression. 1st groove (Order Ref. 16)

2шт.

4

NSS

NOT SOLD SEPARAT

RING - compression, 2nd groove (Order Ref. 16)

2шт.

5

NSS

NOT SOLD SEPARAT

RAIL - oil control, 3rd groove (Order Ref. 16)

4шт.

6

NSS

NOT SOLD SEPARAT

EXPANDER - oil control, 3rd groove (Order Ref. 16)

2шт.

7

NSS

NOT SOLD SEPARAT

PIN - wrist, piston (Order Ref. 17)

2шт.

8

T28550

SNAP RING,1.50", Int, #150

Ring, Snap, , replaces A21016 1.50", Int, #150

4шт.

9

A142367

SLEEVE

- cylinder (4-3/8" bore) (Repl. A59093)

2шт.

10

A23316

O-RING,0.139" Thk x 4.484" ID, -246, Cl 5, 75 Duro

"O" RING - sleeve packing (4-1/2 x 4-3/4 x 1/8")

4шт.

15

A43031

KIT

RING KIT - (Re-Ring) (Set of 4) (Replaces A42240), Includes: Ref. 16

1шт.

16

A43028

RING, SET

RING KIT - (Re-Ring) (Set of 1) (Replaces A42079)

4шт.

17

A43713

PIN

KIT - wrist (Set of 2), Includes: Ref. 18

2шт.

Pin Kit- Wrist (Set of 2) Use A64767 Pin and T28550 Snap Ring.

1шт.

18

T28550

SNAP RING,1.50", Int, #150

Ring, Snap, , wrist pin, replaces A21016 1.50", Int, #150

4шт.

22

A62952

ROD

ASSY. - conn. (1st used eng. ser. no. 2331513), Includes: Ref. 23 and 24

4шт.

22

A58862

ROD

ASSY. - conn (Used prior to eng. ser. no. 2331513), Includes: Ref. 23 and 24

4шт.

23

A65757

FLANGE BOLT,1/2" - 20 x 2.31"

BOLT - connecting rod cap (Replaces A27848)

2шт.

24

NSS

NOT SOLD SEPARAT

BUSHING - wrist pin (Order Ref. 25), connecting rod

1шт.

25

A21722

BUSHING

KIT - wrist pin (Set of 2), connecting rod

2шт.

26

A43173

BEARING LINER

LINER SET - conn. rod brg., (Standard) (Set of 2) (Replaces A42493)

4шт.

26

A43174

BEARING LINER

LINER SET - conn. rod brg. (-.002") (Set of 2) (Replaces A42478)

4шт.

26

A43175

BEARING LINER,70.25mm ID x 74.32mm OD x 40.54mm W

LINER SET - conn. rod brg. (-.010") (Set of 2) (Replaces A42479)

4шт.

26

A43176

BEARING LINER,70mm ID x 74.32mm OD x 40.54mm W

LINER SET - conn. rod brg. (-.020") (Set of 2) (Replaces A42480)

4шт.

26

A43177

BEARING LINER

LINER SET - conn. rod brg. (-.030") (Set of 2) (Replaces A42481)

4шт.

Выбрано товаров: 25