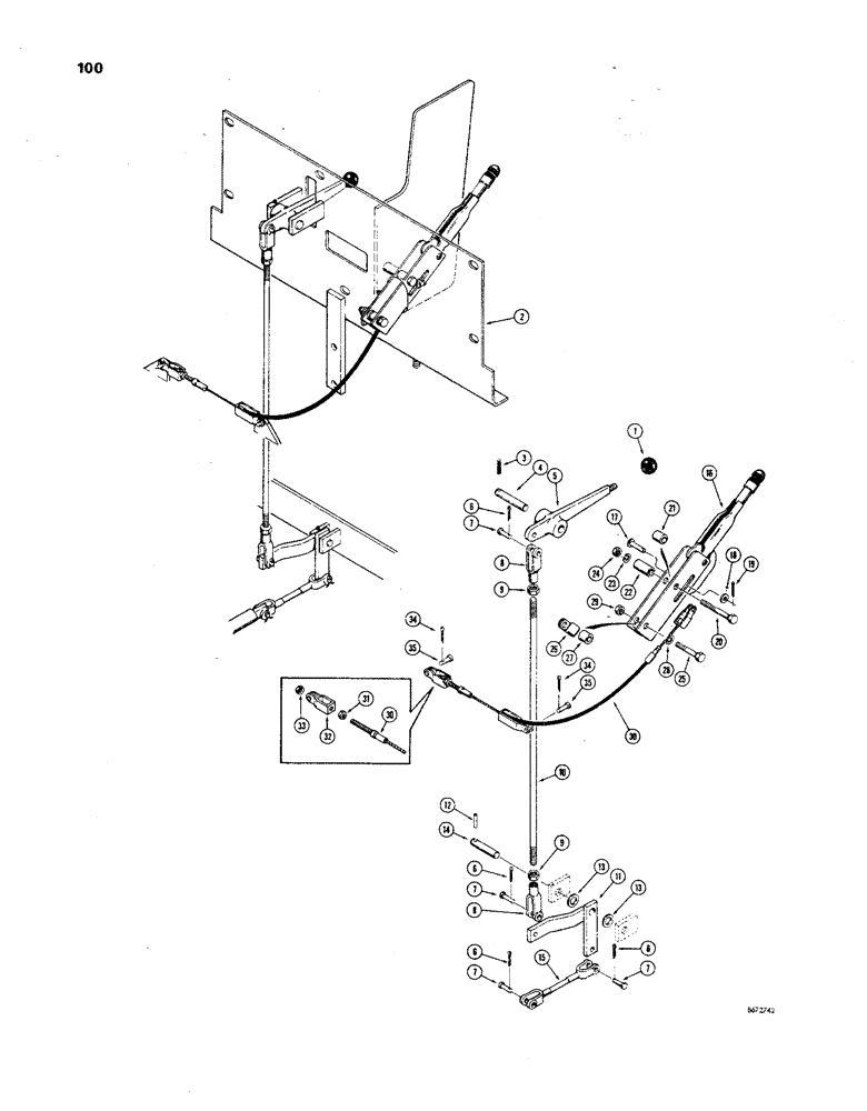
Запчасти Case 850 (100) - DUAL RANGE LINKAGE AND PARKING BRAKE (03) - TRANSMISSION

Схема запчастей Case 850 - (100) - DUAL RANGE LINKAGE AND PARKING BRAKE (03) - TRANSMISSION
2
10
32
33
34
13
6
14
17
25
22
11
7
9
7
23
30
34
31
13
7
30
6
20
35
3
24
18
16
12
26
1
5
29
28
21
7
19
6
4
6
6
15
27
8
35
9
FIT
1:1
100%

Артикул

Название

Примечание

Количество

1

70213

KNOB

- R13377 lever (3/8" - 24 NF)

1шт.

1

D49996

KNOB

- D50205 lever (1/2" - 20 NF)

1шт.

2

D39670

PLATE - heel (All models except Power Angle Tilt Pitch Dozers)

1шт.

2

D52290

PLATE - heel (Power Angle Tilt Pitch Dozers)

1шт.

3

138-98

LOCK PIN,3/16" x 1 1/4", Slotted

PIN, 3/16" x 1 1/4", Slotted

1шт.

4

D29768

SHAFT

- pivot, dual range control lever

1шт.

5

R13377

LEVER

- control, dual range (When stock is exhausted, use D50525 lever and D49906 knob)

1шт.

5

D50205

LEVER

- control, dual range

1шт.

6

132-26

COTTER PIN

Pin, Split (Cotter), 3/32" x 3/4"

4шт.

7

141-4

CLEVIS PIN,3/8" x 1.060"

PIN, CLEVIS, , Rod end 3/8" x 1.060"

4шт.

8

D35773

YOKE

- rod end

2шт.

9

25-116

NUT,Hex, 3/8"-24, G5

- hex. (3/8" - 24 NF)

2шт.

10

D41022

ROD

- control, dual range

1шт.

11

D30316

LEVER - dual range

1шт.

12

138-98

LOCK PIN,3/16" x 1 1/4", Slotted

PIN, 3/16" x 1 1/4", Slotted

1шт.

13

195-41

WASHER,5/8"

- plain () 5/8"

2шт.

14

D30320

SHAFT - dual range lever

1шт.

15

D30319

ROD

- control, dual range

1шт.

D40687

LEVER

BRAKE LEVER - parking, Includes: Ref. 16 - 19

1шт.

16

NSS

NOT SOLD SEPARAT

LEVER - parking brake

1шт.

17

D42458

PIN

- clevis

1шт.

18

95-5

WASHER,3/8" x 7/8" x .083"

- standard wrot (5/16")

1шт.

19

132-26

COTTER PIN

Pin, Split (Cotter), 3/32" x 3/4"

1шт.

20

26-552

BOLT,Hex, 5/16" - 18 x 3-1/4", Gr 8

HHCS - 5/16" - 18 NC 3-1/4" (Grade 8)

1шт.

21

D40685

SPACER

- lever, inner

1шт.

22

F18607

SPACER

- lever, outer

1шт.

23

92-5

LOCK WASHER,5/16"

1шт.

24

9635082

NUT,5/16" - 18, Gr 5

- hex. (5/16" - 18 NC)

1шт.

25

26-528

BOLT,Hex, 5/16" - 18 x 1-3/4", Gr 8

HHCS - 5/16" - 18 NC x 1-3/4" (Grade 8)

1шт.

26

D40684

CLAMP,12.7mm ID, 8.78mm Bolt Hole, P Type

- cable guide

1шт.

27

D30863

TUBE

SPACER - clamp

1шт.

28

92-5

LOCK WASHER,5/16"

1шт.

29

9635082

NUT,5/16" - 18, Gr 5

- HEX. (5/16" - 18 NC)

1шт.

D41531

CABLE

ASSEMBLY - brake, Includes: Ref. 30 - 33

1шт.

30

NSS

NOT SOLD SEPARAT

CABLE - brake

1шт.

31

129-122

NUT,5/16"-24, G5

1шт.

32

D43802

CLEVIS

- cable

1шт.

33

86637933

JAM NUT,5/16" - 24, Gr 5

1шт.

34

132-26

COTTER PIN

Pin, Split (Cotter), 3/32" x 3/4"

2шт.

35

141-3

CLEVIS PIN,5/16" x .940"

PIN, CLEVIS, , Cable yoke 5/16" x .940"

2шт.

Выбрано товаров: 40