Запчасти Case 850 (212) - LOADER BUCKET, 1-1/2 CUBIC YARD BUCKET (MACHINERY ITEM) (05) - UPPERSTRUCTURE CHASSIS

Схема запчастей Case 850 - (212) - LOADER BUCKET, 1-1/2 CUBIC YARD BUCKET (MACHINERY ITEM) (05) - UPPERSTRUCTURE CHASSIS
12
13
5
14
3
16
7
6
2
15
1
4
11
10
8
17
9
FIT
1:1
100%

Артикул

Название

Примечание

Количество

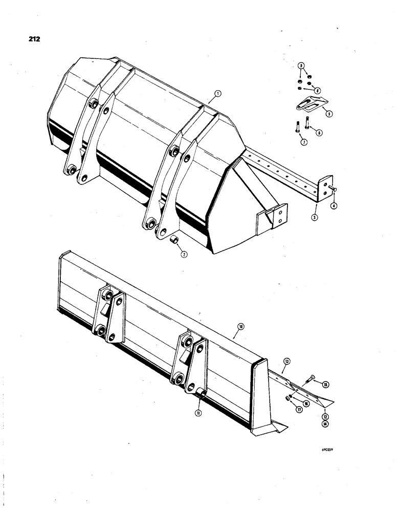
1

D13871

BUCKET ASSEMBLY - loader, 1-1/2 cu. yard (Without teeth), Includes: Ref. 2 - 4

1шт.

2

D31142

BUSHING,51.02mm ID x 63.5mm OD x 38.1mm L

- bucket ear

8шт.

3

D40998

EDGE, CUTTING

CUTTING EDGE - bucket

1шт.

4

46-1030

RIVET

- 5/8" dia. x 1-7/8"

22шт.

5

D29445

TOOTH

- bucket

6шт.

6

13-1044

BOLT,Hex, 5/8" - 11 x 2-3/4", Gr 5

HHCS - 5/8 - 11 NC x 2-3/4"

6шт.

7

13-1036

BOLT,Hex, 5/8" - 11 x 2-1/4", Gr 5

6шт.

8

92-10

LOCK WASHER,5/8"

WASHER, LOCK, 5/8"

12шт.

9

25-1010

NUT,5/8"-11, G5

12шт.

10

D13870

DOZING BLADE - loader, machinery item, Includes: Ref. 11 - 17

1шт.

11

D31142

BUSHING,51.02mm ID x 63.5mm OD x 38.1mm L

- blade ear, loader dozer machinery item

8шт.

12

70441

BLADE

CUTTING EDGE - end, R.H., loader dozer blade machinery item

1шт.

13

R23000

EDGE, CUTTING

CUTTING EDGE - end, L.H. (Not illustrated), loader dozer blade machinery item

1шт.

15

19-1032

BOLT,5/8" - 11 x 2", Gr 5

- plow (5/8" - 11 NC x 2"), loader dozer blade machinery item

22шт.

16

92-10

LOCK WASHER,5/8"

WASHER, LOCK, , Loader dozer blade machinery item 5/8"

22шт.

17

25-1010

NUT,5/8"-11, G5

Loader dozer blade machinery item 5/8"-11, G5

22шт.

Выбрано товаров: 0