Запчасти Case 850 (214) - D41574 DROTT 4-IN-1 BUCKET (05) - UPPERSTRUCTURE CHASSIS

Схема запчастей Case 850 - (214) - D41574 DROTT 4-IN-1 BUCKET (05) - UPPERSTRUCTURE CHASSIS
38
33
45
10
40
35
3
30
29
32
15
24
36
35
20
33
17
31
18
37
31
9
27
34
13
46
19
22
26
12
44
23
34
16
5
30
47
25
30
26
21
43
11
4
7
41
2
32
42
14
1
FIT
1:1
100%

Артикул

Название

Примечание

Количество

D41574

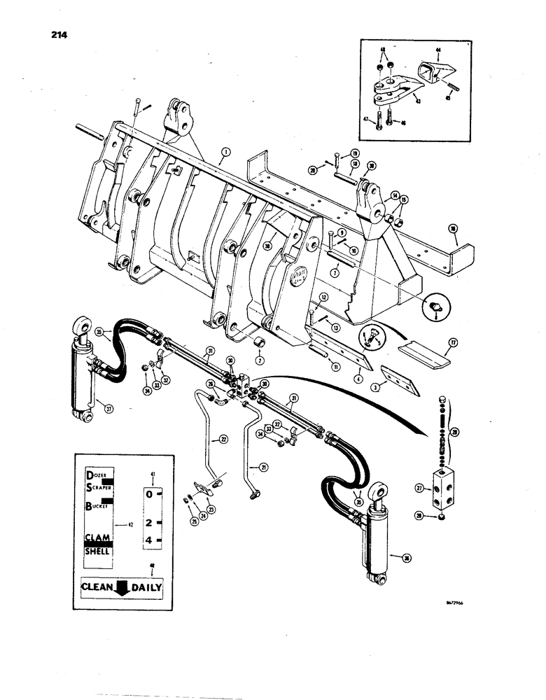
BUCKET - Drott, without teeth (1 cu. yard) Machinery item, Includes: Ref. 1 - 13

1шт.

D44064

BLADE ASSEMBLY - bucket, Includes: Ref. 1 - 13

1шт.

1

NSS

NOT SOLD SEPARAT

BLADE - bucket

1шт.

2

D31142

BUSHING,51.02mm ID x 63.5mm OD x 38.1mm L

- bucket ear

8шт.

3

D39196

END

CUTTING EDGE - end

2шт.

4

D44067

NO LONGER SERVICED

CUTTING EDGE - center

1шт.

5

19-1232

CARRIAGE BOLT,#3, 3/4" - 10 x 2", Gr 5

BOLT - plow, 3/4" - 10 NC x 2"

15шт.

6

25-1012

NUT,3/4"-10, G5

15шт.

7

A17660

PIN

- clam to blade, Includes: Ref. 8

2шт.

8

219-1

LUBE NIPPLE,1/8" - 27 NPTF

FITTING - grease, straight (1/8" NPT)

1шт.

9

S10786

CLEVIS PIN

PIN, CLEVIS, 3/8" dia. x 3-3/4"

2шт.

10

132-48

COTTER PIN,1/8" x 1"

Pin, Split (Cotter), 1/8" x 1"

2шт.

11

A17662

PIN

- cylinder base

2шт.

12

A17663

PIN

- clevis, 1/2" dia. x 2-3/4"

2шт.

13

132-48

COTTER PIN,1/8" x 1"

Pin, Split (Cotter), 1/8" x 1"

2шт.

D44065

CLAM ASSEMBLY - bucket, Includes: Ref. 14 - 20

1шт.

14

NSS

NOT SOLD SEPARAT

CLAM - bucket

1шт.

15

A18662

BUSHING

- clam

4шт.

16

D39202

CUTTING EDGE

- clam, front

1шт.

17

D44066

LARGE PLATE

CUTTING EDGE - clam, rear

1шт.

18

A17664

PIN

-, Serial Range: clam-cylinder

2шт.

19

S10786

CLEVIS PIN

PIN, CLEVIS, 3/8" dia. x 3-3/4"

2шт.

20

132-48

COTTER PIN,1/8" x 1"

Pin, Split (Cotter), 1/8" x 1"

2шт.

21

D44068

TUBE

- to relief valve, R.H.

1шт.

22

D44069

TUBE

- to relief valve, L.H.

1шт.

23

D44073

CLAMP

- tube

1шт.

24

92-6

LOCK WASHER,3/8"

med. sect. 3/8"

1шт.

25

25-106

NUT,3/8"-16, G5

- hex. (3/8" - 16 NC)

1шт.

26

218-485

ELBOW,90 Degree Elbow, 7/8" - 14 Male JIC x 1/2" - 14 Male NPTF

- tube, 90deg. (1/2" NPT)

2шт.

D43824

VALVE

- relief, Includes: Ref. 27 - 29

1шт.

27

NSS

NOT SOLD SEPARAT

BODY - relief valve

1шт.

28

221-844

PLUG,Hex Soc, 1/2"-14

- pipe, hex. socket head (1/2" NPT)

1шт.

29

NSS

NOT SOLD SEPARAT

CARTRIDGE - relief

1шт.

30

218-445

HYD CONNECTOR,7/8" - 14 Male JIC x 1/2" - 14 Male NPTF

ADAPTER - male, straight (1/2"NPT)

4шт.

31

D44072

TUBE

- relief, Serial Range: valve-cylinder

4шт.

32

D44073

CLAMP

- tube

2шт.

33

92-6

LOCK WASHER,3/8"

med. sect. 3/8"

2шт.

34

25-106

NUT,3/8"-16, G5

- hex. (3/8" - 16 NC)

2шт.

35

D44074

HOSE

- relief valve to cylinder (26" long)

4шт.

36

REF

INSTRUCTION

CYLINDER - clam (R.H.) See Figure 304 for cylinders

1шт.

37

REF

INSTRUCTION

CYLINDER - clam (L.H.) See Figure 304 for cylinders

1шт.

38

D44071

PLATE - indicator

1шт.

39

D44070

BAR - indicator

1шт.

40

A18673

DECAL

- clean out

2шт.

41

D43822

DECAL

- clam position

1шт.

42

D43823

DECAL

- bucket position

1шт.

A17665

TOOTH

ASSEMBLY - bucket, optional, Includes: Ref. 43 and 44

8шт.

43

NSS

NOT SOLD SEPARAT

SHANK - tooth, bucket optional

1шт.

44

A17667

TIP

- tooth, bucket optional

1шт.

45

138-207

LOCK PIN,1/2" x 2 1/4", Slotted

PIN, , Bucket teeth (optional) 1/2" x 2 1/4", Slotted

8шт.

46

13-1048

BOLT,Hex, 5/8" - 11 x 3", Gr 5

Bucket teeth optional Hex, 5/8"-11 x 3", G5

8шт.

47

13-1052

BOLT,Hex, 5/8" - 11 x 3-1/4", Gr 5

Bucket teeth (optional) Hex, 5/8"-11 x 3 1/4", G5

8шт.

48

25-1010

NUT,5/8"-11, G5

Bucket teeth optional 5/8"-11, G5

16шт.

Выбрано товаров: 0