Запчасти Case 850 (056) - A15485 STARTER (06) - ELECTRICAL SYSTEMS

Схема запчастей Case 850 - (056) - A15485 STARTER (06) - ELECTRICAL SYSTEMS
66
48
49
38
40
53
74
67
51
63
42
57
41
50
69
60
44
61
68
62
39
56
52
70
58
59
45
64
65
47
43
46
FIT
1:1
100%

Артикул

Название

Примечание

Количество

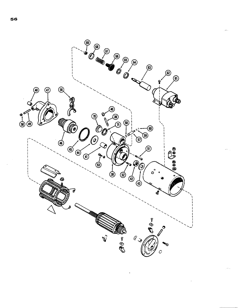
A15485

STARTING MOTOR

STARTER ASSY. - (cont'd from Figure 54)

1шт.

38

R21579

HOUSING

ASSY. - shift lever

1шт.

39

R15023

WICK

- oil

1шт.

40

221-1041

PLUG

- oil wick hole

1шт.

41

R21580

BUSHING

- lever housing

1шт.

42

R21582

OIL SEAL

- oil, lever housing

1шт.

43

R21583

WASHER

- spacer, armature

1шт.

44

R15145

DISC

WASHER - brake

1шт.

45

R21562

GASKET

- drive housing to lever housing

1шт.

46

A42397

DRIVE

ASSY. - starter (Bendix)(Replaced R21589)

1шт.

47

A40283

HOUSING

ASSY. - drive end

1шт.

48

A40893

BUSHING

- housing

1шт.

49

R15023

WICK

- oil

1шт.

50

221-1041

PLUG

- oil wick hole

1шт.

51

D32488

HEX SOC SCREW,5/16" - 18 x 1.50"

SCREW - socket head (1-1/2" long)

1шт.

52

D32489

HEX SOC SCREW,5/16" - 18 x 0.86"

SCREW - socket head (7/8" long)

1шт.

53

R21578

SCREW

- lever, Serial Range: hsg.-frame

4шт.

56

D32547

LEVER

- shift

1шт.

57

A42199

PIN

SHAFT - shift lever pivot

1шт.

58

R21574

O-RING,0.244" ID x 0.391" OD x 0.073"

"O"RING - shaft, large

1шт.

59

R21573

O-RING,0.369" ID x 0.515" OD x 0.073"

"O"RING - shaft, small

1шт.

60

G46146

SNAP RING,#37, Ext

Ring, Snap, , shaft retaining (replaced A40422) #37, Ext

1шт.

61

A15358

SOLENOID

ASSY. - (See Figure 57A)

1шт.

62

R15139

WASHER

SCREW ASSY. -, Serial Range: solenoid-frame

4шт.

63

A42309

PLUNGER

- solenoid

1шт.

64

R21572

RETAINER

WASHER - retainer

1шт.

65

A42063

RETAINER - spring

1шт.

66

A42308

BOOT

- solenoid

1шт.

67

A41242

SPRING

- return

1шт.

68

R21571

RETAINER

- spring

1шт.

69

131-31

LOCK NUT,5/16"-24, G8

NUT - adj., plunger guide

1шт.

70

R21587

PLUG

- lever housing

1шт.

71

A41924

GASKET

- plug

1шт.

Выбрано товаров: 33