Запчасти Case 850 (076) - HYDRAULIC BRAKES (03) - TRANSMISSION

Схема запчастей Case 850 - (076) - HYDRAULIC BRAKES (03) - TRANSMISSION
29
12
36
18
10
19
38
17
34
13
16
42
11
50
27
14
22
20
24
48
15
11
41
30
37
29
40
32
49
31
28
3
23
21
1
13
39
4
25
5
2
6
7
FIT
1:1
100%

Артикул

Название

Примечание

Количество

A50388

NO LONGER SERVICED

TRANSMISSION & FINAL DRIVE ASSY. - complete (incl. all items Figure 68 thru 82)

1шт.

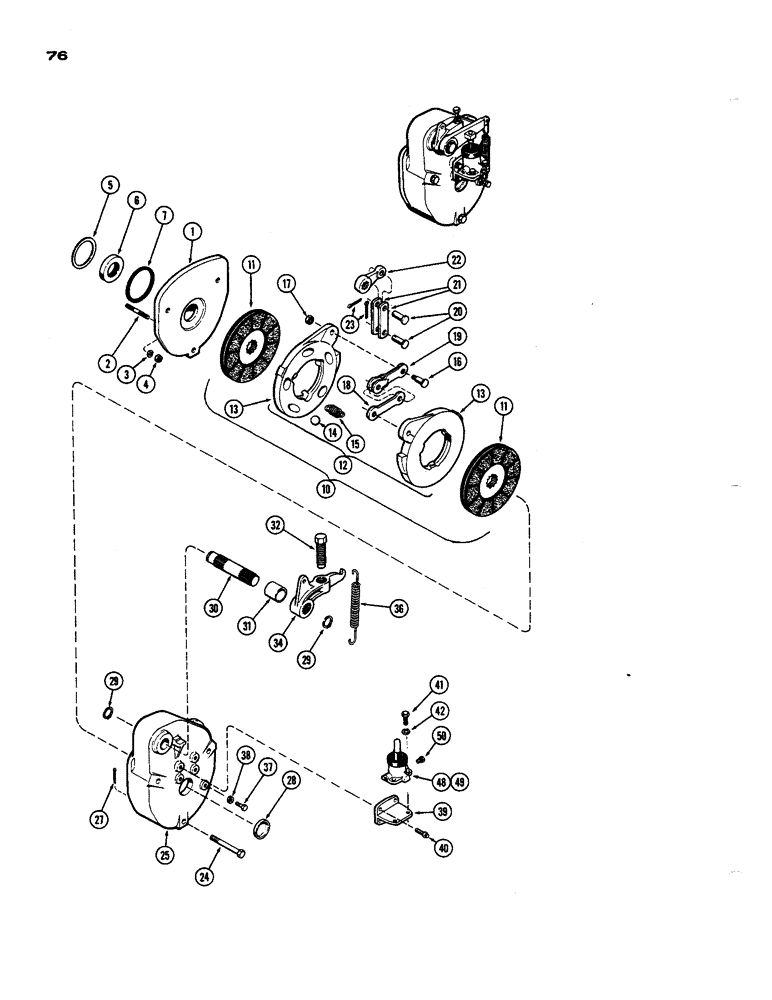
1

A50184

FLANGE

PLATE - mounting, L.H. & R.H. brake

2шт.

2

A50241

STUD

- mounting, L.H. & R.H. brake plate

8шт.

3

92-8

LOCK WASHER,1/2"

8шт.

4

25-108

NUT,1/2"-13, G5

- 1/2" N.C. hex.

8шт.

5

A50061

SHIM,0.076mm Thk

(.003"), Pinion shaft bearing 0.076mm Thk

1шт.

5

A50062

SHIM,0.127mm Thk

(.005"), Pinion shaft bearing 0.127mm Thk

1шт.

5

A50063

SHIM,0.254mm Thk

(.010"), Pinion shaft bearing 0.254mm Thk

1шт.

6

A50418

OIL SEAL

- oil, L.H. & R.H. brake & plate & pinion shaft

2шт.

7

A50055

SEALING RING

RING - seal, L.H. & R.H. brake plate

2шт.

10

NSS

NOT SOLD SEPARAT

BRAKE ASSY. - double disc, L.H. & R.H.

2шт.

11

A50117

BRAKE DISC

DISC - double, brake (bonded)

2шт.

12

R18531

DISC

ACTUATOR ASSY. - brake

1шт.

13

NSS

NOT SOLD SEPARAT

PLATE - actuator, brake (Order ref. 12)

2шт.

14

211-19

BALL,7/8" Dia

- actuator plate, 7/8" dia. steel

5шт.

15

A30897

SPRING

- actuator extension

3шт.

16

A30898

STEP BOLT

STUD - brake link

2шт.

17

25-155

JAM NUT,Jam, 5/16"-24, G5

- jam, 5/16" N.F. hex.

2шт.

18

R18533

LINK

- single rib, actuator

1шт.

19

F77868

LINK

- yoke, actuating link

1шт.

20

R15370

PIN

- link, brake pull

4шт.

21

R15369

LINK

- brake pull

4шт.

22

R15372

LEVER

- brake link pull

2шт.

23

132-26

COTTER PIN

Pin, Split (Cotter), 3/32" x 3/4", link pin

4шт.

24

13-856

BOLT,Hex, 1/2" - 13 x 3-1/2", Gr 5

6шт.

25

A50206

COVER

- brake, R.H.

1шт.

25

A50207

COVER

- brake, L.H.

1шт.

27

R14605

PIN

- cleaner, brake housing drain hole

4шт.

28

41-1628

PLUG,Cup, 1 3/4", Stainless

- cup, brake cover

2шт.

29

B18208

SNAP RING,#100, Ext

brake actuating shaft #100, Ext

4шт.

30

A50391

SHAFT

- brake actuating

2шт.

31

A50392

BUSHING

SPACER - adjusting, lever

2шт.

32

A50395

ADJUSTMENT SCREW,Locking, 3/4" - 16 x 2.75"

BOLT - 3/4 x 2-34/" N.F. Nylon insert

2шт.

34

A50393

LEVER

ASSY. - brake actuating

2шт.

36

R15380

SPRING

- return, brake lever

2шт.

37

13-636

BOLT,Hex, 3/8" - 16 x 2-1/4", Gr 5

2шт.

38

25-106

NUT,3/8"-16, G5

- 3/8" N.C. hex.

2шт.

39

A50119

BRACKET

- brake cylinder mounting

2шт.

40

166-45

12 PT SCREW,Flg, 3/8" - 16 x 1", Gr 8

BOLT - 3/8 x 2" 12 pt. head

8шт.

41

13-412

BOLT,Hex, 1/4" - 20 x 3/4", Gr 5, Full Thd

4шт.

42

92-4

LOCK WASHER,1/4"

WASHER, LOCK, 1/4"

4шт.

48

A50557

CYLINDER

ASSY. - hydraulic, R.H. & L.H. brake (1st used trans. SN2681293) (Repairs Figure 77A)

2шт.

49

A50485

SCREW

CYLINDER ASSY. - hydraulic, R.H. & L.H. brake (Used prior to trans. SN 2681293) (Order a50557) (Repairs Figure 77A)

2шт.

50

221-1651

PLUG - cyl. opening, 1/8" P.T. hex. hd.

2шт.

Выбрано товаров: 44