Запчасти Case 850 (044) - OIL PRESSURE GAUGES WITH TUBES, INSTRUMENT PANEL (06) - ELECTRICAL SYSTEMS

Схема запчастей Case 850 - (044) - OIL PRESSURE GAUGES WITH TUBES, INSTRUMENT PANEL (06) - ELECTRICAL SYSTEMS
29
38
16
2
31
13
40
27
22
41
30
29
24
23
12
28
23
22
28
21
4
33
20
21
30
30
43
25
19
3
14
17
44
19
17
8
28
45
21
39
35
6
36
10
27
4
24
4
15
9
32
38
18
1
34
32
7
5
42
21
37
29
11
26
10a
FIT
1:1
100%

Артикул

Название

Примечание

Количество

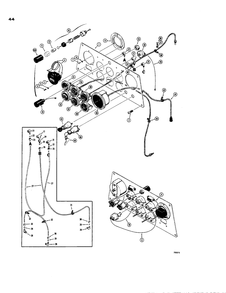
1

D41010

PANEL

- instrument

1шт.

2

174-205

SCREW,Phil Rnd Hd, 5/16" - 24 x 7/8"

RHMS - 5/16" - 24 NF x 7/8"

4шт.

R24646

ELECTRICAL GAUGE

KIT - meter, hour (Replaced D39287)

1шт.

3

NSS

NOT SOLD SEPARAT

METER - engine hour

1шт.

4

D39285

ELECTRICAL WIRE

WIRE - hour meter (36" long)

2шт.

D39284

KIT

PACKAGE - mounting hardware

1шт.

5

173-61

SCREW,Sl Rnd Hd, #6 - 32 x 1/2"

RHMS - #6 - 32 NC X 1/2"

3шт.

6

193-24

LOCK WASHER,Int Tooth, #6

WASHER, LOCK, Int Tooth, #6

3шт.

7

173-203

SCREW,Sl Rnd Hd, #6 - 32 x 1/2"

RHMS - #6 - 32 NC x 1/2" (Zinc plated)

3шт.

8

192-15

LOCK WASHER,Helical Spring, #6, 0.145" ID, CST, ZND

Washer, Lock, #6

3шт.

9

D35079

DAMPER

DAMPENER - vibration

1шт.

10

D35815

LAMP

- dash

1шт.

10a

D37918

COVER

- lamp

1шт.

11

D37919

LENS

- lamp

1шт.

12

R19897

BULB

- lamp

1шт.

13

D39095

NUT

- hex., special

1шт.

14

NSS

NOT SOLD SEPARAT

BODY AND WIRE - lamp

1шт.

15

R15953

GAUGE

- torque coverter oil pressure

1шт.

16

D22853

GAUGE

- engine oil pressure

1шт.

17

217-10

TEE,1/8" - 27 NPTF Fem

- pipe, female (1/8" NPT)

1шт.

18

D28798

SWITCH

- pressure

1шт.

19

D28797

ELECTRICAL WIRE

WIRE - switch

1шт.

20

D29570

GAUGE

- transmission oil pressure

1шт.

D35895

FITTING

ELBOW ASSEMBLY - female, flex tube

2шт.

21

NSS

NOT SOLD SEPARAT

ELBOW - flex tube

1шт.

22

D37177

SLEEVE

- flex tube

1шт.

23

D37178

NUT

- flex tube

1шт.

D35816

CONNECTOR, ELEC

CONNECTOR ASSEMBLY - male, flex tube

1шт.

24

NSS

NOT SOLD SEPARAT

CONNECTOR - flex tube

1шт.

25

D37176

SLEEVE

- flex tube

1шт.

26

D37362

TUBE NUT

- flex tube

1шт.

27

D35089

TUBE

- oil pressure (Service options - see Figure 45A items 22, 23 and 24)

3шт.

D35081

FITTING

ELBOW ASSEMBLY - male, flex tube

3шт.

28

NSS

NOT SOLD SEPARAT

ELBOW - flex tube

1шт.

29

D37176

SLEEVE

- flex tube

1шт.

30

D37362

TUBE NUT

- flex tube

1шт.

31

49836

CLAMP

- engine oil pressure tube

1шт.

32

49838

CLAMP

- coverter and transmission oil pressure tubes

2шт.

33

D44005

ELECTRICAL GAUGE

GAUGE - torque covnerter temperature

1шт.

34

515-23127

CLAMP,1/2", Insul, 3/8" Bolt

- torque converter temperature cable

1шт.

35

D22768

ELECTRICAL GAUGE

GAUGE - water temperature

1шт.

36

75-436

SCREW,Rd, 1/4" - 20 x 2 1/4"

RHMS - 1/4" - 20 NC x 2-1/4"

2шт.

37

195-29

WASHER,7/16"

- plain () 7/16"

2шт.

38

49832

CLAMP

- water temperature cable

2шт.

39

R18748

AMMETER

GAUGE - ammeter

1шт.

40

D38122

TACHOMETER

- engine R.P.M.

1шт.

41

D48095

CABLE

- tachometer

1шт.

42

49851

SHIELD

- tachometer cable

1шт.

43

D35065

SWITCH

- light

1шт.

D35092

SWITCH

AND KEY - electrical

1шт.

44

D36822

KEY

- switch, set of two

1шт.

45

NSS

NOT SOLD SEPARAT

SWITCH - electrical

1шт.

Выбрано товаров: 52