Запчасти Case 850B (416) - CAB, WINDSHIELD WIPERS (05) - UPPERSTRUCTURE CHASSIS

Схема запчастей Case 850B - (416) - CAB, WINDSHIELD WIPERS (05) - UPPERSTRUCTURE CHASSIS
19
4
1
3
16
15
24
8
3a
5
12
9
18
12a
22
17
25
13
7
23
11
2
14
24
20
21
10
6
FIT
1:1
100%

Артикул

Название

Примечание

Количество

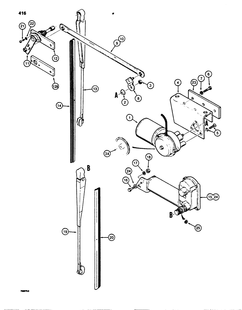
F93654

WIPER MOTOR

MOTOR ASSEMBLY - front windshield wiper, Includes: Ref#1 - 3A

1шт.

1

NSS

NOT SOLD SEPARAT

MOTOR - windshield wiper

1шт.

2

D71411

WASHER

- wave

1шт.

3

F44452

LOCK NUT

- special locking

1шт.

3a

N6029

GEAR

- drive, plastic

1шт.

4

D72850

BRACKET

- motor

1шт.

5

D72849

SCREW

- with lock washer

3шт.

6

113-1

BOLT,Hex, 1/4" - 20 x 1/2", Gr 5

3шт.

7

192-19

LOCK WASHER,Helical Spring, 0.256" ID, CST, ZND

WASHER, LOCK, 1/4"

3шт.

8

A36091

ARM

- drive

1шт.

9

D86566

LINK, CONNECTING

LINK - drive arm and pivot asesmbly, 14-5/8" (372 mm) long, used on all non-pressurized cab and pressurized dozer models only

1шт.

10

N7672

LINK, CONNECTING

LINK - drive arm and pivot assembly, 12-13/16" (325 mm) long, used on pressurized cab loader models only

1шт.

11

S225151

SHAFT

PIVOT AND SHAFT ASSEMBLY - windshield wiper

1шт.

12

D88803

SPACER

- windshield wiper pivot, with tapped mountng holes

1шт.

12a

N7667

SPACER

- windshield wiper pivot, without tapped holes, may be used in addition to Ref.# 12 spacer

2шт.

13

D88799

WIPER

ARM - windshield wiper

1шт.

14

F43938

WIPER BLADE

BLADE - wiper, 22" (559 mm) long

1шт.

15

R37767

WIPER MOTOR

MOTOR - rear windshield wiper, used on non-pressurized cabs

1шт.

16

113-1

BOLT,Hex, 1/4" - 20 x 1/2", Gr 5

1шт.

16a

195-102

WASHER,1/4"

- flat, , plated 1/4"

1шт.

17

192-19

LOCK WASHER,Helical Spring, 0.256" ID, CST, ZND

WASHER, LOCK, 1/4"

1шт.

18

7770

NUT,Hex, 1/4 - 20, Cl 5

1/4"-20, G5

1шт.

19

D88791

ARM

- rear windshield wiper

1шт.

20

F43938

WIPER BLADE

BLADE - rear arm

1шт.

21

182-516

SCREW,Sl Pan Hd, #10 - 24 x 1/2"

- pan head slotted, no. 10 - 32 NC x 1/2"

2шт.

22

192-18

LOCK WASHER,Helical Spring, #10, 0.196" ID, CST, ZND

WASHER, LOCK, #10

2шт.

23

N7666

SHIM - windshield wiper motor, front, used on dozer models only

2шт.

24

N7663

MOTOR - rear windshield wiper, used on pressurized cabs

1шт.

25

192-25

LOCK WASHER,5/8"

WASHER, LOCK, 5/8"

1шт.

Выбрано товаров: 29