Запчасти Case 850B (026) - VALVE MECHANISM, 336BD AND 336BDT DIESEL ENGINES (01) - ENGINE

Схема запчастей Case 850B - (026) - VALVE MECHANISM, 336BD AND 336BDT DIESEL ENGINES (01) - ENGINE
17
29
5
8
4
15
38
1
2
36
27
32
13
27
24
6
5
18
3
22
30
25
9
32
28
16
11
26
15
23
12
37
12
10
7
31
14
4
FIT
1:1
100%

Артикул

Название

Примечание

Количество

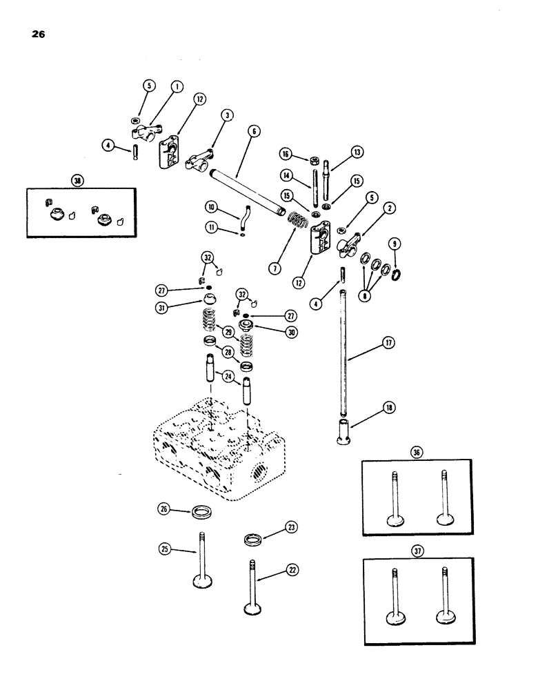
1

A148137

ROCKER ARM

ARM ASSEMBLY - rocker, exhaust valves (1st and 3rd cylinders)

2шт.

2

A148138

ARM

ASSEMBLY - rocker, exhaust valves (2nd and 4th cylinders)

2шт.

3

A148136

ARM

ASSEMBLY - rocker, intake valves, Includes: Ref.#s 4 & 5

4шт.

4

A21105

ADJUSTMENT SCREW,3/8" - 24 x 1 9/16"

SCREW - adjusting, rocker arms

1шт.

5

129-103

NUT,Hex, 3/8" - 16, Gr 5

NUT, , Adjusting screw 3/8"-16, G5

1шт.

6

A150545

SHAFT

ASSEMBLY - rocker arm (Replaces A57532)

2шт.

7

A27877

SPRING

- rocker arm

2шт.

8

A27878

WASHER

- shaft thrust

1шт.

9

B18206

SNAP RING,#87, Ext

RING, Snap, , shaft #87, Ext

4шт.

10

A58657

TUBE

- oil, rocker arm shaft

2шт.

11

A27880

O-RING,0.07" Thk x 0.18" ID, -8, Cl 5, 75 Duro

- oil tube

2шт.

12

A61128

BRACKET

- rocker arm shaft

4шт.

13

A58659

STUD

- bracket and cover (7/16" NC x 4-5/16")

4шт.

14

A58659

STUD

- bracket (7/16" NC x 4-5/16")

4шт.

15

195-29

WASHER,7/16"

- 1/2 x 15/16 x 1/16" (12.7 x 23.8 x 1.6 mm)

8шт.

16

129-104

NUT,7/16"-14, G5

4шт.

17

A141841

ROD

- push

8шт.

18

A20865

TAPPET

LIFTER - push rod (Standard)

8шт.

18

A21857

TAPPET

LIFTER - push rod, 0.010" (0.254 mm) Oversize

8шт.

22

NSS

NOT SOLD SEPARAT

VALVE - exhaust (Order Ref. 36)

4шт.

23

A58619

INSERT

- exhaust valve seat

4шт.

24

A41783

GUIDE

- intake and exhaust valves

8шт.

25

NSS

NOT SOLD SEPARAT

VALVE - intake (Order Ref. 37)

4шт.

26

A60557

INSERT

- intake valve seat

4шт.

27

A58628

SEAL,8mm ID x 13.77mm OD x 2.16mm Thk

- valve stem (See Ref. 25, Fig. 44)

8шт.

28

A66328

SEAT

- valve spring

8шт.

29

A66444

SPRING

- valve

8шт.

30

A66336

ROTATOR

ROTO CAP - exhaust valve

4шт.

31

NSS

NOT SOLD SEPARAT

RETAINER - intake valves (Order Ref. 38)

4шт.

32

A27872

LOCK

- valve springs

16шт.

36

A41753

VALVE

KIT - exhaust (Set of 2)

2шт.

37

A41754

VALVE

KIT - intake (Set of 2)

2шт.

38

A44645

KIT

RETAINER KIT - intake valve (Set of 2 retainers and 4 locks)

2шт.

Выбрано товаров: 33