Запчасти Case 850B (296) - R30153 DOZER LIFT SECTION (07) - HYDRAULIC SYSTEM

Схема запчастей Case 850B - (296) - R30153 DOZER LIFT SECTION (07) - HYDRAULIC SYSTEM
9
7
29
11
1
25
4
20
14
12
9
21
26
16
6
3
22
27
2
24
23
18
30
5
32
13
16
15
17
19
28
31
13
8
10
FIT
1:1
100%

Артикул

Название

Примечание

Количество

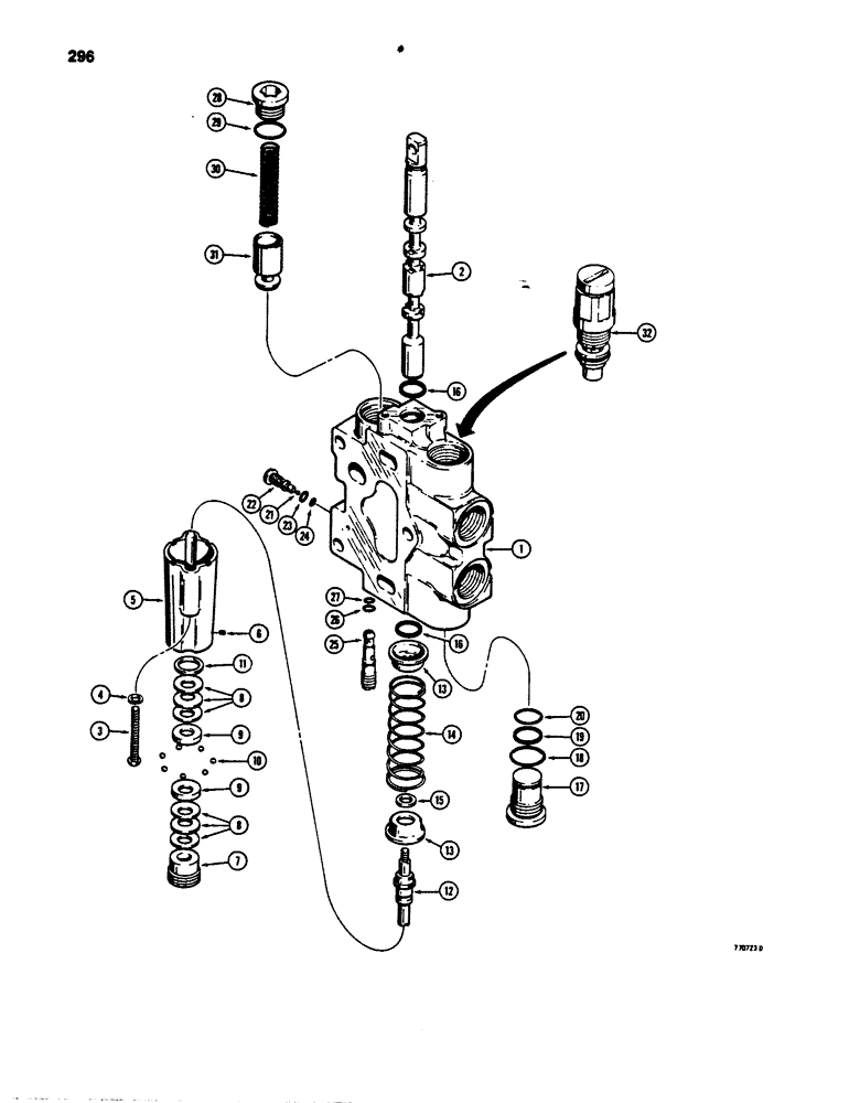
R30153

KNIFE SECTION

SECTION - dozer lift, identification no. 302, Includes: Ref.#s1 - 32

1шт.

1

NSS

NOT SOLD SEPARAT

BODY - section

1шт.

2

NSS

NOT SOLD SEPARAT

SPOOL - section

1шт.

3

75-436

SCREW,Rd, 1/4" - 20 x 2 1/4"

MACHINE SCREW - round head, slotted, 1/4" - 20 NC x 2-1/4"

2шт.

4

92-4

LOCK WASHER,1/4"

WASHER, LOCK, 1/4"

2шт.

5

R30190

HOUSING

- detent

1шт.

6

R30195

SCREW

SET SCREW - special

1шт.

7

R30194

PLUG

- detent

1шт.

8

D78437

WASHER

BELLEVILLE SPRING - detent

6шт.

9

D78439

RETAINER

- ball

2шт.

10

211-257

BALL,1/4" Dia

(6 mm), Steel 1/4" Dia

7шт.

11

D78438

WASHER

- special

1шт.

12

D78447

SHAFT

- detent

1шт.

13

CASR30191

RETAINER

- centering spring

2шт.

14

R30192

SPRING

CENTERING SPRING - spool

1шт.

15

R30198

WASHER

SPACER - detent shaft

1шт.

16

G46908

O-RING

- spool

2шт.

17

R30167

PLUG

- section body, Includes: P/N R30174 and Ref.#s18 - 20

1шт.

R30174

GASKET KIT

KIT - seal

1шт.

18

NSS

NOT SOLD SEPARAT

O-RING - large

1шт.

19

NSS

NOT SOLD SEPARAT

BACKUP RING - small O-ring

1шт.

20

NSS

NOT SOLD SEPARAT

O-RING - small

1шт.

21

211-255

BALL,3/16 Dia

(5 mm), steel, secondary shuttle 3/16 Dia

1шт.

R30157

LOCK VALVE

SHUTTLE - secondary, Includes: Ref.#s22 - 24

1шт.

22

NSS

NOT SOLD SEPARAT

BODY - shuttle

1шт.

R30185

SEAL KIT

KIT - seal, Includes: 23 & 24

1шт.

23

NSS

NOT SOLD SEPARAT

O-RING - large

1шт.

24

NSS

NOT SOLD SEPARAT

O-RING - small

1шт.

R30158

LOCK VALVE

SHUTTLE - primary, Includes: Ref.#s25 - 27

1шт.

25

NSS

NOT SOLD SEPARAT

BODY - shuttle

1шт.

R30186

SEAL

KIT - seal

1шт.

26

NSS

NOT SOLD SEPARAT

O-RING - large

1шт.

27

NSS

NOT SOLD SEPARAT

O-RING - small

1шт.

28

9841223

PLUG,1-1/16" - 12 ORB

Load check, Incl. Ref 29 Hex Soc, 1 1/16"-12 ORB

1шт.

29

218-5008

O-RING,0.116" Thk x 0.924" ID, -912, Cl 6, 90 Duro

- plug

1шт.

30

R30189

SPRING

- load check

1шт.

31

D78440

SPOOL

POPPET - load check

1шт.

32

D78449

VALVE

- anticavitation, parts list Fig. 322

1шт.

Выбрано товаров: 38