Запчасти Case 850B (046) - TIMING GEAR COVER, 336BD AND 336BDT DIESEL ENGINES (01) - ENGINE

Схема запчастей Case 850B - (046) - TIMING GEAR COVER, 336BD AND 336BDT DIESEL ENGINES (01) - ENGINE
20
3
5
11
6
4
10
12
14
2
1
9
10
18
21
22
22
7
8
24
19
23
13
10
15
FIT
1:1
100%

Артикул

Название

Примечание

Количество

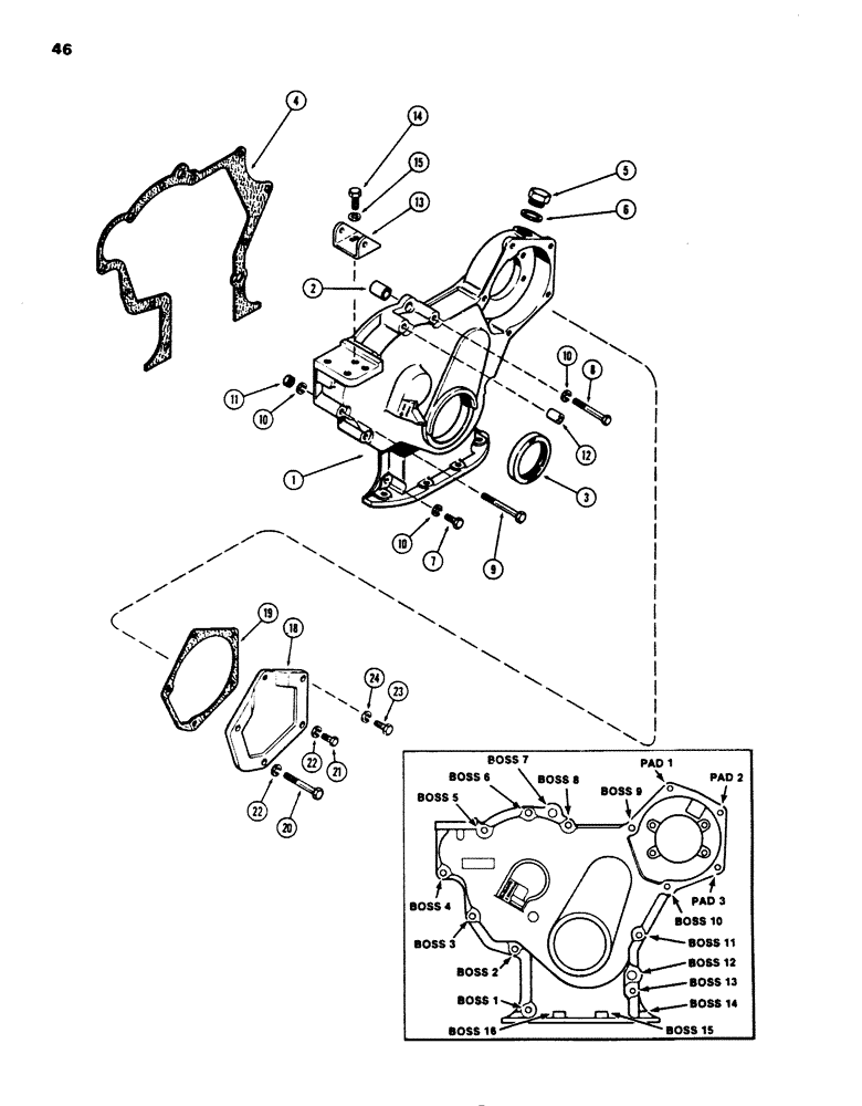
1

A58609

COVER

ASSEMBLY - timing gears, Includes: Ref.#2

1шт.

2

A58611

PIN

SLEEVE - cover locating, 3/8 x 5/8 x 1" (9.5 x 15.9 x 25.4 mm)

2шт.

3

A62049

OIL SEAL

- oil, crankshaft, front

1шт.

4

A58612

GASKET

-, Serial Range: cover-block

1шт.

5

A21140

PLUG

- timing window

1шт.

6

A58613

SEALING WASHER

GASKET - timing window plug

1шт.

7

113-207

BOLT,Hex, 3/8" - 16 x 1", Gr 5

Cover (Boss 1, 2, 11 and 13) Hex, 3/8"-16 x 1", G5, Full Thd

4шт.

8

13-640

BOLT,Hex, 3/8" - 16 x 2-1/2", Gr 5

- cover (3/8 x 2-1/2" Nc hex) (Boss 3 and 8)

2шт.

9

113-247

BOLT,Hex, 3/8" - 16 x 3-1/4", Gr 5

Cover (Boss 4 and 5) Hex, 3/8"-16 x 3 1/4", G5

2шт.

9

113-203

BOLT,Hex, 3/8" - 16 x 3-1/2", Gr 5

(Boss 6) Hex, 3/8"-16 x 3 1/2", G5

1шт.

10

92-6

LOCK WASHER,3/8"

9шт.

11

25-106

NUT,3/8"-16, G5

- 3/8" NC hex

2шт.

12

A19774

BUSHING

SPACER - alternator pry point (3/8" pipe x 1") (Boss 6)

1шт.

13

A160391

BRACKET

- alternator mounting (Replaces A38492)

1шт.

14

113-207

BOLT,Hex, 3/8" - 16 x 1", Gr 5

Bracket to cover Hex, 3/8"-16 x 1", G5, Full Thd

2шт.

15

92-6

LOCK WASHER,3/8"

2шт.

18

A61053

COVER

- fuel pump gears

1шт.

19

A58615

GASKET

- cover

1шт.

20

113-203

BOLT,Hex, 3/8" - 16 x 3-1/2", Gr 5

(Boss 9 and 10) Hex, 3/8"-16 x 3 1/2", G5

2шт.

21

A151921

BOLT

- cover (3/8 x 1-1/4" NC hex) (Pad 2 and 3 ) (Head drilled for anit-tamper wire) (Replaces A150118)

2шт.

22

92-6

LOCK WASHER,3/8"

4шт.

23

13-514

BOLT,Hex, 5/16" - 18 x 7/8", Gr 5

Cover (Pad 1) Hex, 5/16"-18 x 7/8", G5, Full Thd

1шт.

24

92-5

LOCK WASHER,5/16"

1шт.

Выбрано товаров: 23