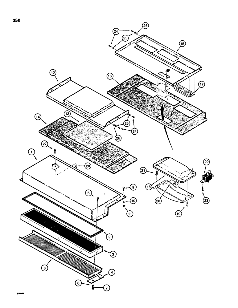
Запчасти Case 850C (350) - CAB, AIR FILTER AND HEADLINER (05) - UPPERSTRUCTURE CHASSIS

Схема запчастей Case 850C - (350) - CAB, AIR FILTER AND HEADLINER (05) - UPPERSTRUCTURE CHASSIS
8
24
12
22
17
25
7
26
24
23
26
4
28
25
14
13
2
6
10
19
15
27
11
21
20
18
9
5
1
16
3
FIT
1:1
100%

Артикул

Название

Примечание

Количество

1

R44782

HOUSING

- filter

1шт.

2

F63669

SEAL

- rubber, housing

1шт.

3

F64318

AIR FILTER

FILTER - air

1шт.

4

R44783

LARGE PLATE

PLATE - retainer, filter

2шт.

5

111-110

SCREW,Short NK, 1/4"-20 x 7/8", G2

BOLT, CARRIAGE, Short NK, 1/4"-20 x 7/8", G2

4шт.

6

195-102

WASHER,1/4"

- flat, , plated 1/4"

4шт.

7

86625061

NUT,1/4"-20, GB

NUT - hex, self-locking, 1/4" - 20 NC, plated

4шт.

8

R46136

SIEVE

LOUVER - filter

1шт.

9

113-102

BOLT,Hex, 5/16" - 18 x 3/4", Gr 5

Hex, 5/16"-18 x 3/4", G5, Full Thd

11шт.

10

F42778

WASHER

- special

11шт.

11

231-1445

NUT,5/16"-18, GB

NUT - hex, self-locking, 5/16" - 18 NC, plated

11шт.

12

R46525

COVER - heater lines

1шт.

13

REF

INSTRUCTION

PAD - cover, center, cut from R30870 bulk, 14-3/8" (365 mm) x 11-5/8" (295 mm)

1шт.

14

R44096

PAD - vinyl covered, black, if used

1шт.

14

R48449

PAD

- vinyl covered, brown, if used

1шт.

15

R44090

COVER

- front, for louvers and dome lamp

1шт.

16

R44091

PAD

- vinyl covered, black, if used

1шт.

16

R48448

PAD

- vinyl covered, brown, if used

1шт.

17

F98149

GUARD

LOUVER - air outlet

3шт.

18

F89772

LAMP

- dome, replace 12 volt bulb with 24 volt bulb, see ref 24

1шт.

19

173-297

SCREW,Phil Rnd Hd, #8 - 32 x 1/4"

MACHINE SCREW - no. 8 - 32 NC x 1/4"

2шт.

20

D71459

LAMP

BULB - dome lamp, 24 volt, no 1591

1шт.

21

151-527

POP RIVET - 5/32" x 1/2" Pop, 5/32" x .517"

4шт.

22

D75876

IGNITION SWITCH

SWITCH - control, dome lamp

1шт.

23

182-522

SCREW,Cross Pan Hd, #6 - 32 x 1/2"

MACHINE SCREW - Phillips, no 6 - 32 NC x 1/2", plated

2шт.

24

113-1

BOLT,Hex, 1/4" - 20 x 1/2", Gr 5

12шт.

25

192-19

LOCK WASHER,Helical Spring, 0.256" ID, CST, ZND

WASHER, LOCK, 1/4"

12шт.

26

195-518

WASHER,1/4", SAE

- flat, 1/4", plated

8шт.

27

113-102

BOLT,Hex, 5/16" - 18 x 3/4", Gr 5

Hex, 5/16"-18 x 3/4", G5, Full Thd

2шт.

28

231-1445

NUT,5/16"-18, GB

NUT - hex, self-locking, 5/16" - 18 NC, plated

2шт.

R30870

PAD

- bulk, 54" (1372 mm) x 72" (1829 mm) x 1" (25 mm)

1шт.

345-44

ADHESIVE

- for attaching foam pads to metal surfaces, spray can, 23 fluid ounces

1шт.

Выбрано товаров: 32