Запчасти Case 850C (260) - D87071 INLET AND OUTLET SECTION (07) - HYDRAULIC SYSTEM

Схема запчастей Case 850C - (260) - D87071 INLET AND OUTLET SECTION (07) - HYDRAULIC SYSTEM
16
5
26
25
28
34
30
29
10
26b
33
11
12
21
2a
20
32
7
31
3
26a
1
3
22
4
24
2
10
14
8
19
6
18
15
17
27
13
23
4
9
FIT
1:1
100%

Артикул

Название

Примечание

Количество

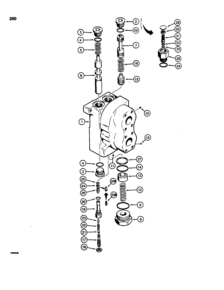
D87071

VALVE

SECTION - inlet and outlet, identification no. 106, used on all models except dozer models with a backhoe, Includes: Ref. 1 - 34

1шт.

The repair main relief valve for the inlet/outlet section is set at 1800 psi. This pressure setting must be changed for loader models and standard 60" (1524mm) gauge dozer models. See the service manual for correct settings.

1шт.

1

NSS

NOT SOLD SEPARAT

BODY - section

1шт.

2

D78466

PLUG

- hex socket, used without dust cap, no longer used, order D87077 plug assembly and D87075 dust cap, Includes: Ref. 2A

1шт.

2a

218-5008

O-RING,0.116" Thk x 0.924" ID, -912, Cl 6, 90 Duro

- plug

1шт.

3

9841223

PLUG,1-1/16" - 12 ORB

Incl. Ref. 4 Hex Soc, 1 1/16"-12 ORB

2шт.

4

218-5008

O-RING,0.116" Thk x 0.924" ID, -912, Cl 6, 90 Duro

- plug

1шт.

5

D78464

SPRING

- regeneration spool

1шт.

6

NSS

NOT SOLD SEPARAT

SPOOL - regeneration

1шт.

7

NSS

NOT SOLD SEPARAT

SPOOL - unloading

1шт.

8

D78462

PLUG

- hex head, Includes: Ref. 9

1шт.

9

218-5011

O-RING,0.118" Thk x 1.475" ID, -920, Cl 6, 90 Duro

- plug

1шт.

10

NSS

NOT SOLD SEPARAT

RESTRICTOR - flow

2шт.

11

D78455

PLUG

- hex socket

1шт.

12

R30171

SPRING

- piston

1шт.

13

D78461

PISTON ASSY.

POPPET - unloading valve

1шт.

14

G34001

O-RING,0.103" Thk x 1.424" ID, -127, Cl 6, 90 Duro

- poppet

1шт.

15

NSS

NOT SOLD SEPARAT

PISTON - unloading valve

1шт.

16

D78458

SPRING

- unloading spool

1шт.

N7805

VALVE PRESSURE RELIE

RELIEF ASSEMBLY - section, Includes: Ref. 17 - 26B

1шт.

17

D78467

ADJUSTMENT SCREW,3/8" - 24 x 1.953"

- relief assembly

1шт.

18

25-156

JAM NUT,Jam, 3/8"-24, G5

- hex, jam, 3/8" - 24 NF

1шт.

19

NSS

NOT SOLD SEPARAT

BODY - relief assembly

1шт.

20

218-5005

O-RING,0.078" Thk x 0.468" ID, -906, Cl 6, 90 Duro

6-1, 90 Duro, .468" ID x .078" Thk, body, inner

1шт.

21

A51274

O-RING,0.145" ID x 0.285" OD

- body, outer

1шт.

22

D78468

SPRING

- plunger

1шт.

23

D78469

PLUNGER

- relief assembly

1шт.

24

L35305

RING

BACKUP RING - O-ring

1шт.

25

A27358

O-RING,0.07" Thk x 0.239" ID, -10, Cl 5, 75 Duro

- seat

1шт.

26

NSS

NOT SOLD SEPARAT

SEAT - plunger

1шт.

26a

NSS

NOT SOLD SEPARAT

FILTER - relief assembly, bronze, cone-shaped, no longer used, replaced by ref 26B

1шт.

26b

NSS

NOT SOLD SEPARAT

FILTER - relief assembly, wire-mesh, cylinder-shaped

1шт.

27

D87079

RING

BACKUP RING - poppet O-ring

1шт.

28

D87075

COVER

CAP - dust

1шт.

D87077

PLUG

ASSEMBLY - used with D87075 dust cap, Includes: Ref. 29 - 34

1шт.

29

NSS

NOT SOLD SEPARAT

PLUG - section

1шт.

30

25-146

JAM NUT,Jam, 3/8"-16, G5

- hex, jam, 3/8" - 16 NC

1шт.

31

NSS

NOT SOLD SEPARAT

SCREW - special

1шт.

32

D87094

BACK-UP RING

BACKUP RING - screw O-ring

1шт.

33

A138385

O-RING,0.07" Thk x 0.301" ID, -11, Cl 6, 90 Duro

- screw

1шт.

34

218-5008

O-RING,0.116" Thk x 0.924" ID, -912, Cl 6, 90 Duro

- plug

1шт.

Выбрано товаров: 41