Запчасти Case 850C (308) - UNDERCARRIAGE GUARDS (05) - UPPERSTRUCTURE CHASSIS

Схема запчастей Case 850C - (308) - UNDERCARRIAGE GUARDS (05) - UPPERSTRUCTURE CHASSIS
3
16
10
2
9
2
15
10a
2
3
14
11
2
3
11
2
13
3
12
4
3
1
5
2
9a
8
12
3
6
7
FIT
1:1
100%

Артикул

Название

Примечание

Количество

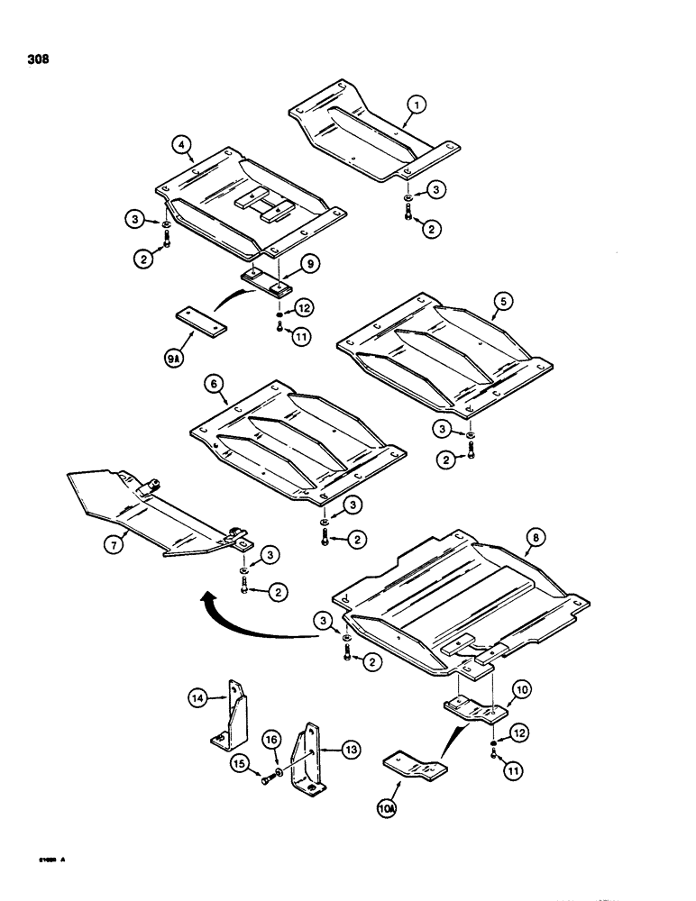
1

R31272

GUARD

- engine, front

1шт.

2

13-1032

BOLT,Hex, 5/8" - 11 x 2", Gr 5

26шт.

3

T53567

BEARING WASHER,16.66mm ID x 33.33mm OD x 3.43mm Thk

WASHER - hardened

26шт.

4

R31271

GUARD ASSY.

GUARD - oil pan

1шт.

5

R31581

GUARD

- drive train, front

1шт.

6

R31580

GUARD

- drive train, rear

1шт.

7

R36235

GUARD

- transmission, rear, used without ripper, winch, drawbar, or rear counterweight

1шт.

8

R46834

GUARD

- transmission, rear, used with ripper, winch, drawbar, or rear counterweight

1шт.

9

R26886

PLATE

COVER - oil drain, engine, with welded-on tapped blocks, if used

1шт.

9a

R48231

COVER

- oil drain, engine, one-piece, if used

1шт.

10

R33343

COVER

- oil drain, transmission, with welded-on tapped block, if used

1шт.

10a

R49641

COVER

- oil drain, transmission, one-piece, if used

1шт.

11

13-612

BOLT,Hex, 3/8" - 16 x 3/4", Gr 5, Full Thd

2-4шт.

12

92-6

LOCK WASHER,3/8"

2-4шт.

13

R45020

BRACKET

- right-hand, R46834 guard mounting, used on loader models with rear counterweight only

1шт.

14

R45022

BRACKET

- left-hand, R46834 guard mounting, used on loader models with rear counterweight only

1шт.

15

13-1224

BOLT,Hex, 3/4" - 10 x 1-1/2", Gr 5

4шт.

16

T53681

WASHER,19.84mm ID x 44.5mm OD x 5.559mm Thk

- hardened

4шт.

Выбрано товаров: 18