Запчасти Case 850G (9-20) - BATTERY COVER AND SEAT MOUNTING PLATE (05) - UPPERSTRUCTURE CHASSIS

Схема запчастей Case 850G - (9-20) - BATTERY COVER AND SEAT MOUNTING PLATE (05) - UPPERSTRUCTURE CHASSIS
5
1
8
6
10
4
3
2
7
9
FIT
1:1
100%

Артикул

Название

Примечание

Количество

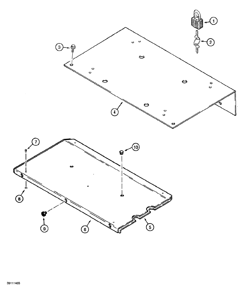
1

D93753

PADLOCK

Includes keys, if used, Includes: Ref. 2

1шт.

2

R29555

KEY

for Master padlock only

2шт.

2

D93751

SET OF 2 KEYS

for Yale padlock only

2шт.

3

160-107

BOLT,Hex, 1/2" - 13 x 1 1/4", Gr 8, Full Thd

2шт.

4

R58423

SUPPORT

seat mounting

1шт.

R58421

COVER ASSY

BATTERY no longer available, Includes: Ref. 5 - 9

1шт.

5

R58420

COVER

PAD battery

1шт.

6

R58419

COVER

battery

1шт.

7

151-522

RIVET,Pop, 3/16" x .575"

Break mandrel

5шт.

8

495-31020

WASHER,#10

Flat (13/64" x 15/32" x 3/64")

5шт.

9

F22426

STOP

BUMPER rubber

3шт.

10

353-404

PLUG,Dome, .500" hole, Nylon

If used

2шт.

Выбрано товаров: 0