Запчасти Case 850G (9-28) - HOOD (05) - UPPERSTRUCTURE CHASSIS

Схема запчастей Case 850G - (9-28) - HOOD (05) - UPPERSTRUCTURE CHASSIS
11
1
11
17
16
2
20
12
14
22
7
3
4
8
19
7
3
6
1a
18
3
10
15
3
9
21
5
13
FIT
1:1
100%

Артикул

Название

Примечание

Количество

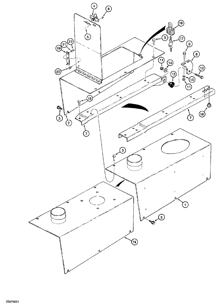
1

R51670

HOOD

right-hand used with 1547970C1 muffler, see Figure 2-18

1шт.

1a

189352A1

HOOD

right-hand used with 182284A1 muffler, see Figure 2-20, Prior to Crawler P.I.N. JJG0254015, except for JJG0254005 through JJG0254009

1шт.

1a

255942A1

HOOD ASSY.

right-hand used with 182284A1 muffler, see Figure 2-20, Crawler P.I.N. JJG0254005 and After

1шт.

2

R51671

HOOD

left-hand

1шт.

3

160-106

BOLT,Hex, 1/2" - 13 x 1", Gr 8, Full Thd

12шт.

4

L102515

LATCH

air cleaner access door, Replaces: R51672

1шт.

5

470-1108

SCREW,Slotted Pan Hd, #10-24 x 1/2"

machine, pan head slotted, No. 10 NC x 1/2 inch

2шт.

6

F45165

SPECIAL NUT,#10-24

hex, self-locking, special, No. 10 NC

2шт.

7

R51760

SUPPORT

center, hood mounting, Prior to Crawler P.I.N. JJG0254015, except for JJG0254005 through JJG0254009

1шт.

7

281879A1

ANGLE

BRACKET center, hood mounting, Crawler P.I.N. JJG0254005 through JJG0254009, JJG0254015 and after

1шт.

8

R53987

SUPPORT

angle, hood retainer, front, bolts to radiator top cover

1шт.

9

160-109

BOLT,Hex, 1/2" - 13 x 1 3/4", Gr 8

hex flange, 1/2 NC x 1-3/4 inch, grade 8

2шт.

10

R24323

WASHER

flat, special

2шт.

11

231-1448

NUT,1/2"-13, GB

hex, NC

3шт.

12

413-836

BOLT,Hex, 1/2" - 13 x 2-1/4", Gr 5

1шт.

13

CASL13142

BUSHING

MOUNT isolator, rubber

1шт.

14

D25022

WASHER

flat, special, 17/32 x 1-3/4 x 3/16 inch

1шт.

15

160-107

BOLT,Hex, 1/2" - 13 x 1 1/4", Gr 8, Full Thd

7шт.

16

D93753

PADLOCK

Includes: Ref. 17

1шт.

17

R29555

KEY

for Master padlock only

2шт.

17

D93751

SET OF 2 KEYS

for Yale padlock only

2шт.

18

R54996

SPACER

front mounting holes

2шт.

19

R50492

SUPPORT

stop, air cleaner access door, used on models with a cab only

1шт.

20

121-130

SERRATED BOLT,Hex, 5/16" - 18 x 3/4", Gr 5

Used on models with a cab only

2шт.

21

492-11031

LOCK WASHER,5/16"

Used on models with a cab only

2шт.

22

425-105

NUT,5/16"-18, G5

Used on models with a cab only

2шт.

Выбрано товаров: 0