Запчасти Case 850G (9-30) - INSTRUMENT PANEL COVERS (05) - UPPERSTRUCTURE CHASSIS

Схема запчастей Case 850G - (9-30) - INSTRUMENT PANEL COVERS (05) - UPPERSTRUCTURE CHASSIS
3
4
11
6
11
2
8
10
1
9
7
5
12
FIT
1:1
100%

Артикул

Название

Примечание

Количество

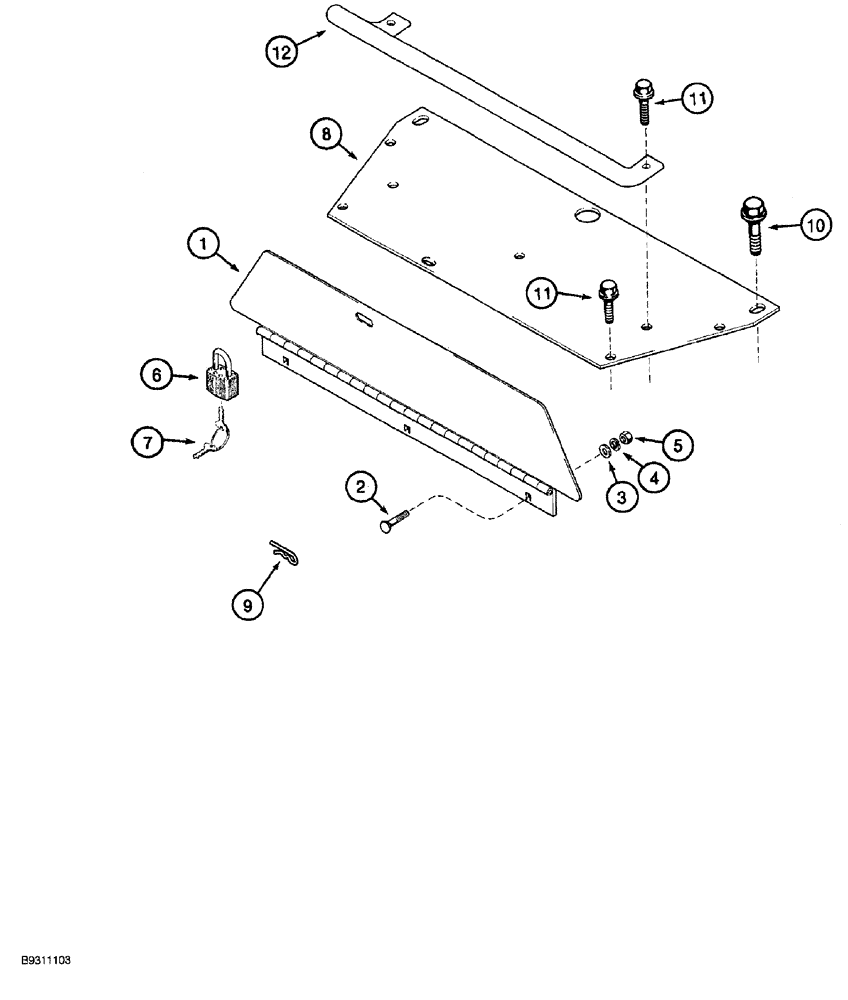
1

R58347

COVER

instrument panel lockup

1шт.

2

A42923

CARRIAGE BOLT

carriage, special, 5/16 NC x 27/32 inch

3шт.

3

495-11034

WASHER,5/16", SAE

(flat, 11/32 x 11/16 x 1/16")

3шт.

4

492-11031

LOCK WASHER,5/16"

3шт.

5

425-105

NUT,5/16"-18, G5

3шт.

6

D93753

PADLOCK

Includes: Ref. 7

1шт.

7

R29555

KEY

for Master padlock only, if used

2шт.

7

D93751

SET OF 2 KEYS

for Yale padlock only, if used

2шт.

8

107463A1

COVER

gauges, top, with or without cab

1шт.

9

136-159

HAIR PIN COTTER,Int, 3/16 x .080"

1шт.

10

160-107

BOLT,Hex, 1/2" - 13 x 1 1/4", Gr 8, Full Thd

2шт.

11

160-102

BOLT,Hex, 3/8" - 16 x 1", Gr 8, Full Thd

7шт.

12

R58279

RAIL

bolt-on hand

1шт.

Выбрано товаров: 0