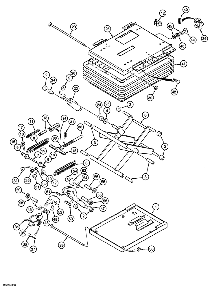
Запчасти Case 850G (9-44) - SUSPENSION SEAT ASSEMBLY (05) - UPPERSTRUCTURE CHASSIS

Схема запчастей Case 850G - (9-44) - SUSPENSION SEAT ASSEMBLY (05) - UPPERSTRUCTURE CHASSIS
12
18
2
1
51
22
50
36
52
17
46
43
2
41
16
45
13
40
9
6
14
26
35
10
11
56
54
43
42
55
2
44
8
17
31
16
32
38
54
31
47
28
24
15
33
55
39
2
30
10
23
59
48
7
56
4
37
58
53
34
8
21
24
3
5
30
29
29
25
3
9
57
FIT
1:1
100%

Артикул

Название

Примечание

Количество

1340220C1

SEAT ASSY.

SUSPENSION brown, includes parts on figures 9-42 and 9-45A, Includes: Ref. 1 - 59

1шт.

175764A1

SEAT ASSY.

SUSPENSION gray vinyl, includes parts on figures 9-42 and 9-45A, Includes: Ref. 1 - 59

1шт.

1981819C2

PACKAGE

KIT suspension, also includes parts on figure 9-45A, Includes: Ref. 1 - 59

1шт.

1

1981787C1

CASE

HOUSING lower

1шт.

1344249C1

KIT

KIT tube and bearing, also Includes 3 additional bearings not used in this application, Includes: Ref. 2 - 5

1шт.

2

NSS

NOT SOLD SEPARAT

ROLLER suspension

6шт.

3

A47760

BUSHING

TUBE bearing

4шт.

4

A45110

WASHER

special plastic

1шт.

5

131-425

PUSH-ON NUT,Push, 1/2"

1шт.

6

1981789C1

DIPPER

ARM suspension

1шт.

7

128115A1

SHAFT

spring

1шт.

123968A2

PACKAGE

KIT weight adjustment spring, Replaces: 123968A1, Includes: Ref. 8 - 10

1шт.

8

NSS

NOT SOLD SEPARAT

SPRING extension

2шт.

9

NSS

NOT SOLD SEPARAT

BUSHING spring

2шт.

10

NSS

NOT SOLD SEPARAT

RING retaining

2шт.

1999901C2

PACKAGE

KIT weight adjusting guide, indicator, Includes: Ref. 11 - 14

1шт.

11

NSS

NOT SOLD SEPARAT

SPRING weight adjusting

1шт.

12

1981807C1

GUIDE

ADJUSTMENT weight, indicator

1шт.

13

NSS

NOT SOLD SEPARAT

TAPE weight adjustment indicator

1шт.

14

151-537

RIVET,Pop, 1/8" x .650"

MANDREL break, 1/8 x 21/32 inch

1шт.

1987116C2

PACKAGE

weight adjuster, Includes: Ref. 15 - 22

1шт.

15

128115A1

SHAFT

SPRING

1шт.

16

NSS

NOT SOLD SEPARAT

BUSHING spring

2шт.

17

NSS

NOT SOLD SEPARAT

RING retaining

2шт.

18

NSS

NOT SOLD SEPARAT

BAR spring

1шт.

19

NSS

NOT SOLD SEPARAT

NUT adjusting, not shown

1шт.

21

NSS

NOT SOLD SEPARAT

PIN roll, 5/32 x 5/8 inch

1шт.

22

NSS

NOT SOLD SEPARAT

SPACER adjusting

1шт.

1344250C2

KIT

shock absorber, Includes: Ref. 23 - 27

1шт.

23

NSS

NOT SOLD SEPARAT

SHOCK seat

1шт.

24

A45501

BUSHING,0.504" ID x 0.87" OD x 1.417"

BEARING shock absorber

2шт.

25

A45110

WASHER

SPECIAL plastic

1шт.

26

131-425

PUSH-ON NUT,Push, 1/2"

1шт.

27

NSS

NOT SOLD SEPARAT

BUSHING shock, not shown

1шт.

28

1981821C1

HOUSING

upper

1шт.

29

A49529

SHAFT

bushing tube

2шт.

30

230-4216

LOCK NUT,3/8"-16, GA

2шт.

31

1981793C1

BUMPER

seat

2шт.

32

440-11010

SCREW,Phillips Drive, Pan HD, #10 - 24 x 5/8"

2шт.

33

230-42409

NUT,#10-24, GA

hex, self-locking, No. 10 NC

2шт.

123966A1

PACKAGE

height adjustment, Includes: Ref. 34 - 37

1шт.

34

NSS

NOT SOLD SEPARAT

SPRING height adjusting

1шт.

35

NSS

NOT SOLD SEPARAT

STRAP tie

1шт.

36

NSS

NOT SOLD SEPARAT

SPACER spring

1шт.

37

NSS

NOT SOLD SEPARAT

PIN roll, 3/16 x 3/4 inch

1шт.

1981819C2

PACKAGE

suspension, continued from previous figure, Includes: Ref. 38 - 59

1шт.

123969A1

SEAT ACCESSORY

Kit, Knob and shaft assy, Incl Ref. 38 - 40

1шт.

38

NSS

NOT SOLD SEPARAT

SHAFT adjusting

1шт.

39

NSS

NOT SOLD SEPARAT

KNOB weight adjustment control

1шт.

40

38-11016

LOCK PIN,5/32" x 1", Slotted

1шт.

1981786C1

KIT

boot, suspension, Includes: Ref. 41 and 42

1шт.

41

NSS

NOT SOLD SEPARAT

SEAT

1шт.

42

132872A1

KIT

Boot pin, package of 23 retainers and 3 dome nuts

1шт.

43

495-11034

WASHER,5/16", SAE

(flat, 11/32 x 11/16 x 1/16")

2шт.

44

1974732C1

WASHER

flat, 25/64 x 1-1/8 x 1/8 inch

1шт.

45

NSS

NOT SOLD SEPARAT

RACE thrust

2шт.

46

F13537

THRUST BEARING

thrust

1шт.

119001A1

ARMREST ASSY.

CAM, Includes: Ref. 47 - 51

1шт.

47

1981792C1

ARM

mounting

1шт.

48

NSS

NOT SOLD SEPARAT

LATCH cam arm

1шт.

49

NSS

NOT SOLD SEPARAT

RIVET solid, not shown

1шт.

50

NSS

NOT SOLD SEPARAT

PIN roll

1шт.

51

NSS

NOT SOLD SEPARAT

PIN roll

1шт.

123967A1

PACKAGE

cam follower, Includes: Ref. 52 - 59

1шт.

52

NSS

NOT SOLD SEPARAT

CAM low profile

1шт.

53

NSS

NOT SOLD SEPARAT

BEARING cam follower

1шт.

54

NSS

NOT SOLD SEPARAT

SPACER bearing

2шт.

55

NSS

NOT SOLD SEPARAT

PIN cam

2шт.

56

NSS

NOT SOLD SEPARAT

RING retaining

4шт.

57

NSS

NOT SOLD SEPARAT

BEARING cam follower

1шт.

58

NSS

NOT SOLD SEPARAT

PIN cam

1шт.

59

NSS

NOT SOLD SEPARAT

RING retaining

2шт.

Выбрано товаров: 72