Запчасти Case 850G (8-44) - LIFT SECTION (07) - HYDRAULIC SYSTEM

Схема запчастей Case 850G - (8-44) - LIFT SECTION (07) - HYDRAULIC SYSTEM
13
7
17
3
11
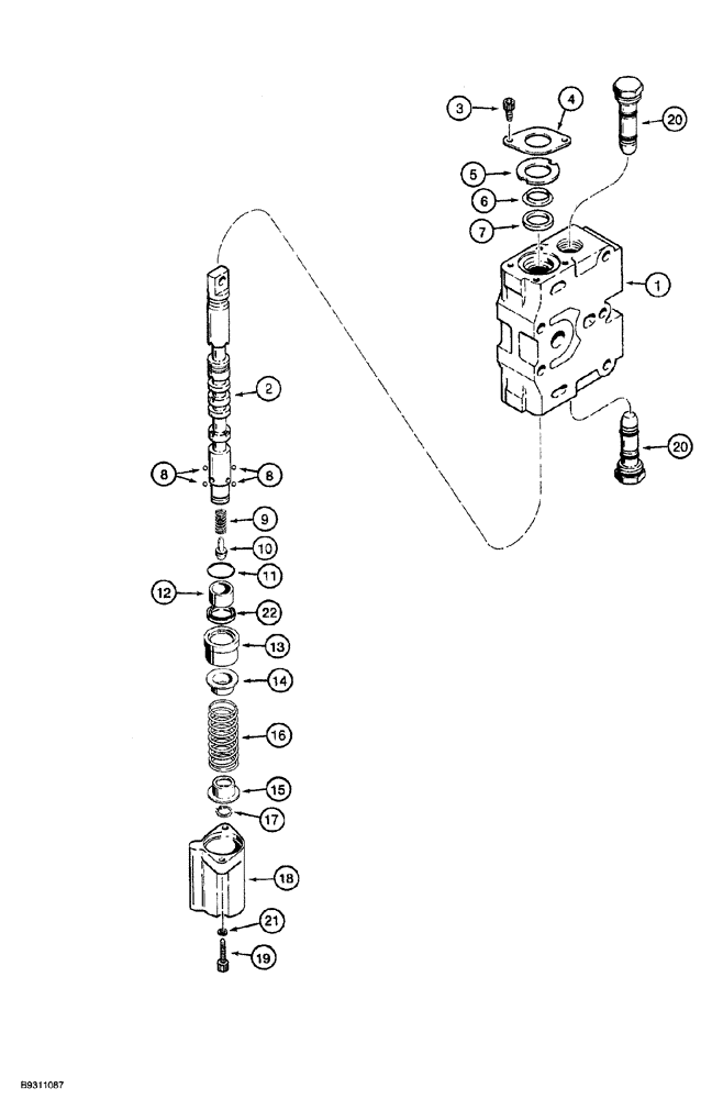
1
8
19
18
22
10
20
6
21
16
14
12
9
20
8
2
15
5
4
FIT
1:1
100%

Артикул

Название

Примечание

Количество

136641A1

HYD VALVE SECTION

ASSEMBLY lift, if used, Includes: Ref. 1 - 22

1шт.

1

NSS

NOT SOLD SEPARAT

HOUSING section

1шт.

2

NSS

NOT SOLD SEPARAT

SPOOL section

1шт.

3

61-3258

HEX SOC SCREW,1/4"-20 x 1/2"

hex socket, 1/4 NC x 1/2 inch

2шт.

4

N8194

LARGE PLATE

PLATE, LARGE retainer, outer

1шт.

5

136898A1

RETAINER

spool seal

1шт.

6

136900A1

WIPER SEAL

WIPER spool

1шт.

7

100850A1

SEAL

lip, spool and detent sleeve, Replaces: 136902A1

1шт.

8

S301095

BALL

steel, 7/32 inch diameter

4шт.

9

100848A1

SPRING

detent, 7/16 O.D. x 5/64 inch long

1шт.

10

N7035

VALVE POPPET

detent

1шт.

11

238-5121

O-RING,0.103" Thk x 1.049" ID, -121, Cl 5, 75 Duro

1шт.

12

S301097

SLEEVE VALVE

spool

1шт.

13

100847A1

SLEEVE

detent

1шт.

14

100845A1

COLLAR

spring, upper

1шт.

15

N7033

SEAT

spring,lower

1шт.

16

100846A1

SPRING

centering, spool

1шт.

17

100-1162

SNAP RING,#62, Ext

1шт.

18

S301093

CAP

spool detent, Replaces: 136896A1

1шт.

19

61-32514

HEX SOC SCREW,1/4"-20 x 7/8"

hex socket, 1/4 NC x 7/8 inch

2шт.

20

D87307

VALVE

ASSEMBLY load check, parts list figure 8-48

2шт.

The lower load check valve may have been replaced with 122119A1 anti-cavitation check valve, if your machine is equipped with optional field installed 235418A1 low pressure regeneration kit. See Figure 8-08 and 8-09A for hydraulic line routing to determine if your machine is equipped with this kit. See parts list page 8-49 for service parts of 122119A1 anti-cavitation check valve.

1шт.

21

492-11025

LOCK WASHER,1/4"

2шт.

22

100850A1

SEAL

lip, detent sleeve

1шт.

Выбрано товаров: 24