Запчасти Case 850G (3-04) - FUEL TANK (02) - FUEL SYSTEM

Схема запчастей Case 850G - (3-04) - FUEL TANK (02) - FUEL SYSTEM
19
28
16a
8
17
20
13
23
7
9
11
10
25
5
15
27
29
12
26
21
3
18
1
4
14
24
16
6
FIT
1:1
100%

Артикул

Название

Примечание

Количество

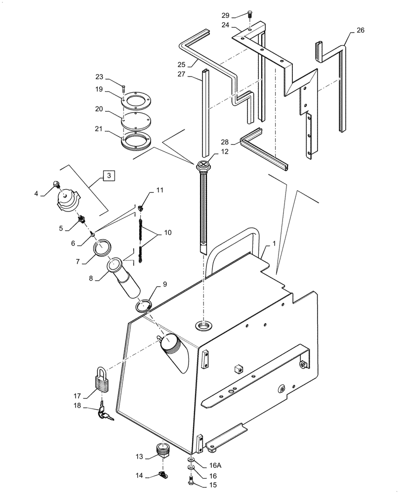
255302A1

TANK

ASSEMBLY fuel, Replaces: R57900, see figure 3-7A, Ref. 12, for adapter used on models with emission engines, Includes: Ref. 1 and 3

1шт.

1

NSS

NOT SOLD SEPARAT

fuel tank

1шт.

3

R57981

FILLER CAP

fuel tank, Incl 4, 5

1шт.

4

R57888

FILTER

air inlet

1шт.

5

A50096

VALVE

relief

1шт.

6

301-14712

SCREW,Drive, #12 x 3/4"

Round head

1шт.

7

R49868

GASKET,72mm ID x 90mm OD x 3mm Thk

fuel cap, rubber

1шт.

8

R51771

STRAINER ASSY.

fuel

1шт.

9

103-21300

SNAP RING,3.00", Int, #300

Chain

1шт.

10

R47786

CHAIN (CE)

filler cap

1шт.

11

R48634

FASTENER

HOOK chain

1шт.

12

R49775

FUEL GAUGE

tank

1шт.

13

R27578

PLUG

fuel tank, drain

1шт.

14

217-81

VALVE

fuel tank drain, 1/8 inch PT

1шт.

15

413-1016

BOLT,Hex, 5/8" - 11 x 1", Gr 5

hex, 5/8 NC x 1 inch

8шт.

16

496-21066

WASHER,16.6mm ID x 33.5mm OD x 3.8mm Thk

Hardened

8шт.

16a

D44330

SHIM,.031" Thk

(21/32" ID x 1-1/4" OD)

6шт.

17

D93753

PADLOCK

includes keys, Includes: Ref. 18

1шт.

18

R29555

KEY

for Master padlock only, if used

2шт.

18

D93751

SET OF 2 KEYS

for Yale padlock only, if used

2шт.

19

R53852

RING

retainer, fuel gauge cover

1шт.

Parts used only on models with a cab.

1шт.

20

R51354

COVER

fuel gauge, clear plastic

1шт.

Parts used only on models with a cab.

1шт.

21

R53234

GASKET

fuel gauge, cover

1шт.

Parts used only on models with a cab.

1шт.

23

260-16512

SELF-TAP SCREW,Cross Pan Hd, #10 x 3/4"

4шт.

Parts used only on models with a cab.

1шт.

24

1999346C1

FRAME ASSY

fuel tank, seal, Includes: Ref. 25 - 28

1шт.

Parts used only on models with a cab.

1шт.

25

1999832C1

SEAL

fuel tank, molding, 410 mm (16-1/8 inch) long

1шт.

Parts used only on models with a cab.

1шт.

26

1999833C1

SEAL

vertical, front, 740 mm (29-1/8 inch) long

1шт.

Parts used only on models with a cab.

1шт.

27

1999834C1

SEAL

vertical, rear, 552 mm (21-3/4 inch) long, order Ref. 26, 1999833C1 and, Serial Range: cut-length

1шт.

Parts used only on models with a cab.

1шт.

28

1999835C1

SEAL

horizontal front, 410 mm (16-1/8 inch) long, order Ref. 26, 1999833C1 and, Serial Range: cut-length

1шт.

Parts used only on models with a cab.

1шт.

29

161-105

HEX SOC SCREW,Btn Hd, 5/16" - 18 x 3/4"

hex socket button head, 5/16 NC x 3/4 inch

16шт.

Parts used only on models with a cab.

1шт.

Выбрано товаров: 40