Запчасти Case 850G (3-06) - FUEL LINES (PRIOR TO P.I.N. JJG0254015, EXCEPT FOR JJG0254005 TO JJG0254009) (02) - FUEL SYSTEM

Схема запчастей Case 850G - (3-06) - FUEL LINES (PRIOR TO P.I.N. JJG0254015, EXCEPT FOR JJG0254005 TO JJG0254009) (02) - FUEL SYSTEM
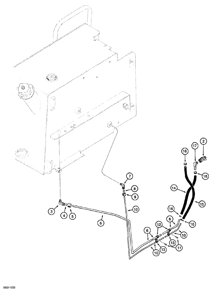
3
4
6
14
16
16
10
7
11
13
6
16
15
13
6
16
12
9
10
10
17
8
5
2
FIT
1:1
100%

Артикул

Название

Примечание

Количество

2

113092A1

VALVE

fuel tank, shutoff

1шт.

222-45

ELBOW,90 Degree, 9/16"-24 Fem x 1/4"-27 NPTF

ELBOW 90 degree, compression, 5/16 tube O.D. x 1/4 inch PT, Includes: Ref. 3 - 5

1шт.

3

NSS

NOT SOLD SEPARAT

BODY elbow

1шт.

4

222-103

SLEEVE,5/16" Tube

1шт.

5

222-113

TUBE NUT,9/16"-24

hex, 5/16 tube OD x 9/16-24 inch

1шт.

6

R57877

FUEL TUBE,0.312" OD

SUPPLY fuel, 5/16 inch O.D.

1шт.

222-43

ELBOW,90 Degree, 1/2"-24 Fem x 1/4"-27 NPTF

ELBOW 90 degree, compression, 1/4 tube O.D. x 1/4 inch PT, Includes: Ref. 7 - 9

1шт.

7

NSS

NOT SOLD SEPARAT

BODY elbow

1шт.

8

222-102

SLEEVE,1/4" Tube

1шт.

9

87017024

TUBE NUT,1/2"-24

hex, 1/4 tube O.D. x 1/2-24 inch

1шт.

10

R57878

FUEL TUBE,0.25" OD

fuel return, 1/4 inch O.D.

1шт.

11

121-131

SERRATED BOLT,Hex, 5/16" - 18 x 1/2", Gr 5

2шт.

12

515-2379

CLAMP,5/16", Insul, 3/8" Bolt

P-Type

2шт.

13

515-2363

CLAMP,M6.3, Insul, 3/8" Bolt

P-type, 1/4 inch ID

2шт.

14

104228A1

FUEL HOSE,7.93 mm ID x 250.00 mm, SAE 30R3

Supply, Fuel tank to lift pump

1шт.

15

S119600

FUEL HOSE,0.19" ID x 10.00", SAE 30R3

Return, Filter to Fuel Tank, Cut from Bulk Hose, See below

1шт.

For complete engine overhaul, order (1) each of valve grind kit, figure 2-52, cylinder block kit, oil pan kit, figure 2-34, front and rear crankshaft seal kit, figure 2-46 and required cylinder head gasket, figure 2-36.

1шт.

16

214-1404

HOSE CLAMP,#04, 0.25" - 0.62", Type F Worm

adj, 1/4 - 5/8 inch dia.

4шт.

17

217-295

FITTING,90 Degree Elbow, 5/16" Hose Barb x 1/4" Male NPTF

ELBOW at fuel pump, 90 degree, 5/16 stem end x 1/4 inch PT

1шт.

S118575X

HOSE

bulk, 5 (3/16) x 10 (3/8) x 7620 mm (300 inch) long

1шт.

Выбрано товаров: 20