Запчасти Case 850H (09-12) - COVER, BATTERY - PLATE, SEAT (09) - CHASSIS

Схема запчастей Case 850H - (09-12) - COVER, BATTERY - PLATE, SEAT (09) - CHASSIS
4
5
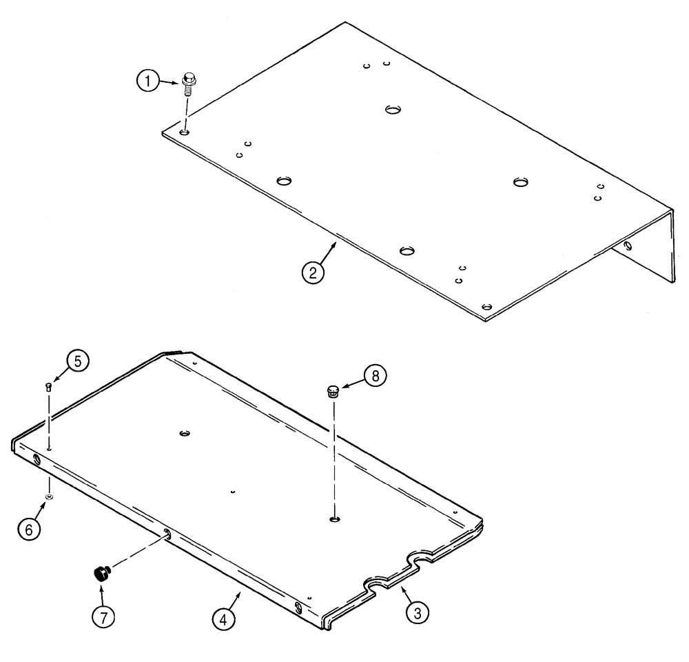
2
3
1
8
6
7
FIT
1:1
100%

Артикул

Название

Примечание

Количество

1

160-107

BOLT,Hex, 1/2" - 13 x 1 1/4", Gr 8, Full Thd

4шт.

2

R58423

SUPPORT

seat

1шт.

R58421

COVER ASSY

Battery, Consists Of 3 - 7, Not Available As An Assembly, Order Components

1шт.

3

R58420

COVER

pad

1шт.

4

R58419

COVER

1шт.

5

151-522

RIVET,Pop, 3/16" x .575"

3/16 x 7/32

5шт.

6

495-31020

WASHER,#10

(13/64" x 15/32" x 3/64")

5шт.

7

F22426

STOP

bumper

3шт.

8

353-404

PLUG,Dome, .500" hole, Nylon

2шт.

Выбрано товаров: 9