Запчасти Case 850H (09-25) - CAB - DOORS (09) - CHASSIS

Схема запчастей Case 850H - (09-25) - CAB - DOORS (09) - CHASSIS
18
8
2
14
10
16
22
3
13
7
20
12
18
21
19
15
17
6
5
11
FIT
1:1
100%

Артикул

Название

Примечание

Количество

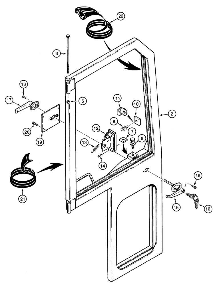
1

189642A1

DOOR

Left Hand, Not Illustrated

1шт.

2

189643A1

DOOR

Right Hand

1шт.

3

424-6160

BOLT,Hex, 3/8" - 16 x 10", Gr 2

4шт.

5

231-1446

NUT,3/8" - 16, Gr 5

4шт.

6

R51754

STRIKER

On Door Frame

2шт.

7

1340380C1

LARGE PLATE

PLATE, LARGE

2шт.

8

R51754

STRIKER

On Cab Frame

2шт.

10

1340381C1

LARGE PLATE

PLATE, LARGE

2шт.

11

R51756

PROTECTOR

2шт.

R55000

LATCH ASSY.

Right Hand, Includes: 12, 13

1шт.

R55001

LATCH ASSY.

Left Hand, Includes: 12, 13

1шт.

12

NSS

NOT SOLD SEPARAT

Latch

1шт.

13

A180163

SPRING

Used On Right And Left Hand Latches

1шт.

14

143-101

SCREW,Cross Rec Flat Hd, Csk, 1/4" - 20 x 1", W/ Nylon Insert

8шт.

15

1343909C1

HANDLE

Includes: 16

2шт.

16

D88772

KEY

Set Of Two

1шт.

17

D88773

HANDLE

Inner

2шт.

18

442-11010

SCREW,Cross Oval Hd, #10-24 x 5/8"

No. 10 x 5/8

8шт.

19

N8706

LARGE PLATE

PLATE, LARGE cover

2шт.

20

264-2056

SELF-TAP SCREW,Slotted Pan Hd, #10 x 3/8"

No. 10 x 3/8

8шт.

21

R51710

SEAL

4300 mm (169-5/16 in), Cut From: N6453

2шт.

22

R51711

SEAL

3000 mm (118-1/8 in), Cut From: S118469X

2шт.

Выбрано товаров: 22