Запчасти Case 850H (05-07) - TRACK GUARDS (11) - TRACKS/STEERING

Схема запчастей Case 850H - (05-07) - TRACK GUARDS (11) - TRACKS/STEERING
2
12
6
8
5
7
13
1
7
17
16
14
3
9
FIT
1:1
100%

Артикул

Название

Примечание

Количество

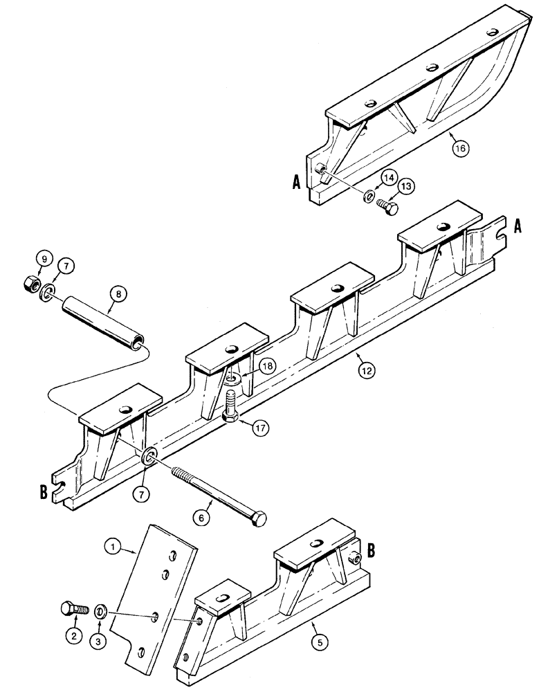
1

R56637

COVER

Sprocket, Rear

1шт.

2

106-91020

LOCK BOLT,Locking, 5/8"-11 x 1 1/4", G5, Full Thd

16шт.

3

96-21066

WASHER,21/32" x 1 5/16" x .150", HDN

21/32 x 1-5/16 x 5/32

16шт.

4

R56633

GUARD

Left Hand Rear, Not Illustrated

2шт.

5

R56646

GUARD

Right Hand Rear

2шт.

6

413-12152

BOLT,Hex, 3/4" - 10 x 9-1/2", Gr 5

8шт.

7

D34666

WASHER,33.34mm ID x 63.5mm OD x 2.38mm Thk

16шт.

8

D35698

SPACER

8шт.

9

231-41112

LOCK NUT,3/4"-10, GB

8шт.

11

R55833

GUARD

Center, Left Hand, Not Illustrated

2шт.

12

R55832

GUARD

Center, Right Hand

2шт.

13

106-9820

LOCK BOLT,Locking, 1/2"-13 x 1 1/4", G5, Full Thd

8шт.

14

D64050

WASHER

8шт.

15

R56620

GUARD

Left Hand Front, Not Illustrated

2шт.

16

R56629

GUARD

Right Hand Front

2шт.

17

106-91224

LOCK BOLT,Locking, 3/4"-10 x 1 1/2", G5, Full Thd

36шт.

18

D34666

WASHER,33.34mm ID x 63.5mm OD x 2.38mm Thk

36шт.

Выбрано товаров: 17