Запчасти Case 850K (09-06) - COUNTERWEIGHT, FRONT - HOOK, TOWING (09) - CHASSIS/ATTACHMENTS

Схема запчастей Case 850K - (09-06) - COUNTERWEIGHT, FRONT - HOOK, TOWING (09) - CHASSIS/ATTACHMENTS
8
11
1
9
4
8
5
12
3
3
6
7
2
10
FIT
1:1
100%

Артикул

Название

Примечание

Количество

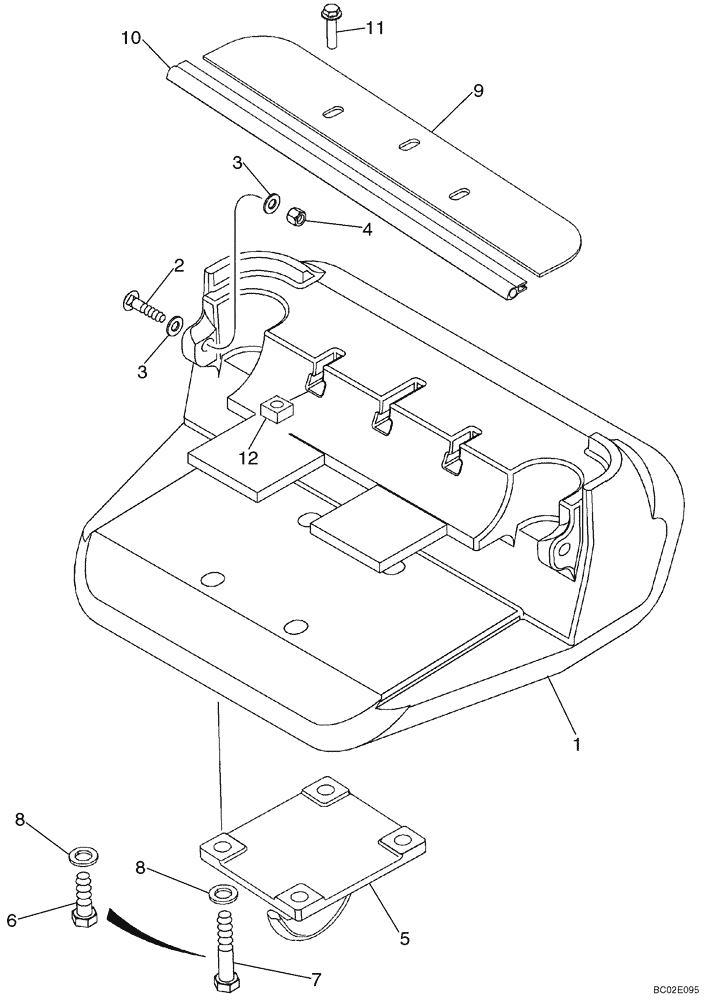
1

369473A3

COUNTERWEIGHT

Counterweight; Front; If Equipped; Replaces 369473A2

1шт.

2

811-12060

CARRIAGE BOLT,Sht Sq Nk, M12 x 1.75 x 60mm, Cl 8.8

2шт.

3

896-11012

WASHER,13.5mm ID x 24mm OD x 3mm Thk

4шт.

4

832-10412

NUT,M12 x 1.75, Cl 8

2шт.

5

450473A1

HOOK

Towing

1шт.

6

627-20060

BOLT,Hex, M20 x 2.5 x 60mm, Cl 10.9, Full Thd

Used without 369473A2, 369473A3

4шт.

7

627-20110

BOLT,Hex, M20 x 2.5 x 110mm, Cl 10.9, Full Thd

Used with 369473A2, 369473A3

4шт.

8

896-11020

WASHER,22mm ID x 37mm OD x 4mm Thk

22 x 37 x 4 mm

4шт.

9

450730A1

PLATE

Lower Radiator; Used With Front Counterweight

1шт.

10

432943A1

SEAL

1шт.

11

844-12050

BOLT,Hex, M12 x 50mm, Cl 8.8

3шт.

12

L116823

NUT

3шт.

Выбрано товаров: 12