Запчасти Case 850K (09-37) - CAB - HEATER AND AIR CONDITIONING (09) - CHASSIS/ATTACHMENTS

Схема запчастей Case 850K - (09-37) - CAB - HEATER AND AIR CONDITIONING (09) - CHASSIS/ATTACHMENTS
FIT
1:1
100%

Артикул

Название

Примечание

Количество

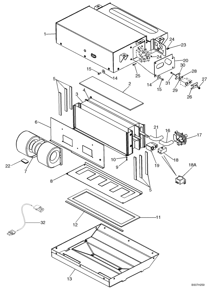
87400678

HEATER ASSY.

Incl. 1 - 31

1шт.

1

87333902

HOUSING

Housing; Blower; Includes (10) 86982574 Threaded Inserts; Replaces 87400665 Housing Without Threaded Inserts

1шт.

86982574

THREADED INSERT

10шт.

2

87400666

SEAL

Foam Insulation

1шт.

3

87400670

RADIATOR

AC Evaporator

1шт.

4

87400671

CORE-COMPRESSOR

Heater

1шт.

5

87400672

SEAL

Foam Insulation

6шт.

6

87400667

SUPPORT

Blower

1шт.

7

87400736

BLOWER

12V, Includes Ref. 22 Resistor

1шт.

87400736R

REMAN-BLOWER

850K SERIES 2 CRAWLER (TIER 2) (1/05-)

1шт.

87400736C

CORE-BLOWER

Return Number

1шт.

8

87400669

SUPPORT

Core

1шт.

9

840-1410

SCREW,Pan, M4 x 10mm, Cl 4.8

6шт.

10

895-11004

WASHER,4.3mm ID x 9mm OD x 0.8mm Thk

6шт.

11

87400675

SEAL

Foam Insulation

1шт.

12

87400674

SEAL

Foam Insulation

1шт.

13

87333911

COVER

Blower; Includes (6) 86982574 Threaded Inserts; Replaces 87400668 Cover Without Threaded Inserts

1шт.

86982574

THREADED INSERT

6шт.

14

895-15006

WASHER,6.6mm ID x 25mm OD x 1.6mm Thk

14шт.

15

614-6020

BOLT,Hex, M6 x 1 x 20mm, Cl 8.8, Full Thd

14шт.

16

87400677

HEATER HOSE,20.00 mm ID x 40.00 mm

Heater Connection

1шт.

17

87422746

VALVE

12V

1шт.

18

76049691

THERMOSTATIC SWITCH

AC, Ranco Brand; If Used

1шт.

18a

86505792

THERMOSTATIC SWITCH

AC, Eaton Brand; If Used

1шт.

19

71485277

HYDRAULIC VALVE

AC Expansion

1шт.

20

87400676

COVER PLATE

1шт.

21

76067789

HEATER HOSE,16.00 mm ID x 30.00 mm

1шт.

22

87439843

RESISTOR

1шт.

23

832-10404

NUT,M4 x 0.7, Cl 8.8

2шт.

24

895-11004

WASHER,4.3mm ID x 9mm OD x 0.8mm Thk

4шт.

25

840-1410

SCREW,Pan, M4 x 10mm, Cl 4.8

2шт.

26

71485280

FLANGE

1шт.

27

840-1616

SCREW,Pan, M6 x 16mm, Cl 4.8

1шт.

28

128484A1

O-RING,0.07" Thk x 0.426" ID, -13, Cl 5, 70 Duro

1шт.

29

128485A1

O-RING,1.78mm Thk x 14mm ID, 70 Duro

1шт.

30

71485281

FLANGE

1шт.

31

864-5030

HEX SOC SCREW,M5 x 30mm, Cl 8.8

2шт.

32

87736628

WIRE HARNESS

Blower Motor

1шт.

Выбрано товаров: 38