Запчасти Case 850K (02-30) - ENGINE, OIL (02) - ENGINE

Схема запчастей Case 850K - (02-30) - ENGINE, OIL (02) - ENGINE
6
3
4
11
5
7
10
6
1
13
14
14
2
12
8
8
7
1
9
FIT
1:1
100%

Артикул

Название

Примечание

Количество

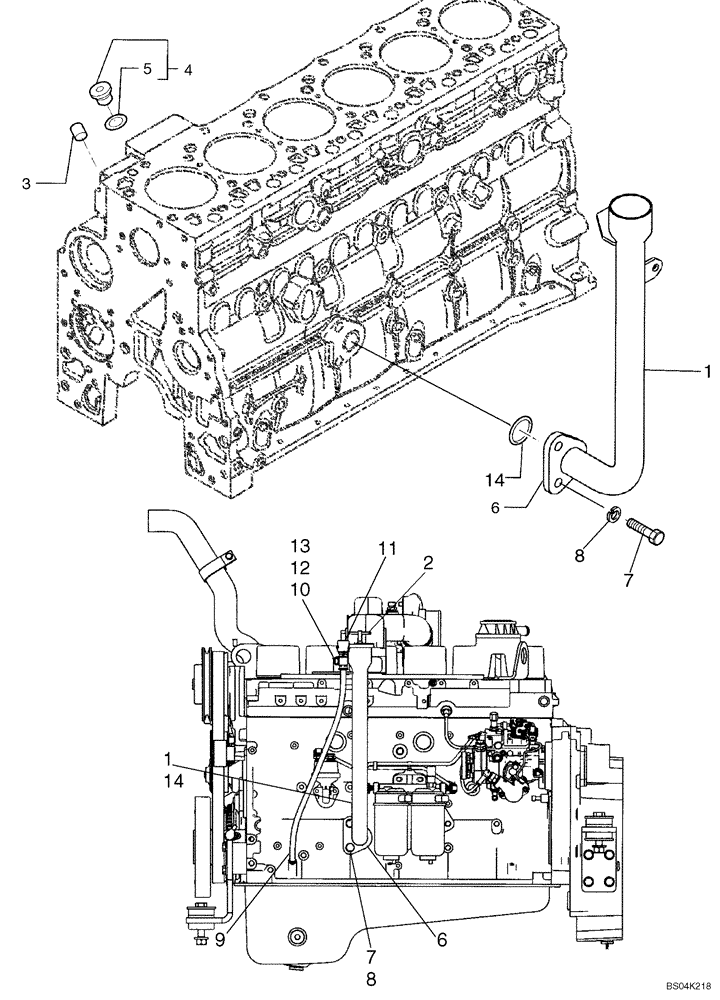
1

87432568

TUBE,407.5 mm L

Tube, Engine Oil Fill; Not Included In Engine Assembly, Purchase Separately

1шт.

2

L115504

CAP

Not Included In Engine Assembly, Purchase Separately

1шт.

3

4895406

EXPANSION PLUG,9.8mm OD

Replaces 4899036

2-3шт.

4

4897330

HEX SOCKET PLUG,M12 x 1.5

Incl. Ref 5

2шт.

5

4895610

O-RING,2.2mm Thk x 9.3mm ID

1шт.

6

2852995

FLANGE

1шт.

7

2852134

FLANGE BOLT,Hex, M12 x 1.75 x 25mm

2шт.

8

892-11012

LOCK WASHER,M12

Not Included In Engine Assembly, Purchase Separately

2шт.

9

87452830

DIPSTICK

Engine Oil Fill; Not Included In Engine Assembly, Purchase Separately

1шт.

10

515-23190

CLAMP,3/4", Insul, 3/8" Bolt

Not Included In Engine Assembly, Purchase Separately

1шт.

11

614-8020

BOLT,Hex, M8 x 1.25 x 20mm

Not Included In Engine Assembly, Purchase Separately

1шт.

12

895-11008

WASHER,9mm ID x 16mm OD x 1.6mm Thk

Not Included In Engine Assembly, Purchase Separately

2шт.

13

832-10408

NUT,M8 x 1.25, Cl 8.8

Not Included In Engine Assembly/ Purchase Separately

1шт.

14

14458681

O-RING,1.487" ID x 0.103" Width

Replaces 2852135

1шт.

2853057

PLUG

1шт.

4899150

Plug, Alternate, Serial Range: Part-2853057

1шт.

Выбрано товаров: 16