Запчасти Case 850K (06-12) - HYDROSTATIC MOTOR (06) - POWER TRAIN

Схема запчастей Case 850K - (06-12) - HYDROSTATIC MOTOR (06) - POWER TRAIN
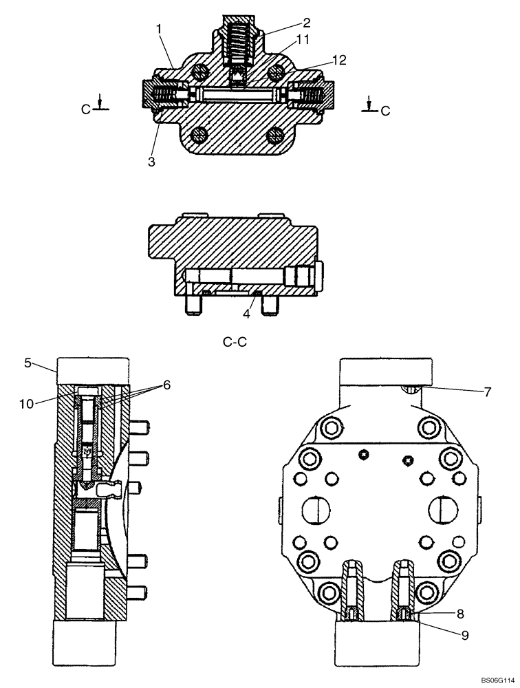
3
8
5
2
1
12
7
4
11
9
10
6
FIT
1:1
100%

Артикул

Название

Примечание

Количество

401629A2

HYDROSTATIC MOTOR,80CC

Incl. 1 - 11, Also Incl. Parts On Figure 06-11

2шт.

401629A2R

REMAN-HYDROSTAT MOTO

Reman For New PN 401629A2

2шт.

401629A2C

CORE-HYDROSTAT MOTOR

Return Number

2шт.

1

87441434

VALVE

Flush And Boost Without Orifice

1шт.

2

87441440

SEAL

1шт.

3

87441439

SEAL

2шт.

4

87441437

SEAL

1шт.

5

87441444

VALVE

Flush and Boost Pressure,No Longer Available; Order Ref 1, Ref 11 and Ref 12

1шт.

6

87441447

RING

Square

3шт.

7

238-8011

O-RING,0.07" Thk x 0.301" ID, -11, Cl 8, 90 Duro

6шт.

8

87441438

SEAL

2шт.

9

87441445

SEAL

2шт.

10

864-12025

HEX SOC SCREW,M12 x 25mm, Cl 8.8

Not Illustrated

1шт.

11

87528595

ORIFICE

Flushing

1шт.

12

87528596

ORIFICE RING

Retaining

1шт.

Выбрано товаров: 15