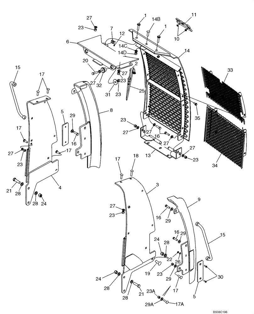
Запчасти Case 850K (09-13) - GUARD, RADIATOR BRUSH SCREEN - GRILLE, HOOD (09) - CHASSIS/ATTACHMENTS

Схема запчастей Case 850K - (09-13) - GUARD, RADIATOR BRUSH SCREEN - GRILLE, HOOD (09) - CHASSIS/ATTACHMENTS
17
12
29a
27
27
28
24
27
7
27
27
23
15
28
31
5
14b
23a
19
16
21
17
5
3
30
17
29
27
28
16
17a
1
15
27
9
10
29
17
20
23
1
8
16
23
28
14d
24
27
24
11
23
23
16
35
25
28
18
13
23
17
29
14c
4
23
27
34
32
23
21
22
2
14
26
33
6
29
FIT
1:1
100%

Артикул

Название

Примечание

Количество

1

844-12050

BOLT,Hex, M12 x 50mm, Cl 8.8

Replaces 86981678 M12 x 50; 10.9 DOR Flange Bolt Used On Some Models

2шт.

2

87419250

CONNECTING LINK

5/16 in

1шт.

3

87350000

COVER PLATE

Right-Hand; Replaces 87446353

1шт.

4

87350001

COVER PLATE

Left-Hand; Replaces 87446358

1шт.

5

87446366

WEAR PAD

2шт.

6

87446375

COVER PLATE

1шт.

7

87447306

SQUARE NUT,M12 x 21mm x 21mm x 11mm H ZND Cl 5A

Cage; M12 x 1.75

2шт.

8

87455720

FRAME

Grille; Left-Hand

1шт.

9

87455722

FRAME

Grille; Right-Hand

1шт.

10

131-431

PUSH-ON NUT,Self, Threading, 1/4"

2шт.

11

186989A1

EMBLEM

Emblem, Case Logo

1шт.

12

336371A1

PIN,4.88mm OD x 14.23mm L

Nut Retainer

2шт.

13

428632A2

HINGE

1шт.

87318858

RADIATOR GRILLE

674 mm (26-17/32 in) Wide; Incl. Ref 14 - 14D; Replaces 429226A1 694.8 mm (27-3/8 in) Wide Grille

1шт.

14

87318857

RADIATOR GRILLE

1шт.

14a

450671A1

BAR

Grill Top

1шт.

14b

811-12040

CARRIAGE BOLT,Sht Sq Nk, M12 x 1.75 x 40mm, Cl 8.8

If Used

1шт.

14c

896-11012

WASHER,13.5mm ID x 24mm OD x 3mm Thk

If Used

1шт.

14d

832-10412

NUT,M12 x 1.75, Cl 8

If Used

1шт.

15

450443A1

HANDLE

2шт.

16

627-12040

BOLT,Hex, M12 x 1.75 x 40mm, Cl 10.9, Full Thd

If Used

8шт.

17

811-12040

CARRIAGE BOLT,Sht Sq Nk, M12 x 1.75 x 40mm, Cl 8.8

7-9шт.

17a

811-12030

CARRIAGE BOLT,Sht Sq Nk, M12 x 1.75 x 30mm, Cl 8.8

Replaces (2) 811-12040 M12 x 40 Bolts Used In This Location On Some Models

2шт.

18

811-12050

CARRIAGE BOLT,Sht Sq Nk, M12 x 1.75 x 50mm, Cl 8.8

1шт.

19

811-16050

CARRIAGE BOLT,Sht Sq Nk, M16 x 2 x 50mm, Cl 8.8

If used

2шт.

20

827-12050

BOLT,Hex, M12 x 1.75 x 50mm, Cl 10.9

2шт.

21

827-16060

BOLT,Hex, M16 x 2 x 60mm, Cl 10.9

4шт.

22

829-1408

NUT,Hex, M8 x 1.25, Cl 10.9

4шт.

23

832-10412

NUT,M12 x 1.75, Cl 8

8-10шт.

23a

829-4412

NUT,Thin, M12 x 1.75, Cl 5

Replaces (2) 832-10412 M12 Nuts Used In This Location On Some Models

2шт.

24

832-10416

NUT,M16 x 2, Cl 8

6шт.

25

87419297

CABLE

1шт.

26

895-15008

WASHER,9mm ID x 20mm OD x 1.6mm Thk

Replaces 895-11008, 9 x 16 x 1.6 mm, Used on some models

4шт.

27

896-11012

WASHER,13.5mm ID x 24mm OD x 3mm Thk

14шт.

28

896-11016

WASHER,17.5mm ID x 30mm OD x 4mm Thk

If used

10шт.

29

896-15012

WASHER,13.5mm ID x 28mm OD x 4mm Thk

If Used

4-6шт.

29a

495-11053

WASHER,1/2", SAE

Replaces (2) 896-15012 washers used in this location on some models

2шт.

30

906035R1

HEX SOC SCREW,Flat Hd, CSK, M8 x 25mm, Cl 10.9

No Longer Available, Order 14442231

4шт.

30

14442231

SCREW,Flat Csk Hd, M8 x 1.25 x 30mm, Cl 10.9

Hex Soc Flat, M8 x 30, 10.9

4шт.

31

R40262

WASHER,13.11mm ID x 47.75mm OD x 2.38mm Thk

2шт.

32

R29799

SHOCK ABSORBER

2шт.

REF

INSTRUCTION

RADIATOR BRUSH SCREEN

1шт.

33

447823A1

SCREEN

Radiator Brush Screen; Upper; If Used

1шт.

34

447824A1

SCREEN

Radiator Brush Screen; Lower; If Used

1шт.

35

854-10025

BOLT,Hvy Hex, M10 x 25mm, Cl 10.9

If Used

8шт.

Выбрано товаров: 45