Запчасти Case 850K (05-05) - TRACK ADJUSTER (11) - TRACKS/STEERING

Схема запчастей Case 850K - (05-05) - TRACK ADJUSTER (11) - TRACKS/STEERING
3
10
12
8
1
6
7
11
9
4
2
FIT
1:1
100%

Артикул

Название

Примечание

Количество

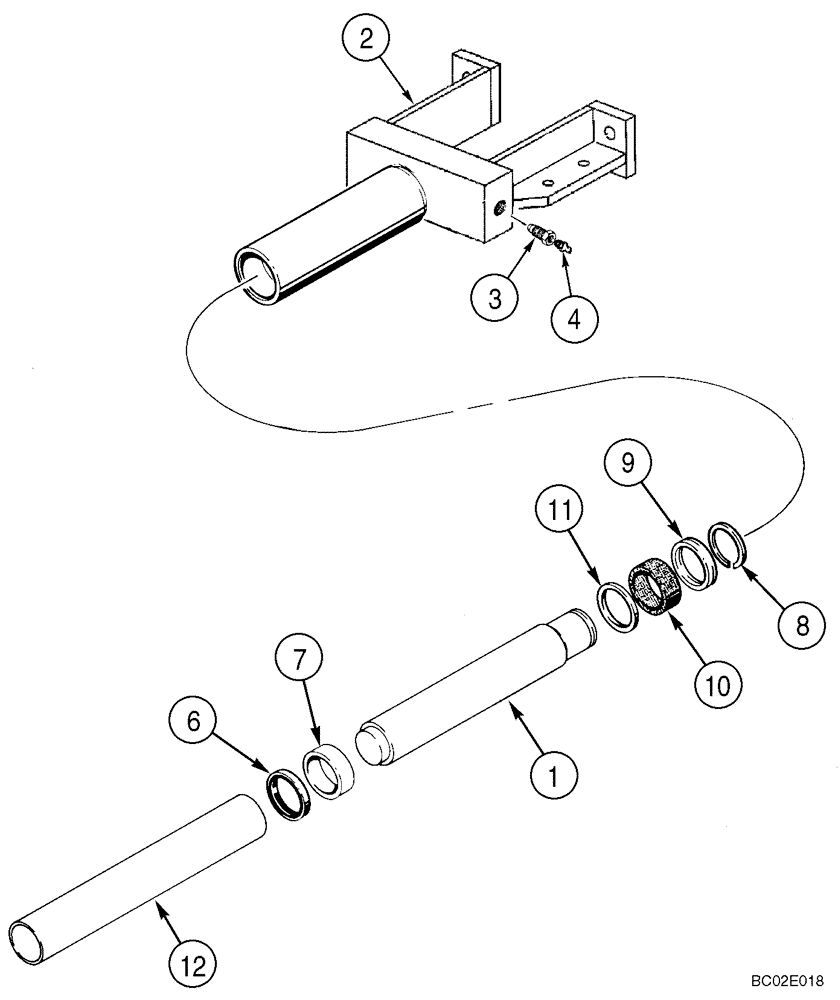
435383A1

YOKE

Adjuster; Right-Hand; Incl. Ref 1, 2, 3 - 11

1шт.

435384A1

YOKE

Adjuster; Left-Hand; Incl. Ref 1, 2A, 3 - 11

1шт.

1

345091A1

PISTON

1шт.

2

435378A1

YOKE

Right-Hand

1шт.

2a

435379A1

YOKE

Left-Hand; Not Illustrated

1шт.

3

D35287

CHECK VALVE,5/8" - 18

Check

1шт.

4

219-1

LUBE NIPPLE,1/8" - 27 NPTF

1шт.

6

D95149

PACKING RING,60.24mm ID x 73.05mm OD x 7.92mm Thk

1шт.

7

D30374

RING,60.43mm ID x 73.15mm OD x 25.4mm L

Wear

1шт.

8

101-11212

SNAP RING,#212, 1.997", Ext

1шт.

9

R25706

SEAL,53.9mm ID x 66.75mm OD x 10.69mm Thk

1шт.

10

R25663

BUSHING,53.98mm ID x 66.62mm OD x 25.4mm L

1шт.

11

R30202

RING,54.101mm ID x 65.1mm OD x 5.08mm Thk

Backup

1шт.

12

436240A1

SPACER

Not Included In Assembly, Purchase Separately

2шт.

Выбрано товаров: 14