Запчасти Case 850L (08-02A) - PUMP ASSY, HYDRAULIC - MODELS WITH PTO (08) - HYDRAULICS

Схема запчастей Case 850L - (08-02A) - PUMP ASSY, HYDRAULIC - MODELS WITH PTO (08) - HYDRAULICS
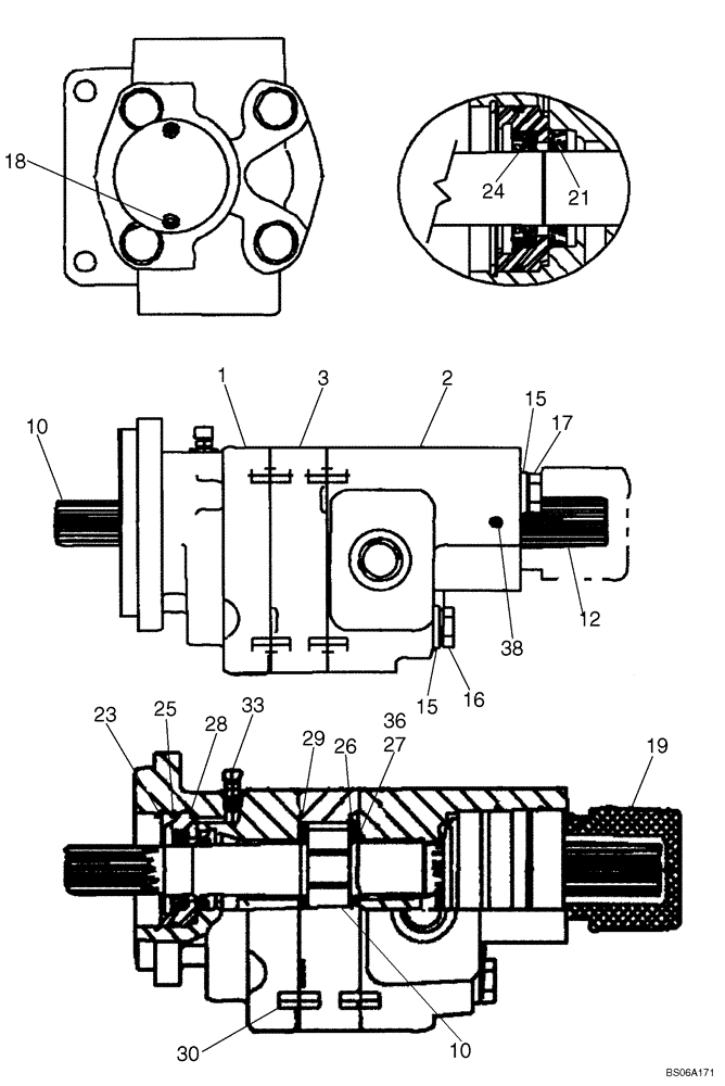
18
26
15
1
10
36
17
15
16
28
2
23
21
24
29
33
27
12
3
19
30
10
25
38
FIT
1:1
100%

Артикул

Название

Примечание

Количество

426958A2

HYDRAULIC PUMP,9.01 CC

Incl. 1 - 40

1шт.

426958A2R

REMAN-HYD PUMP

850L TIER 3 (1/08-)

1шт.

426958A2C

CORE-HYDRAULIC PUMP

Return Number

1шт.

1

NSS

NOT SOLD SEPARAT

Housing

1шт.

2

NSS

NOT SOLD SEPARAT

Housing

1шт.

3

NSS

NOT SOLD SEPARAT

Housing, Gear

1шт.

10

NSS

NOT SOLD SEPARAT

Gear Shaft

1шт.

12

NSS

NOT SOLD SEPARAT

Bearing Shaft Assy

1шт.

15

NSS

NOT SOLD SEPARAT

Washer

4шт.

16

NSS

NOT SOLD SEPARAT

Capscrew

2шт.

17

NSS

NOT SOLD SEPARAT

Capscrew

2шт.

87392109

HYD PUMP REPAIR KIT

KIT, Shaft Cover, Incl. 18, 19

1шт.

18

NSS

NOT SOLD SEPARAT

Capscrew, Socket Head

2шт.

19

NSS

NOT SOLD SEPARAT

Cap, Shaft

1шт.

21

87392106

SEAL

Seal, Inner Front Shaft

1шт.

23

NSS

NOT SOLD SEPARAT

Snap Ring, Seal Retainer

1шт.

24

87392105

SEAL

Outer Front Shaft

1шт.

25

87392169

O-RING

Outer Front Shaft Seal Retainer

1шт.

26

NSS

NOT SOLD SEPARAT

Thrust Plate, Boxed

2шт.

27

NSS

NOT SOLD SEPARAT

Channel Seal, Thrust Plate

1шт.

28

NSS

NOT SOLD SEPARAT

Retainer, Outer Front Shaft Seal

1шт.

29

NSS

NOT SOLD SEPARAT

Square-Section Seal, Gear Housing

1шт.

30

NSS

NOT SOLD SEPARAT

Pin

4шт.

33

NSS

NOT SOLD SEPARAT

Air Vent

1шт.

36

NSS

NOT SOLD SEPARAT

Back-Up Seal, Thrust Plate

2шт.

38

NSS

NOT SOLD SEPARAT

Set Screw, Rear Shaft Seal Retainer

2шт.

39

87392104

SEAL

Rear Shaft, Not Illustrated

1шт.

40

87392167

O-RING

Rear Shaft Seal Retainer, Not Illustrated

1шт.

87392107

HYD PUMP REPAIR KIT

Incl. 15 - 17, 21 23 - 29, 36, 38 - 40

1шт.

Выбрано товаров: 29