Качественные детали и логистика
Оригинальные и аналоговые запчасти с доставкой по России, Казахстану и Беларуси
©2022 PartSell ООО "Система" ИНН 2463123282 ОГРН 1212400004838
Центральный офис: г. Красноярск, Академика Киренского, д.87, пом.4
Телефон: 8 (800) 777-65-74 Email: zakaz@partsell.ru
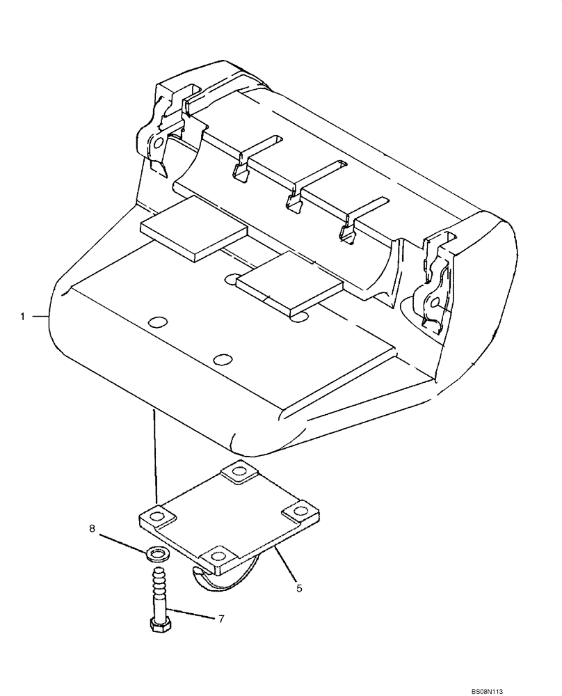
(09-06) - COUNTERWEIGHT, FRONT - HOOK, TOWING
№
Артикул
Название
Примечание
Количество
1
87617122
COUNTERWEIGHT
Counterweight; Front; If Equipped
1шт.
5
450473A1
HOOK
Towing
7
827-20120
BOLT,Hex, M20 x 2.5 x 120mm, Cl 10.9
4шт.
8
896-11020
WASHER,22mm ID x 37mm OD x 4mm Thk
Выбрано товаров: 0