Запчасти Case 850M WT (48.134.010) - UNDERCARRIAGE (48) - TRACKS & TRACK SUSPENSION

Схема запчастей Case 850M WT - (48.134.010) - UNDERCARRIAGE (48) - TRACKS & TRACK SUSPENSION
5
7
6
4
7
6
7
10
5
6
3
1
4
48.134.020
7
8
2
5
6
5
5
9
5
2
7
5
5
5
9
7
1
3
48.134.030
5
FIT
1:1
100%

Артикул

Название

Примечание

Количество

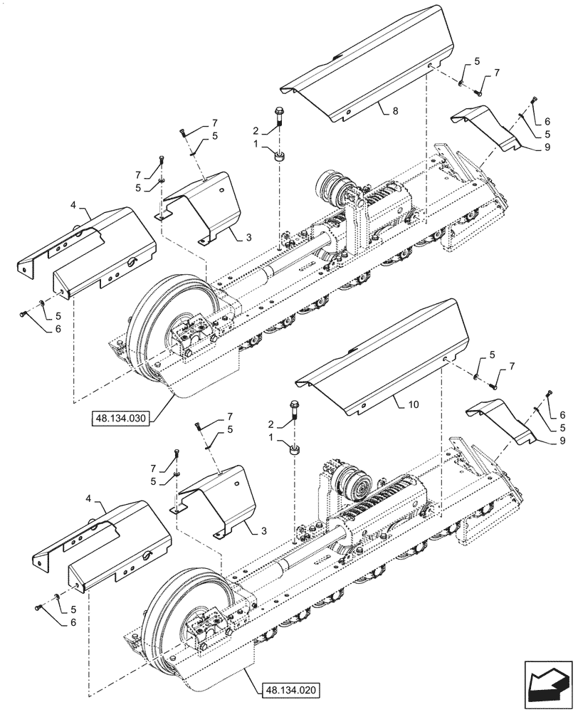
1

48023598

SPACER,22mm ID x 44mm OD x 25mm H

20шт.

2

84415414

BOLT,M20 x 98.9mm OAL, Full Thd, Cl 10.9

20шт.

3

47777767

COVER

Front

2шт.

4

47778019

COVER

Idler

2шт.

5

86625256

WASHER,13.3mm ID x 28.5mm OD x 4mm Thk

36шт.

6

300388

BOLT,Hex, M12 x 1.75 x 25mm, Cl 8.8

12шт.

7

9706687

BOLT,M12 x 1.75 x 30mm, Cl 8.8

24шт.

8

47778049

ACCESS COVER

LH, Center

1шт.

9

47778032

COVER

Rear

2шт.

10

47779047

COVER

RH, Center

1шт.

Выбрано товаров: 10