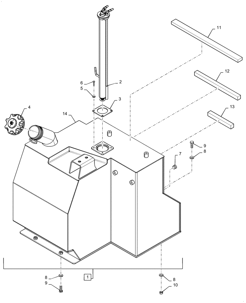
Запчасти Case 850M WT/LGP (10.216.AL[04]) - VAR - 784606, FUEL TANK, FIRE PLOW READY BSN NFDC20133 (10) - ENGINE

Схема запчастей Case 850M WT/LGP - (10.216.AL[04]) - VAR - 784606, FUEL TANK, FIRE PLOW READY BSN NFDC20133 (10) - ENGINE
11
7
8
10
8
2
1
5
13
9
6
9
12
14
3
8
4
FIT
1:1
100%

Артикул

Название

Примечание

Количество

1

47839538

FUEL TANK

Assembly, Fire Plow Ready, Incl 2 - 7, 14 , Start Serial: NFC103001

1шт.

2

47439870

SENDER UNIT

Fuel Level

1шт.

3

84415880

RING,64mm OD, 90mm x 90mm L

1шт.

4

84293447

CAP,128.7mm D

1шт.

5

87655042

SPECIAL WASHER,8.8mm ID x 17.5mm OD x 2.2mm Thk

4шт.

6

10902724

SCREW,Hex, M6 x 28mm, Cl 8.8, Full Thd

4шт.

7

217-465

DRAIN PLUG,Hex Soc, 1/2" - 14, NPTF

1шт.

8

87655043

WASHER,M12, 13.65mm ID x 24.90mm OD x 3.20mm, HT Boron, ZNM

6шт.

9

9824642

BOLT,M12 x 1.75 x 42.68mm, Cl 10.9

4шт.

10

829-1412

NUT,M12, Cl 10.9

2шт.

11

47662553

SEAL,38mm W x 577mm L x 18mm Thk

1шт.

12

47662554

SEALING STRIP,25mm W x 375mm L x 25mm Thk

1шт.

13

47662555

SEAL,25mm W x 200mm L x 25mm Thk

1шт.

14

NSS

NOT SOLD SEPARAT

Fuel Tank, Incl in 1

1шт.

Выбрано товаров: 14