Запчасти Case 855D (9-026) - SEAT AND TANK FRAME (09) - CHASSIS/ATTACHMENTS

Схема запчастей Case 855D - (9-026) - SEAT AND TANK FRAME (09) - CHASSIS/ATTACHMENTS
16
1
11
9
6
7
8
12
10
15
13
17
10
2
14
7
13
5
4
3
6
6
FIT
1:1
100%

Артикул

Название

Примечание

Количество

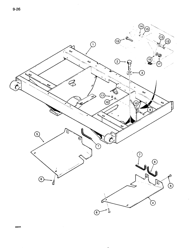
1

R48740

FRAME

SPARE PART seat and tank

1шт.

2

26-1640

BOLT,Hex, 1" - 8 x 2-1/2", Gr 8

hex head, 1" - 8 NC x 2-1/2", grade 8, use with Loctite 242 (blue)

4шт.

3

D30196

WASHER

flat, 1", hardened

4шт.

4

R34600

COVER

hydraulic lines, right-hand

1шт.

5

R34554

GUARD

hydraulic lines, left-hand

1шт.

6

121-429

FLANGE BOLT,Hex, 1/2" - 13 x 1 1/4", Gr 8, Full Thd

8шт.

7

REF

INSTRUCTION

TRIM - edge, 7" (178 mm) long, used on loader models, cut from F42827 bulk, see below

2шт.

8

REF

INSTRUCTION

TRIM - edge, 5" (127 mm) long, used on loader models, cut from F42827 bulk, see below

1шт.

9

113-604

BOLT,Hex, 5/8" - 11 x 2", Gr 5

Main frame mounting, models with a winch or backhoe

6шт.

10

T53567

BEARING WASHER,16.66mm ID x 33.33mm OD x 3.43mm Thk

flat, 5/8", hardened, main frame mounting, models with a winch or backhoe

12шт.

11

129-107

NUT,5/8"-11, G5

Main frame mounting, models with a winch or backhoe

6шт.

12

113-604

BOLT,Hex, 5/8" - 11 x 2", Gr 5

Upper hole, main frame mounting, models without a winch or backhoe

2шт.

13

T53567

BEARING WASHER,16.66mm ID x 33.33mm OD x 3.43mm Thk

flat, 5/8", hardened, upper hole, main frame mounting, models without a winch or backhoe

4шт.

14

129-107

NUT,5/8"-11, G5

Upper hole, main frame mounting, models without a winch or backhoe

2шт.

15

D30593

BOLT

special, lower two holes, main frame mounting, models without a winch or backhoe

4шт.

16

A57033

WASHER

hardened, special, lower two holes, main frame mounting, models without a winch or backhoe

4шт.

17

129-109

NUT,7/8"-9, G5

Lower two holes, main frame mounting, models without a winch or backhoe

4шт.

F42827

TRIM,2946.4mm L

edge, 116" (2946 mm) long, main frame mounting, models without a winch or backhoe

1шт.

Выбрано товаров: 18